申請日2014.11.07
公開(公告)日2015.03.04
IPC分類號C02F1/52
摘要
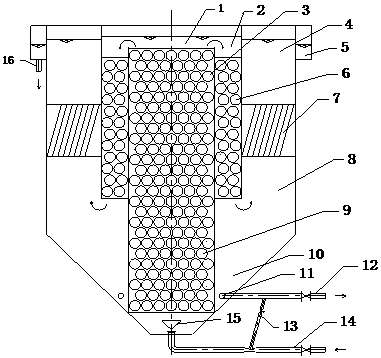
一種微渦流強化混凝分散式污水處理裝置,涉及一種微渦流強化混凝技術用于分散式污水處理的裝置。原水與混凝劑及回流污泥一起由澄清池底部的進水管流入,經配水分配器(15)后進入第一渦流反應室(1)和第二渦流反應室(2),在第一反應室內設置有開孔率不同的兩種型號的渦流絮凝反應器(3、9),第二渦流反應室內設置有微渦流-網格絮凝反應器(6);在沉淀單元設有蜂窩斜管沉淀區(7);在池底部設有污泥濃縮單元(10)。本實用新型用于分散式污水處理工藝中,不僅可以有效地提高絮凝反應的效率和效果、縮短絮凝時間、減少水頭損失、降低能耗、提高凈水水質,且結構合理緊湊、安裝施工方便的特點。本實用新型適宜于分散式污水處理中應用。
權利要求書
1.一種微渦流強化混凝分散式污水處理裝置,其特征在于,所述裝置包括筒體、渦流強化絮凝單元、斜管澄清單元和污泥濃縮單元,所述筒體是一個上部為圓筒形、下部為圓錐形的立式筒形結構,渦流強化絮凝單元設置在筒體的中軸部位,從頂部直至下部圓錐面;斜管澄清單元設置在筒體內壁與渦流強化絮凝單元之間的環形區域;污泥濃縮單元設置在筒體內圓錐區域。
2.根據權利要求1所述的一種微渦流強化混凝分散式污水處理裝置,其特征在于,所述渦流強化絮凝單元包括第一渦流反應室、第二渦流反應室、微渦流-網格絮凝反應器、HJTM1型渦流反應器和HJTM2型渦流反應器;所述第一渦流反應室為一圓筒狀結構,位于筒體中軸位置,高度從頂部直至下部圓錐面;所述第二渦流反應室是與第一渦流反應室同軸,環繞第一渦流反應室外圍上部的環圓筒狀結構,所述第二渦流反應室的高度為第一渦流反應室高度的1/2~2/3;
在所述第一渦流反應室的上部安放多個HJTM2型渦流反應器,下部安放多個HJTM1型渦流反應器;所述第二渦流反應室內設有多個微渦流-網格絮凝反應器。
3.根據權利要求1所述的一種微渦流強化混凝分散式污水處理裝置,其特征在于,所述斜管澄清單元包括蜂窩斜管沉淀區、斜管澄清分離室和蜂窩斜管;蜂窩斜管沉淀區設置在第二渦流反應室外壁中部與筒體內壁之間的區域,蜂窩斜管沉淀區下面設有緩沖區,上面設有清水區;蜂窩斜管安裝在斜管澄清分離室內;第二渦流反應室與斜管澄清分離室連通。
4.根據權利要求1所述的一種微渦流強化混凝分散式污水處理裝置,其特征在于,所述污泥濃縮單元設置在斜管澄清分離室和第二渦流反應室的底部,所述污泥濃縮單元包括污泥濃縮區、環形穿孔排泥管和污泥排放管;所述污泥濃縮區底面設置了環形穿孔排泥管,環形穿孔排泥管一端與污泥排放管連通。
5.根據權利要求1所述的一種微渦流強化混凝分散式污水處理裝置,其特征在于,所述筒體頂部外緣設置了與筒體頂面等高的環形出水槽。
6.根據權利要求2所述的一種微渦流強化混凝分散式污水處理裝置,其特征在于,所述進水管上設有管道混合器,進水管和污泥排放管由污泥回流系統連通,污泥回流系統由水射器組成;混凝劑經過加藥泵進入管道混合器后與原水混合,利用水射器從污泥排放管吸入部分活性污泥后與原污水一起進入強化絮凝反應階段。
7.根據權利要求2所述的一種微渦流強化混凝分散式污水處理裝置,其特征在于,所述HJTM1型渦流反應器為中空球體,球面開有孔徑為25mm的孔洞,開孔率約為50%,球徑為200mm。
8.根據權利要求2所述的一種微渦流強化混凝分散式污水處理裝置,其特征在于,所述HJTM2型渦流反應器為中空球體,球面開有孔徑為35mm的孔洞,開孔率約為65%,球徑為200mm。
9.根據權利要求2所述的一種微渦流強化混凝分散式污水處理裝置,其特征在于,所述微渦流-網格絮凝反應器(6)是由具有一定粗糙度的實心繩狀弧邊及實心園環組成的空心球體,開孔率為55%~75%。
10.根據權利要求3所述的一種微渦流強化混凝分散式污水處理裝置,其特征在于,所述蜂窩斜管沉淀區內設置的蜂窩斜管,蜂窩斜管斜長為800~1000mm,蜂窩斜管與水平面之間的安裝角度為60°。
說明書
一種微渦流強化混凝分散式污水處理裝置
技術領域
本實用新型涉及一種微渦流強化混凝分散式污水處理裝置,屬水處理技術領域。
背景技術
隨著我國城市污水處理日益推廣,污水處理廠的規模也越來越大,這些污水處理廠的出現,在當時的情況下,進行污水的集中處理具有運行費用低、管理維護方便的優點,但對于居住比較分散的中小城市(鎮)、廣大農村及偏遠地區,進行大規模污水集中處理時必然要進行相應的管道系統的建設,且長距離的輸送存在能量損失和滲漏問題,這樣投資巨大、運行維護費用非常昂貴。受到這些地理條件和經濟因素制約,因此不宜進行生活污水的集中處理,此時應因地制宜地選擇和發展生活污水分散式和就地處理技術,降低污染物濃度,減少污染物排放量。結合我國水處理發展的趨勢及當前經濟情況,分散式污水處理系統是集中式污水處理模式的有效補充,在未來逐步地取代集中式系統,是一種新型的、經濟環保的污水處理系統。構建中心城區以集中處理外排為主、郊區以分散處理排放為主的方式,將成為我國提高污水處理率甚至河流綜合治理效率的發展趨勢。
污水的分散處理技術已經成為國內外生活污水處理的一種新理念,將是污水處理的一個研究方向。國外研制的新型澄清技術,因其是專利產品,設備、材料價格相對較貴,透支很高,很難在國內大面積推廣。國內開發渦流澄清池通常也包括絮凝反應單元、澄清單元和污泥濃縮單元,但其絮凝反應單元通常缺少輔助絮凝的針對不同進水水質而設計的微渦流-網格絮凝反應器。為了改善澄清池的性能,使其應用于處理農村生活污水或高速公路服務區污水等分散式污水,有效的提高混凝效果,節省投資和降低制水成本,有必要研制一種以微渦流強化混凝技術為核心的分散式污水處理裝置。
發明內容
針對一些中心城區污水進行集中處理,而郊區及農村生活污水或高速公路服務區的污水等集中處理投資大、運行費用高且不維護不便等不足,本實用新型的目的是提供一種以微渦流強化混凝技術為核心的分散式污水處理裝置,該裝置不僅能提高絮凝工藝的反應效率、有效降低污染物濃度,減少污染物排放量,節省整體工程投資,易于自動控制,運行穩定及維護方便。
本實用新型解決其技術問題所采用的技術方案是:
本實用新型一種微渦流強化混凝分散式污水處理裝置包括筒體、渦流強化絮凝單元、斜管澄清單元和污泥濃縮單元,所述筒體是一個上部為圓筒形、下部為圓錐形的立式筒形結構,渦流強化絮凝單元設置在筒體的中軸部位,從頂部直至下部圓錐面;斜管澄清單元設置在筒體內壁與渦流強化絮凝單元之間的環形區域;污泥濃縮單元設置在筒體內圓錐區域。
所述渦流強化絮凝單元包括第一渦流反應室、第二渦流反應室、微渦流-網格絮凝反應器、HJTM1型渦流反應器和HJTM2型渦流反應器;所述第一渦流反應室為一圓筒狀結構,位于筒體中軸位置,高度從頂部直至下部圓錐面;所述第二渦流反應室是與第一渦流反應室同軸,環繞第一渦流反應室外圍上部的環圓筒狀結構,所述第二渦流反應室的高度為第一渦流反應室高度的1/2~2/3;渦流強化絮凝單元最低端中央處設進水管;第二渦流反應室外圍設有斜管澄清分離室;第二渦流反應室與斜管澄清分離室連通;斜管澄清分離室內設有蜂窩斜管,蜂窩斜管沉淀區下面設有緩沖區,上面設有清水區;清水區與環形出水槽相通,環形出水槽與出水管相連,斜管澄清分離室和第二渦流反應室底部共同設有污泥濃縮單元;污泥濃縮單元底面設一環形穿孔排泥管,環形穿孔排泥管一端的外面處連通一帶法蘭座的污泥排放管。
微渦流強化混凝分散式污水處理裝置,其中:進水管上設有管道混合器,進水管和污泥排放管由污泥回流系統連通,污泥回流系統主要由水射器組成。混凝劑經過加藥泵進入管道混合器后與原水混合,利用水射器從污泥排放管吸入部分活性污泥后與原污水一起進入強化絮凝反應階段,強化絮凝反應,提高絮凝效果。
微渦流強化混凝分散式污水處理裝置,其中:第一渦流反應室內中下部安放HJTM1型渦流反應器,上部安放HJTM2型渦流反應器,安放的兩種渦流反應器均為中空球體,球面開有孔徑分別為25mm、35mm的孔洞,開孔率約為50%、65%,球徑為200mm;第二渦流反應室內安放微渦流-網格絮凝反應器,微渦流-網格絮凝反應器是由具有一定粗糙度的實心繩狀弧邊及實心園環組成的空心球體,開孔率為70%~75%;球徑為200mm。
微渦流強化混凝分散式污水處理裝置,其中:蜂窩斜管沉淀區內設置蜂窩斜管,斜管斜長為800~1000mm,斜管與水平面之間的安裝角度為60°。
本實用新型的微渦流強化混凝分散式污水處理裝置的工藝流程如下:
原水與加藥泵打入的混凝劑一同進入管道混合器混合,混合后的水再與污泥回流系統吸入的部分回流污泥一起由澄清池底部的進水管流入,經配水分配器完成配水后再向上流入第一渦流反應室,經過過渡區后流入第二渦流反應室,從第二渦流反應室底部流出的水由緩沖區進入蜂窩斜管區,向上流入清水區,再進入環形出水槽,最后流出池外。水流經過第一渦流反應室內兩種型號的渦流反應器和第二渦流反應室內的微渦流-網格絮凝反應器后完成強化絮凝反應過程,然后水流再從第二渦流反應室底部流出至斜管澄清分離室,強化絮凝工序形成的絮凝體由于重力作用和斜管沉淀作用下沉至污泥濃縮區完成斜管澄清工序,固液分離后的水經清水區向上溢流進入環形出水槽,最后流出池外。
本實用新型在渦流強化絮凝單元設置在澄清池的中部,由第一渦流反應室和第二渦流反應室組成,按照速度梯度在第一渦流反應室內由下到上設置了開孔率不同的兩種型號的渦流反應器,在第二渦流反應室內設置了微渦流-網格絮凝反應器,改善各個反應室內的水力條件。加入混凝劑的水流通過渦流反應器形成微小的渦旋流動,促進水中微粒的脫穩和擴散,充分利用流體能量增加脫穩膠粒的碰撞機率,強化絮凝反應,使形成高密度、高強度的絮體,提高絮凝反應效率,降低絮凝時間和反應室容積。
本實用新型的澄清池進水管上設置有污泥回流系統,污泥回流系統主要由水射器組成。污泥回流采用水力回流方式,污泥回流量通過水射器形成的真空度以及污泥回流管上的閥門開啟度控制。污泥回流增大了絮體污泥濃度,有利于強化混凝反應。
本實用新型的第二渦流反應室和斜管澄清單元的下部設置有共同的污泥濃縮單元,采用污泥濃縮單元與渦流絮凝反應器的組合技術,有效地完成污泥濃縮,排放的污泥濃度高,一體化污泥濃縮避免了后續的濃縮工藝,減少后續污泥處理設施的壓力,降低了污泥處理費用。
因此,本實用新型結構合理緊湊,安裝施工方便,絮凝效果好、出水水質好,運行成本低,是一種理想的新型微渦流強化混凝分散式污水處理裝置。
與現有技術相比,本實用新型的有益效果是:本實用新型的微渦流強化混凝分散式污水處理裝置將絮凝、沉淀工藝優化組合,絮凝工藝根據速度梯度選用了開孔率不同的兩種型號的渦流反應器和微渦流-網格絮凝反應器組合,強化了絮凝反應,沉淀工藝根據不同水質情況設置不同長度的蜂窩斜管,強化了-顆粒物的沉淀,使得絮凝和凈化的效果好、效率高。







