申請日2013.08.28
公開(公告)日2014.06.04
IPC分類號C02F9/02
摘要
本實用新型涉及一種小型排污水處理構筑物。本實用新型的目的是提供一種結構簡單、建造方便、建造成本低、維護方便的小型排污水處理構筑物。本實用新型的技術方案是:一種小型排污水處理構筑物,其特征在于:具有構筑物本體,本體內由分隔墻分隔出一個調節池和兩個污水池,所述污水池上方設有配水管,配水管連通裝有進水閥的進水管,污水池內過濾層從下到上設有3層,依次為:濾網架、煤渣層和濾磚層,污水池底部經連通管與所述調節池連通。本實用新型適用于水利水電工程或較偏遠地區的小型給水處理設備或中水處理設備排污水的處理,尤其適用于處理小型給水處理設備或中水處理設備的沉淀池排污水和過濾器排污水。
權利要求書
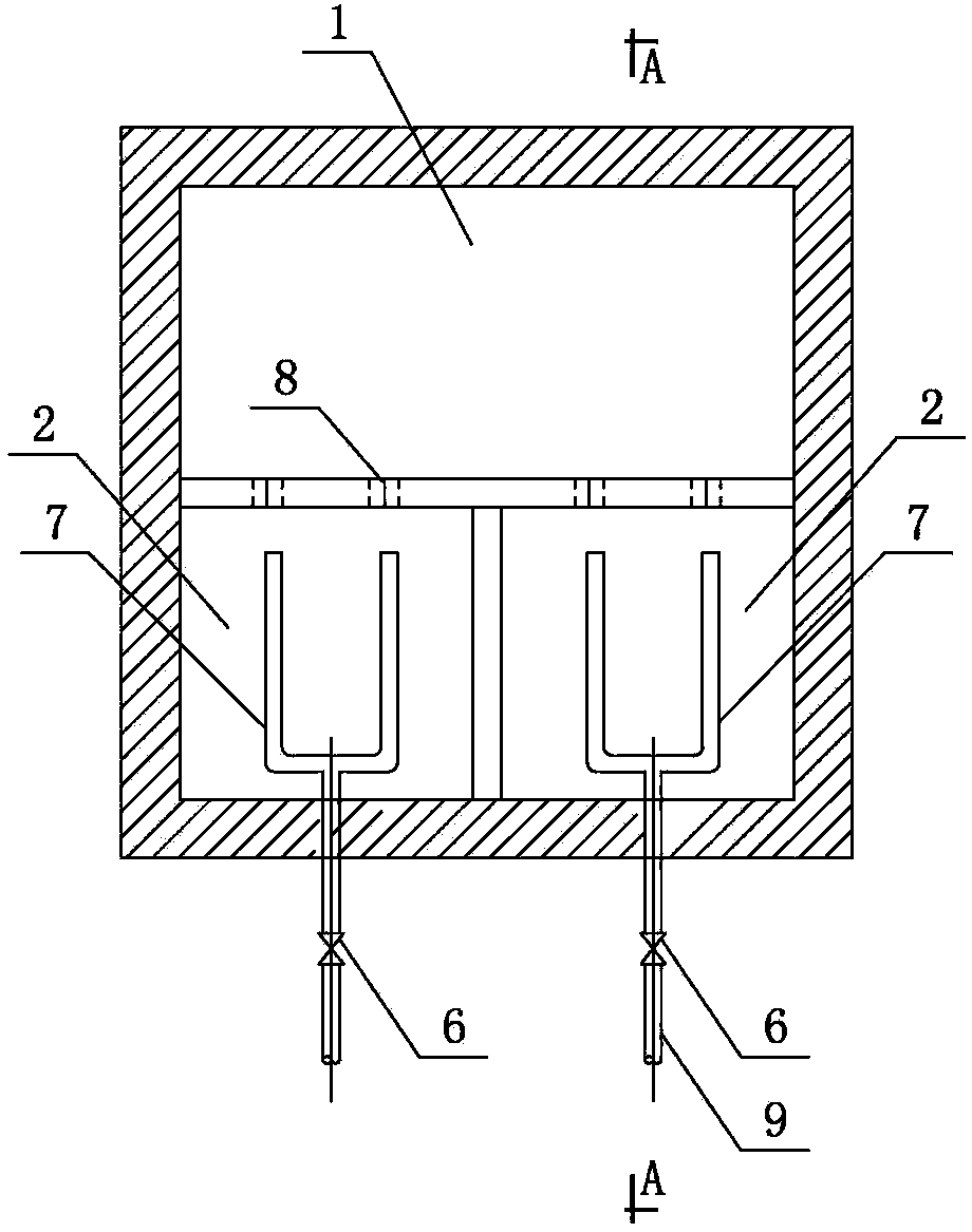
1.一種小型排污水處理構筑物,其特征在于:具有構筑物本體,本體內由分隔墻分隔出一個調節池(1)和兩個污水池(2),所述污水池(2)上方設有配水管(7),配水管(7)連通裝有進水閥(6)的進水管(9),污水池(2)內過濾層從下到上設有3層,依次為:濾網架(5)、煤渣層(4)和濾磚層(3),污水池(2)底部經連通管(8)與所述調節池(1)連通。
2.根據權利要求1所述的小型排污水處理構筑物,其特征在于:所述配水管(7)為U型管,管體上均布開孔。
3.根據權利要求1所述的小型排污水處理構筑物,其特征在于:所述構筑物本體采用鋼筋混凝土結構或鋼結構。
說明書
小型排污水處理構筑物
技術領域
本實用新型涉及一種小型排污水處理構筑物。適用于水利水電工程或較偏遠地區的小型給水處理設備或中水處理設備排污水的處理,尤其適用于處理小型給水處理設備或中水處理設備的沉淀池排污水和過濾器排污水。
背景技術
在水利水電工程或較偏遠地區中、常會用到小型給水處理設備或中水處理設備,在按照有關規范要求做好水處理以后,經過水處理設備處理以后產生的排污水如何處理,是一個較難解決的問題,通常做法是直接排到附近某個溪溝了事,但是,這樣做可能會造成新的污染(二次污染)。隨著國家和國際社會對環保的日益重視,國家對污水排放的要求日漸提高,控制越來越嚴格,有必要對這部分排污水進行處理然后排放或者回收處理直到達標。
發明內容
本實用新型要解決的技術問題是: 針對上述存在的問題,提供一種結構簡單、建造方便、建造成本低、維護方便的小型排污水處理構筑物,以較好地解決了小型給水或中水處理設備排污水的二次排放污染問題。
本實用新型所采用的技術方案是:一種小型排污水處理構筑物,其特征在于:具有構筑物本體,本體內由分隔墻分隔出一個調節池和兩個污水池,所述污水池上方設有配水管,配水管連通裝有進水閥的進水管,污水池內過濾層從下到上設有3層,依次為:濾網架、煤渣層和濾磚層,污水池底部經連通管與所述調節池連通。
所述配水管為U型管,管體上均布開孔。
所述構筑物本體采用鋼筋混凝土結構或鋼結構。
本實用新型的有益效果是:本實用新型的小型排污水處理構筑物用于處理給水或中水處理設備運行中產生的排污水處理,較好地解決了小型給水或中水處理設備排污水的排放問題,避免了二次污染。







