公布日:2023.10.13
申請日:2023.06.05
分類號:C02F1/48(2023.01)I;C02F1/00(2023.01)I;B03C1/30(2006.01)I;B01D25/12(2006.01)I;B01D29/78(2006.01)I;B01D37/04(2006.01)I
摘要
本發明公開了一種基于磁性顆粒的污水處理系統及工藝,包括清洗箱以及連通在清洗箱下端的多個過濾箱,所述過濾箱上端與進水管連通,過濾箱下端通過出水分管與總出水管連通且出水分管上裝有出水閥門,清洗箱通過回水管與總出水管連通且回水管上裝有水泵和壓濾機,所述過濾箱內裝有磁性顆粒吸附架,過濾箱內填充有磁吸在磁性顆粒吸附架上的磁性顆粒;所述清洗箱內裝有可升降的升降架,升降架上裝有在多個過濾箱上方周向移動的周向移動機構,所述周向移動機構上裝有轉軸,轉軸下端裝有抓取磁性顆粒吸附架的抓取機構,本發明通過磁性顆粒對污水中的雜物進行過濾,當磁性顆粒中的污物過多時,可以將磁性顆粒上拉至清洗箱中進行清洗。

權利要求書
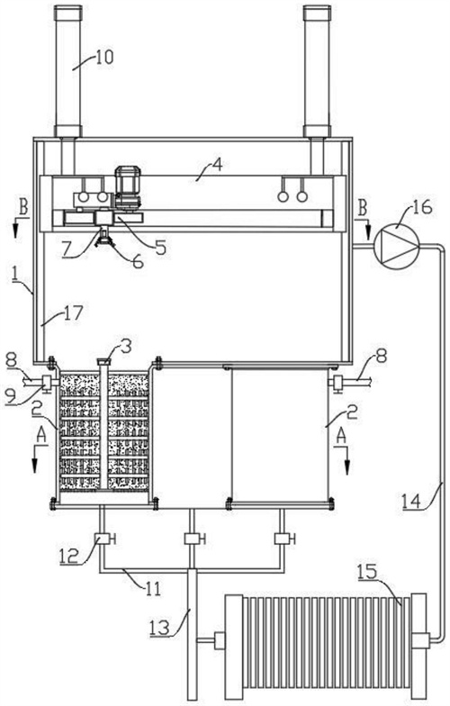
1.一種基于磁性顆粒的污水處理系統,其特征在于:包括清洗箱(1)以及連通在清洗箱(1)下端的多個周向均布的過濾箱(2),所述過濾箱(2)上端與進水管(8)連通且進水管(8)上裝有進水管閥門(9),過濾箱(2)下端通過出水分管(11)與總出水管(13)連通且出水分管(11)上裝有出水閥門(12),清洗箱(1)通過回水管(14)與總出水管(13)連通且回水管(14)上裝有水泵(16)和壓濾機(15),所述過濾箱(2)內裝有磁性顆粒吸附架(3),過濾箱(2)內填充有磁吸在磁性顆粒吸附架(3)上的磁性顆粒;所述清洗箱(1)內裝有可升降的升降架(4),升降架(4)上裝有在多個過濾箱(2)上方周向移動的周向移動機構(5),所述周向移動機構(5)上裝有轉軸(7),轉軸(7)下端裝有抓取磁性顆粒吸附架(3)的抓取機構(6)。
2.根據權利要求1所述的一種基于磁性顆粒的污水處理系統,其特征在于:所述磁性顆粒吸附架(3)包括豎向的主軸(31)以及固接在主軸(31)上的多個橫向鐵桿(32),所述橫向鐵桿(32)上固接有多個末端鐵桿(33),所述主軸(31)上端固接有封堵在過濾箱(2)上端的上蓋板(34)。
3.根據權利要求2所述的一種基于磁性顆粒的污水處理系統,其特征在于:所述主軸(31)下端固接有下過濾板(35),所述下過濾板(35)的濾孔小于磁性顆粒的直徑。
4.根據權利要求2所述的一種基于磁性顆粒的污水處理系統,其特征在于:所述抓取機構(6)包括豎向滑接在轉軸(7)上的滑動套(64)、驅動滑動套(64)升降的伸縮電磁鐵(65)以及沿轉軸(7)周向均布的多個鉤爪(61),鉤爪(61)與轉軸(7)下端鉸接,所述鉤爪(61)的上端通過連桿(63)與滑動套(64)連接,所述主軸(31)的上端固接有上抓取板(36),鉤爪(61)的下端裝有鉤在上抓取板(36)邊緣的鉤頭(62),所述主軸(31)的外圈設有容鉤頭(62)插入的卡槽(37)。
5.根據權利要求4所述的一種基于磁性顆粒的污水處理系統,其特征在于:所述連桿(63)的一端與鉤爪(61)的上端鉸接,連桿(63)的另一端與滑動套(64)鉸接。
6.根據權利要求1-5任一項所述的一種基于磁性顆粒的污水處理系統,其特征在于:所述周向移動機構(5)包括周向滑動連接在升降架(4)上的滑塊(51),所述轉軸(7)軸接在滑塊(51)上,轉軸(7)上固接有轉軸齒輪(54),所述滑塊(51)上軸接有與轉軸齒輪(54)嚙合的行走齒輪(55),所述升降架(4)上固接有內齒圈(44),所述行走齒輪(55)與內齒圈(44)嚙合,周向移動機構(5)還包括驅動行走齒輪(55)或轉軸齒輪(54)旋轉的旋轉電機(52)。
7.根據權利要求6所述的一種基于磁性顆粒的污水處理系統,其特征在于:所述旋轉電機(52)上裝有電機齒輪(53),所述電機齒輪(53)與轉軸齒輪(54)嚙合。
8.根據權利要求6所述的一種基于磁性顆粒的污水處理系統,其特征在于:所述升降架(4)包括豎向滑接在清洗箱(1)內的升降環(41)以及驅動升降環(41)升降的升降油缸(10),所述升降環(41)內圈固接有環形導軌(43),所述滑塊(51)周向滑動連接在環形導軌(43)上。
9.一種基于磁性顆粒的污水處理工藝,使用權利要求1-8任一項所述的一種基于磁性顆粒的污水處理系統,其特征在于,包括如下步驟:a、進水管(8)的水進入過濾箱(2),通過填充的磁性顆粒對污水中的雜物進行過濾,過濾后的清水通過出水分管(11)進入總出水管(13);b、磁性顆粒中的污物過多時,周向移動機構(5)移動至需要清洗的磁性顆粒吸附架(3)上方,升降架(4)下降,帶動轉軸(7)下端的抓取機構(6)下降,通過抓取機構(6)抓取磁性顆粒吸附架(3),然后升降架(4)上升,將磁性顆粒吸附架(3)連帶磁性顆粒和污物提升至清洗箱(1)中;c、通過轉軸(7)帶動磁性顆粒吸附架(3)高速旋轉,將磁性顆粒吸附架(3)上的磁性顆粒甩出與水混合,然后磁性顆粒吸附架(3)慢速旋轉,將磁性顆粒再次吸附至磁性顆粒吸附架(3)上,從而實現磁性顆粒吸附架(3)中磁性顆粒的清洗;d、關閉進水管(8)上的進水管閥門(9),打開回水管(14)上的水泵(16),將總出水管(13)中的清水泵送至清洗箱(1),清洗后的污水通過壓濾機(15)過濾后排出至總出水管(13)。
發明內容
為了解決上述技術問題,本發明提供了如下的技術方案:
本發明一種基于磁性顆粒的污水處理系統,包括清洗箱以及連通在清洗箱下端的多個周向均布的過濾箱,所述過濾箱上端與進水管連通且進水管上裝有進水管閥門,過濾箱下端通過出水分管與總出水管連通且出水分管上裝有出水閥門,清洗箱通過回水管與總出水管連通且回水管上裝有水泵和壓濾機,所述過濾箱內裝有磁性顆粒吸附架,過濾箱內填充有磁吸在磁性顆粒吸附架上的磁性顆粒;所述清洗箱內裝有可升降的升降架,升降架上裝有在多個過濾箱上方周向移動的周向移動機構,所述周向移動機構上裝有轉軸,轉軸下端裝有抓取磁性顆粒吸附架的抓取機構。
作為本發明的一種優選技術方案,所述磁性顆粒吸附架包括豎向的主軸以及固接在主軸上的多個橫向鐵桿,所述橫向鐵桿上固接有多個末端鐵桿,所述主軸上端固接有封堵在過濾箱上端的上蓋板。
作為本發明的一種優選技術方案,所述主軸下端固接有下過濾板,所述下過濾板的濾孔小于磁性顆粒的直徑。
作為本發明的一種優選技術方案,所述抓取機構包括豎向滑接在轉軸上的滑動套、驅動滑動套升降的伸縮電磁鐵以及沿轉軸周向均布的多個鉤爪,鉤爪與轉軸下端鉸接,所述鉤爪的上端通過連桿與滑動套連接,所述主軸的上端固接有上抓取板,鉤爪的下端裝有鉤在上抓取板邊緣的鉤頭,所述主軸的外圈設有容鉤頭插入的卡槽。
作為本發明的一種優選技術方案,所述連桿的一端與鉤爪的上端鉸接,連桿的另一端與滑動套鉸接。
作為本發明的一種優選技術方案,所述周向移動機構包括周向滑動連接在升降架上的滑塊,所述轉軸軸接在滑塊上,轉軸上固接有轉軸齒輪,所述滑塊上軸接有與轉軸齒輪嚙合的行走齒輪,所述升降架上固接有內齒圈,所述行走齒輪與內齒圈嚙合,周向移動機構還包括驅動行走齒輪或轉軸齒輪旋轉的旋轉電機。
作為本發明的一種優選技術方案,所述旋轉電機上裝有電機齒輪,所述電機齒輪與轉軸齒輪嚙合。
作為本發明的一種優選技術方案,所述升降架包括豎向滑接在清洗箱內的升降環以及驅動升降環升降的升降油缸,所述升降環內圈固接有環形導軌,所述滑塊周向滑動連接在環形導軌上。
一種基于磁性顆粒的污水處理工藝,包括如下步驟:a、進水管的水進入過濾箱,通過填充的磁性顆粒對污水中的雜物進行過濾,過濾后的清水通過出水分管進入總出水管;
b、磁性顆粒中的污物過多時,周向移動機構移動至需要清洗的磁性顆粒吸附架上方,升降架下降,帶動轉軸下端的抓取機構下降,通過抓取機構抓取磁性顆粒吸附架,然后升降架上升,將磁性顆粒吸附架連帶磁性顆粒和污物提升至清洗箱中;
c、通過轉軸帶動磁性顆粒吸附架高速旋轉,將磁性顆粒吸附架上的磁性顆粒甩出與水混合,然后磁性顆粒吸附架慢速旋轉,將磁性顆粒再次吸附至磁性顆粒吸附架上,從而實現磁性顆粒吸附架中磁性顆粒的清洗;
d、關閉進水管上的進水管閥門,打開回水管上的水泵,將總出水管中的清水泵送至清洗箱,清洗后的污水通過壓濾機過濾后排出至總出水管。
本發明的有益效果是:本發明可以通過填充在過濾箱內的磁性顆粒對污水中的雜物進行過濾,當磁性顆粒中的污物過多時,可以將單個過濾箱內的磁性顆粒上拉至清洗箱中進行清洗,通過磁性顆粒的磁吸作用,使清洗后的磁性顆粒再次聚集,從而繼續實現過濾,清洗后的污水可以通過壓濾機進行過濾,降低了壓濾機的使用頻率。
(發明人:徐寶剛;唐國斌)






