公布日:2023.11.07
申請日:2023.07.14
分類號:C02F3/12(2023.01)I;C02F1/00(2023.01)I;C02F7/00(2006.01)I;B01D29/03(2006.01)I;B01D29/66(2006.01)I;C02F3/34(2023.01)I;C02F101/10(2006.01)N;C02F101/
16(2006.01)N;C02F101/30(2006.01)N
摘要
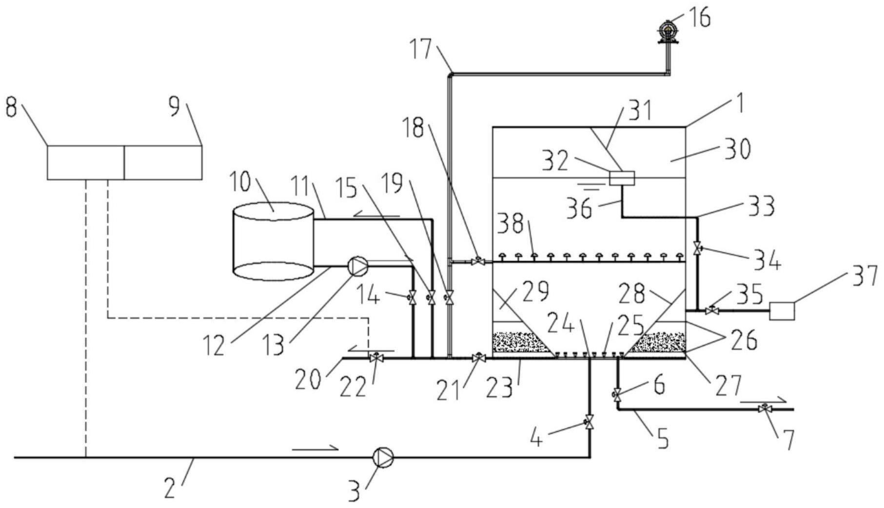
本發明公開了一種農村生活污水處理裝置,包括:至少3組圓筒形反應池,反應池的內腔底部與側壁之間設置有斜板,斜板將反應池的內腔分割成過濾室和反應室,過濾室的中部水平設置有兩塊過濾板,過濾板之間填充有濾料,過濾室的底部設置有集水管,集水管與排水管連通,排水管延伸至反應池外,反應池外設置有鼓風機和沖洗桶,鼓風機通過送氣管與排水管連通,沖洗桶的上部和下部通過沖洗桶進水管和沖洗桶出水管與排水管連通,送氣管上設置有沖洗通氣閥,沖洗桶進水管上設置有沖洗進水閥,沖洗桶出水管上設有沖洗泵和沖洗出水閥,在反應池中過濾板和濾料堵塞時可采用水-氣反沖相結合的方式對過濾板和濾料進行沖洗,避免過濾板堵塞影響污水處理效率。

權利要求書
1.一種農村生活污水處理裝置,其特征在于,包括:至少3組圓筒形反應池(1),所述反應池(1)的內腔底部與側壁之間設置有斜板(28),斜板(28)將反應池(1)的內腔分割成過濾室(29)和反應室(30),過濾室(29)的中部水平設置有兩塊過濾板(26),過濾板(26)之間填充有濾料(27),過濾室(29)的底部設置有集水管(23),集水管(23)與排水管(20)連通并且排水管(20)延伸至反應池(1)外部,排水管(20)靠近反應池(1)的一側設置有反應池出水閥(21),排水管(20)遠離反應池(1)的一側設置有總出水閥(22),反應室(30)的上部通過繩索(31)連接有浮塊(32),浮塊(32)為內部中空設置,浮塊(32)的內腔左右側壁開設有進水通道(39),浮塊(32)的內腔底部連通有軟管(36),軟管(36)延伸至反應池(1)外部并與濾室進水管(33)一端連通,濾室進水管(33)另一端設置有兩條支路,一條支路與過濾室(29)中上層過濾板(26)以上的空間連通,另一條支路上設有沖洗排水閥(35)并與排水檢查井(37)連通,濾室進水管(33)分支之前設有濾室進水閥(34),反應室(30)的底部連通反應池進水管(2),反應池(1)外還設置有鼓風機(16)和沖洗桶(10),鼓風機(16)通過送氣管(17)與排水管(20)連通,沖洗桶(10)的上部和下部分別通過沖洗桶進水管(11)和沖洗桶出水管(12)與排水管(20)連通,送氣管(17)、沖洗桶進水管(11)和沖洗桶出水管(12)與排水管(20)的連通節點位于反應池出水閥(21)與總出水閥(22)之間,送氣管(17)上設置有沖洗通氣閥(19),沖洗桶進水管(11)上設置有沖洗進水閥(15),沖洗桶出水管(12)上設置有沖洗泵(13)和沖洗出水閥(14)。
2.根據權利要求1所述的一種農村生活污水處理裝置,其特征在于,所述集水管(23)包括若干根穿孔管(41)和一根連接管(42),所述穿孔管(41)的一端均與斜板(28)的底部連接,若干根穿孔管(41)以斜板(28)所圍繞的圓形的圓心為中心呈放射狀均勻分布,穿孔管(41)的另一端均與連接管(42)連通,連接管(42)與排水管(20)連通,穿孔管(41)上均勻開設有若干穿孔(43)。
3.根據權利要求2所述的一種農村生活污水處理裝置,其特征在于,所述反應室(30)的中部水平設置有曝氣裝置(38),送氣管(17)的進氣口與沖洗通氣閥(19)之間開設有若干支路并穿過相應的反應池(1)與反應池(1)內部的曝氣裝置(38)連通,與曝氣裝置(38)連通的支路上均設置有曝氣閥(18)。
4.根據權利要求3所述的一種農村生活污水處理裝置,其特征在于,反應池進水管(2)與反應室(30)連通的出水口處設置有配水管(24),配水管(24)上均勻設置有若干噴頭(25)。
5.根據權利要求4所述的一種農村生活污水處理裝置,其特征在于,反應室(30)底部還連通出泥管(5),出泥管(5)延伸至反應池(1)外部,出泥管(5)靠近反應池(1)的一側均設置有支路出泥閥(6),出泥管(5)遠離反應池(1)的一側設置有總出泥閥(7)。
6.根據權利要求5所述的一種農村生活污水處理裝置,其特征在于,所述反應池進水管(2)靠近反應池(1)的一側均設置有進水閥門(4),反應池進水管(2)遠離反應池(1)的一側設置有進水泵(3)。
7.根據權利要求6所述的一種農村生活污水處理裝置,其特征在于,所述浮塊(32)中進水通道(39)的進水口處設置有過濾網(40)。
8.根據權利要求7所述的一種農村生活污水處理裝置,其特征在于,所述斜板(28)與反應池(1)的底面夾角為55°-75°。
9.根據權利要求8所述的一種農村生活污水處理裝置,其特征在于,反應池(1)外還設置有水質檢測儀(8),水質檢測儀(8)用于檢測反應池進水管(2)的進水水質以及排水管(20)的出水水質。
10.根據權利要求9所述的一種農村生活污水處理裝置,其特征在于,反應池(1)外還設置有控制器(9),所述水質檢測儀(8)、進水泵(3)、進水閥門(4)、支路出泥閥(6)、總出泥閥(7)、沖洗泵(13)、沖洗出水閥(14)、沖洗進水閥(15)、鼓風機(16)、曝氣閥(18)、沖洗通氣閥(19)、反應池出水閥(21)、總出水閥(22)、濾室進水閥(34)以及沖洗排水閥(35)均分別與控制器(9)連接。
發明內容
本發明提供一種農村生活污水處理裝置,旨在解決現有的SBR污水處理裝置無調節能力、無法在線自清潔內部過濾裝置、雨天污水超標的問題。
為解決上述技術問題,本發明采用以下技術方案:
一種農村生活污水處理裝置,包括:至少3組圓筒形反應池,所述反應池的內腔底部與側壁之間設置有斜板,斜板將反應池的內腔分割成過濾室和反應室,過濾室的中部水平設置有兩塊過濾板,過濾板之間填充有濾料,過濾室的底部設置有集水管,集水管與排水管連通并且排水管延伸至反應池外部,排水管靠近反應池的一側設置有反應池出水閥,排水管遠離反應池的一側設置有總出水閥,反應室的上部通過繩索連接有浮塊,浮塊為內部中空設置,浮塊的內腔左右側壁開設有進水通道,浮塊的內腔底部連通有軟管,軟管延伸至反應池外部并與濾室進水管一端連通,濾室進水管另一端設置有兩條支路,一條支路與過濾室中上層過濾板以上的空間連通,另一條支路上設有沖洗排水閥并與排水檢查井連通,濾室進水管分支之前設有濾室進水閥,反應室的底部連通反應池進水管,反應池外還設置有鼓風機和沖洗桶,鼓風機通過送氣管與排水管連通,沖洗桶的上部和下部分別通過沖洗桶進水管和沖洗桶出水管與排水管連通,送氣管、沖洗桶進水管和沖洗桶出水管與排水管的連通節點位于反應池出水閥與總出水閥之間,送氣管上設置有沖洗通氣閥,沖洗桶進水管上設置有沖洗進水閥,沖洗桶出水管上設置有沖洗泵和沖洗出水閥。
進一步的,所述集水管包括若干根穿孔管和一根連接管,所述穿孔管的一端均與斜板的底部連接,若干根穿孔管以斜板所圍繞的圓形的圓心為中心呈放射狀均勻分布,穿孔管的另一端均與連接管連通,連接管與排水管連通,穿孔管上均勻開設有若干穿孔。
進一步的,所述反應室的中部水平設置有曝氣裝置,送氣管的進氣口與沖洗通氣閥之間開設有若干支路并穿過相應的反應池與反應池內部的曝氣裝置連通,與曝氣裝置連通的支路上均設置有曝氣閥。
進一步的,反應池進水管與反應室連通的出水口處設置有配水管,配水管上均勻設置有若干噴頭。
進一步的,反應室底部還連通出泥管,出泥管延伸至反應池外部,出泥管靠近反應池的一側均設置有支路出泥閥,出泥管遠離反應池的一側設置有總出泥閥。
進一步的,所述反應池進水管靠近反應池的一側均設置有進水閥門,反應池進水管遠離反應池的一側設置有進水泵。
進一步的,所述浮塊中進水通道的進水口處設置有過濾網。
進一步的,所述斜板與反應池的底面夾角為55°-75°。
進一步的,反應池外還設置有水質檢測儀,水質檢測儀用于檢測反應池進水管的進水水質以及排水管的出水水質。
進一步的,反應池外還設置有控制器,所述水質檢測儀、進水泵、進水閥門、支路出泥閥、總出泥閥、沖洗泵、沖洗出水閥、沖洗進水閥、鼓風機、曝氣閥、沖洗通氣閥、反應池出水閥、總出水閥、濾室進水閥以及沖洗排水閥均分別與控制器連接。
與現有技術相比,本發明具有以下技術效果:
1.本發明所述的一種農村生活污水處理裝置通過沖洗桶收集處理后的污水,在反應池內過濾室中濾料以及過濾板堵塞時,通過沖洗泵將沖洗桶內的處理后的污水泵入過濾室內,對濾料以及濾板進行清洗,并且集水管的特殊設計能夠保證清洗水流對濾料和過濾板進行充分均勻的清洗,實用性強,并且沖洗桶收集的是反應池處理過的污水,不需要另外補充清水,十分便捷;送氣管與排水管連接,工作人員還可以通過氣-水相結合的方式對濾料和過濾板進行在線沖洗,進一步確保濾料不被堵塞。
2.本發明所述的一種農村生活污水處理裝置通過浮塊代替傳統潷水器進行排水,耗能較低,通過優化管路設計多池共用一組鼓風機、進水泵、沖洗泵,可以減少工程投資以及后期運維費用。
3.本發明所述的一種農村生活污水處理裝置通過設置多組反應池進行污水處理,每個反應池均可采用SBR工藝進行污水處理,當農村由于人口潮汐現象帶來的污水量變化較大時,可通過控制器控制各個反應池配合工作,提高污水處理上限,不需要另建調節池,解決了人口潮汐現象帶來的污水量變化大的問題。
4.本發明所述的一種農村生活污水處理裝置通過控制器控制各個閥門、水泵以及鼓風機的工作,可以調整反應池的曝氣強度、曝氣時間及污水沉淀停留時間等運行參數,雨天時可有效減少污水水量、水質變化帶來的沖擊負荷,使微生物活性始終保持在較高水平,同時沉淀使表面負荷保持恒定,可有效去除污水中化學需氧量、氨氮、總氮、總磷和懸浮物。
(發明人:涂凌波;許翔;林鑫;黃芳;劉學通;代煥芳)






