公布日:2023.12.26
申請日:2023.10.27
分類號:C02F1/24(2023.01)I
摘要
本發明公開了一種工業廢水自動凈化裝置,包括處理箱體,處理箱體的內部設置布水器,布水器上設置進水器和出水器,處理箱體的底部設置隨動層板,隨動層板將處理空間隔離成為位于下部的集泡腔和位于上部的處理腔,出水器延伸至處理腔內部,隨動層板開設用于將集泡腔內部泡沫進行聚集的聚集孔,聚集孔連通集泡腔和處理腔,集泡腔的微氣泡可在聚集孔聚集,形成密集氣泡團進入處理箱,產生"氣泡裹攜"作用,在密集氣泡團上升過程中,處理箱內部分未與氣泡或絮體吸附的細小懸浮物可被挾帶在氣泡群的氣泡間隙中,從而被裹攜至水面而從廢水中分離,提升氣浮分離凈化的效果。

權利要求書
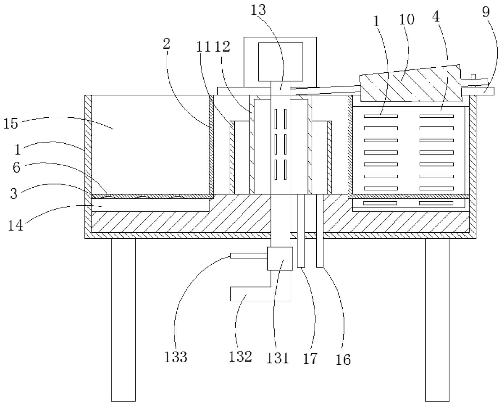
1.一種工業廢水自動凈化裝置,包括處理箱體(1),所述處理箱體(1)的內部從外到內依次設置同軸的清水筒(2)、溢流筒(11)和進液筒(12),所述清水筒(2)與處理箱體(1)之間的處理空間設置布水器(4),所述布水器(4)的一側設置用于廢水進入處理空間的進水器(41),布水器(4)的另一側設置用于清水流出處理空間的出水器(42),布水器(4)的上方設置用于清除表面雜質的去泡器(10),所述布水器(4)以處理箱體(1)的中心軸(13)為軸心旋轉,其特征在于,所述處理箱體(1)的底部設置隨動層板(3),隨動層板(3)將處理空間隔離成為位于下部的集泡腔(14)和位于上部的處理腔(15);所述隨動層板(3)與布水器(4)固定連接,布水器(4)的出水器(42)上端位于處理腔(15)的內部,布水器(4)的下端延伸至集泡腔(14)的內部;所述出水器(42)于集泡腔(14)和處理腔(15)分別設置出水口,出水器(42)于集泡腔(14)還設置用于將集泡腔(14)內部水導入出水器(42)內部的回流管(423),所述回流管(423)與集泡腔(14)內部的出水口位于出水器(42)的不同側;所述隨動層板(3)上開設用于將集泡腔(14)內部泡沫進行聚集的聚集孔(6),所述聚集孔(6)連通集泡腔(14)和處理腔(15)。
2.根據權利要求1所述的工業廢水自動凈化裝置,其特征在于,所述聚集孔(6)的內部設置封堵塊(7),封堵塊(7)用于對聚集孔(6)進行密封,斷開處理腔(15)與集泡腔(14)之間的連通;還包括用于推動封堵塊(7)離開聚集孔(6)以解除聚集孔(6)密封狀態的同位控制結構(8),實現處理腔(15)與集泡腔(14)之間的連通。
3.根據權利要求2所述的工業廢水自動凈化裝置,其特征在于,所述同位控制結構(8)包括通過溢流孔(83)連通的同位腔(81)和溢流腔(82),所述同位腔(81)通過導液管(18)與集泡腔(14)連通,所述溢流孔(83)的最低處不高于聚集孔(6)的底部;所述溢流孔(83)于溢流腔(82)的一側設置用于實現溢流孔(83)開閉的截流板(85);所述同位腔(81)的內部設置施壓板(84),所述施壓板(84)與同位腔(81)的內部滑動密封連接;所述同位腔(81)通過進液管(191)與控制管(19)連通,所述施壓板(84)設置連通同位腔(81)的軟管(89),所述軟管(89)通過出液管(192)與控制管(19)連通。
4.根據權利要求3所述的工業廢水自動凈化裝置,其特征在于,所述隨動層板(3)的內部設置導向腔(31)、收納腔(32)和控制管(19),所述收納腔(32)連通控制管(19)和導向腔(31),所述導向腔(31)位于收納腔(32)的上方;所述封堵塊(7)的邊部設置連接板(71),所述連接板(71)的底部設置導向桿(72),所述導向桿(72)的下端固定設置限位板(73);所述導向桿(72)的下端和限位板(73)位于導向腔(31)的內部,限位板(73)的外緣與導向腔(31)的內壁滑動密封連接,導向腔(31)的頂部設置用于限位板(73)限位的限位密封環(33);所述封堵塊(7)與隨動層板(3)之間通過限位彈性件(34)連接,所述限位彈性件(34)位于收納腔(32)的內部。
5.根據權利要求4所述的工業廢水自動凈化裝置,其特征在于,所述隨動層板(3)的圓柱側面設置導液環槽(35),導液環槽(35)的內側與所有的控制管(19)的一端連通,導液環槽(35)的外側連通同位腔(81)。
6.根據權利要求5所述的工業廢水自動凈化裝置,其特征在于,所述出水器(42)通過若干上出水管(421)與處理腔(15)連通,所述回流管(423)上設置若干回流噴嘴(425),所述回流噴嘴(425)的位置與上出水管(421)的位置對應,所述回流噴嘴(425)的出料方向與所述上出水管(421)的出水方向相同。
7.根據權利要求1-6任一所述的工業廢水自動凈化裝置,其特征在于,所述清水筒(2)與處理箱體(1)旋轉連接,所述清水筒(2)固定連接布水器(4)。
8.根據權利要求1-6任一所述的工業廢水自動凈化裝置,其特征在于,所述溢流筒(11)和進液筒(12)之間設置清水出管(16)。
9.根據權利要求1-6任一所述的工業廢水自動凈化裝置,其特征在于,所述進液筒(12)與中心軸(13)連通,所述進液筒(12)與進水器(41)連通;所述中心軸(13)的底部連接用于污水和氣體混合的微氣泡發生器(131)。
發明內容
本發明的目的是為了解決現有技術中氣浮處理設備依靠氣泡吸附懸浮物效果有限,而提出的一種工業廢水自動凈化裝置,通過增加氣浮處理的"氣泡裹攜"作用,提升凈化效果。
為了實現上述目的,本發明采用了如下技術方案:
一種工業廢水自動凈化裝置,包括處理箱體,所述處理箱體的內部從外到內依次設置同軸的清水筒、溢流筒和進液筒,所述清水筒與處理箱體之間的處理空間設置布水器,所述布水器的一側設置用于廢水進入處理空間的進水器,布水器的另一側設置用于清水流出處理空間的出水器,布水器的上方設置用于清除表面雜質的去泡器,所述布水器以處理箱體的中心軸為軸心旋轉,所述處理箱體的底部設置隨動層板,隨動層板將處理空間隔離成為位于下部的集泡腔和位于上部的處理腔。
所述隨動層板與布水器固定連接,布水器的出水器上端位于處理腔的內部,布水器的下端延伸至集泡腔的內部。
所述出水器于集泡腔和處理腔分別設置出水口,出水器于集泡腔還設置用于將集泡腔內部水導入出水器內部的回流管,所述回流管與集泡腔內部的出水口位于出水器的不同側;
所述隨動層板上開設用于將集泡腔內部泡沫進行聚集的聚集孔,所述聚集孔連通集泡腔和處理腔。
優選的,所述聚集孔的內部設置封堵塊,封堵塊用于對聚集孔進行密封,斷開處理腔與集泡腔之間的連通;
還包括用于推動封堵塊離開聚集孔以解除聚集孔密封狀態的同位控制結構,實現處理腔與集泡腔之間的連通。
優選的,所述同位控制結構包括通過溢流孔連通的同位腔和溢流腔,所述同位腔通過導液管與集泡腔連通,所述溢流孔的最低處不高于聚集孔的底部;
所述溢流孔于溢流腔的一側設置用于實現溢流孔開閉的截流板;
所述同位腔的內部設置施壓板,所述施壓板與同位腔的內部滑動密封連接;所述同位腔通過進液管與控制管連通,所述施壓板設置連通同位腔的軟管,所述軟管通過出液管與控制管連通。
優選的,所述隨動層板的內部設置導向腔、收納腔和控制管,所述收納腔連通控制管和導向腔,所述導向腔位于收納腔的上方;
所述封堵塊的邊部設置連接板,所述連接板的底部設置導向桿,所述導向桿的下端固定設置限位板;
所述導向桿的下端和限位板位于導向腔的內部,限位板的外緣與導向腔的內壁滑動密封連接,導向腔的頂部設置用于限位板限位的限位密封環;
所述封堵塊與隨動層板之間通過限位彈性件連接,所述限位彈性件位于收納腔的內部。
優選的,所述隨動層板的圓柱側面設置導液環槽,導液環槽的內側與所有的控制管的一端連通,導液環槽的外側連通同位腔。
優選的,所述出水器通過若干上出水管與處理腔連通,所述回流管上設置若干回流噴嘴,所述回流噴嘴的位置與上出水管的位置對應,所述回流噴嘴的出料方向與所述上出水管的出水方向相同。
優選的,所述清水筒與處理箱體旋轉連接,所述清水筒固定連接布水器。
優選的,所述溢流筒和進液筒之間設置清水出管。
優選的,所述進液筒與中心軸連通,所述進液筒與進水器連通;所述中心軸的底部連接用于污水和氣體混合的微氣泡發生器。
本發明的有益效果是:本工業廢水自動凈化裝置在處理箱體內部設置隨動層板,隨動層板將處理箱體隔離成上部的處理箱和下部的集泡腔,集泡腔內部通過出水器的下出水管進水產生微氣泡,微氣泡可在聚集孔聚集,形成密集氣泡團進入處理箱,產生"氣泡裹攜"作用,在密集氣泡團上升過程中,處理箱內部分未與氣泡或絮體吸附的細小懸浮物可被挾帶在氣泡群的氣泡間隙中,從而被裹攜至水面而從廢水中分離,提升氣浮分離凈化的效果。
(發明人:田民;萬先進;黃軍巖)






