公布日:2023.12.26
申請日:2023.09.22
分類號:C02F1/58(2023.01)I;C02F1/52(2023.01)I;B01F25/312(2022.01)I;B01J19/24(2006.01)I;B01J19/26(2006.01)I;C02F101/14(2006.01)N
摘要
本發明涉及一種基于微管流化的低濃度含氟廢水深度除氟裝置,屬于含氟廢水處理領域。該裝置自下而上包括晶粒回收區、進水布水區、微管流化反應區和沉淀出水區。低濃度含氟廢水先經過文丘里式射流器與除氟劑充分混合,混合液通過射流器出口快速進入微管流化反應區,含氟廢水中的氟離子與除氟劑中的鈣離子在微管流化反應區的晶種表面形成氟化鈣并逐漸增大。除氟反應后的廢水經過沉淀出水區進行排放,較大的氟化鈣晶粒通過晶粒回收區及晶粒回收管進行氟資源的回收利用。本發明適用于低濃度含氟廢水深度除氟,同時可實現氟資源的回收利用,具有良好的含氟廢水深度處理應用前景。

權利要求書
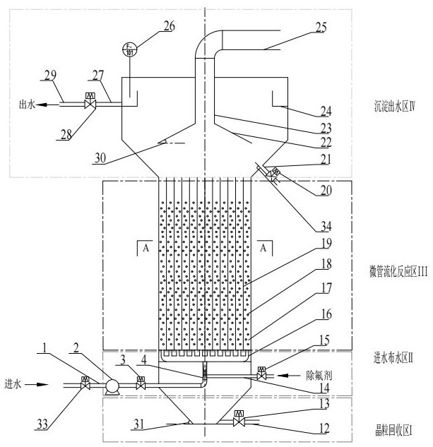
1.一種基于微管流化的低濃度含氟廢水深度除氟裝置,其特征在于,自下而上依次包括晶粒回收區I、進水布水區II、微管流化反應區III和沉淀出水區IV;所述晶粒回收區I為下部逐漸縮小的圓臺形結構,晶粒回收區I底部側方設有第一晶粒回收管(12),通過第一晶粒回收閥(13)控制晶粒的排出;所述裝置外設有進水管(1)、進水泵(2)、止回閥(3)和文丘里式射流器(4),含氟廢水由進水管(1)經過進水泵(2)加壓輸送至文丘里式射流器(4),與除氟劑混合后進入進水布水區II;所述進水布水區II設有可移動圓盤式布水管(16),含氟廢水和除氟劑的混合液經布水管(16)快速進入管式流化床反應區III中的各個管道;所述微管流化反應區III為圓柱形結構,內部由不銹鋼隔板(19)分隔為多個平行管道(17),管道(17)內裝填有誘導晶種(18),誘導進水中的氟離子和鈣離子在誘導晶種(18)表面形成氟化鈣沉淀;所述沉淀出水區IV包含氣、液、固三相分離結構,沉淀出水區IV下部與微管流化反應區III上部連通,沉淀出水區IV中間設有氣體收集裝管(23),氣體收集裝管的上部排氣管道(25)與大氣相通,保證裝置內外氣壓平衡;氣體收集裝管(23)下部為傾斜的氣體導流板(22),與上部排氣管道(25)外壁形成沉淀區,用于分離固體和液體;沉淀出水區IV上部為環形的溢流堰(24),溢流堰(24)中設有在線氟離子檢測儀(26);預留出水管(27)與進水管(1)相通的管道,可通過出水閥(28)切換出水進入進水管(1)。
2.根據權利要求1所述的一種基于微管流化的低濃度含氟廢水深度除氟裝置,其特征在于,所述晶粒回收區I的側壁與水平夾角即晶粒回收區側壁夾角(31)為55~60°。
3.根據權利要求1所述的一種基于微管流化的低濃度含氟廢水深度除氟裝置,其特征在于,所述進水管(1)與進水泵(2)之間設有進水閥(33),通過調節進水閥(33)調節進水流速,控制微管流化反應區IV中晶粒處于流化狀態。
4.根據權利要求1所述的一種基于微管流化的低濃度含氟廢水深度除氟裝置,其特征在于,所述文丘里管射流器(4)由噴嘴(6)、吸入口(10)和擴壓管(9)三部分組成,經過進水泵(2)加壓后的含氟廢水進入射流器噴嘴(6),廢水被壓縮向噴射室(7)并變成高速射流;噴射室(7)內產生真空,將除氟劑通過吸入口(10)吸入,與含氟廢水混合;在擴壓管(9)中隨著射流向射流器出口(11)擴散,水流速度減小,出口處形成湍流,含氟廢水與除氟劑進行充分混合。
5.根據權利要求1所述的一種基于微管流化的低濃度含氟廢水深度除氟裝置,其特征在于,所述沉淀出水區IV的直徑與微管流化反應區III的直徑之比為3/2~2;所述晶粒回收區I占裝置總高度的1/10~3/20,進水布水區II高度占總高度的1/20~1/10,微管流化反應區III高度占總高度的1/2~3/5,沉淀出水區IV高度占總高度1/3~2/5;所述裝置內填料的高度與微管流化反應區IV的高度之比為1/4~1/3。
6.根據權利要求1所述的一種基于微管流化的低濃度含氟廢水深度除氟裝置,其特征在于,所述微管流化反應區中誘導晶粒(18)為石英砂、氟化鈣晶種、冰晶石和氟磷灰石的一種或幾種;所述除氟劑為氫氧化鈣、氯化鈣和鈣基液堿的一種或幾種。
7.根據權利要求1所述的一種基于微管流化的低濃度含氟廢水深度除氟裝置,其特征在于,所述流化床中誘導晶粒(18)尺寸范圍為管道(17)直徑的1/10-1/5。
8.根據權利要求1所述的一種基于微管流化的低濃度含氟廢水深度除氟裝置,其特征在于,所述出水區的氣體導流板(22)與水平夾角即氣體導流板夾角(30)為55~60°;所述沉淀出水區IV下方設有第二晶粒回收管(21),第二晶粒回收管(21)與沉淀出水區IV側壁夾角即第二晶粒回收管夾角(34)為60~90°。
9.根據權利要求4所述的一種基于微管流化的低濃度含氟廢水深度除氟裝置,其特征在于,所述文丘里式射流器(4)的射流器入口(5)直徑與噴嘴(6)直徑之比為2~4,喉管(8)直徑與噴嘴(6)直徑之比為1~2,擴壓管(9)的擴散角即擴壓管夾角(32)為10~15°。
10.根據權利要求4所述的一種基于微管流化的低濃度含氟廢水深度除氟裝置,其特征在于,所述進水泵(2)與文丘里管射流器(4)之間設有止回閥(3),防止文丘里式射流器(4)液體回流至進水泵(2);所述文丘里管射流器吸入器(10)處設有吸入閥(15),可通過吸入閥(15)調節除氟劑的加藥量,調節進水鈣氟摩爾比為1/3~2。
發明內容
本發明的目的是克服現有技術的不足,提供一種基于微管流化的低濃度含氟廢水深度除氟裝置。
本發明所提供的技術方案如下:
本發明提供了一種基于微管流化的低濃度含氟廢水深度除氟裝置,自下而上依次包括晶粒回收區I、進水布水區II、微管流化反應區III和沉淀出水區IV;
所述晶粒回收區I為下部逐漸縮小的圓臺形結構,晶粒回收區I底部側方設有第一晶粒回收管,通過第一晶粒回收閥控制晶粒的排出;
所述裝置外設有進水管、進水泵、止回閥和文丘里式射流器,低濃度含氟廢水由進水管經過進水泵加壓輸送至文丘里式射流器,與除氟劑混合后進入進水布水區II;
所述進水布水區II設有可移動圓盤式布水管,含氟廢水和除氟劑的混合液經布水管快速進入管式流化床反應區III中的各個管道;
所述微管流化反應區III為圓柱形結構,內部由不銹鋼隔板分隔為多個平行管道,管道內裝填有誘導晶種,誘導進水中的氟離子和鈣離子在誘導晶種表面形成氟化鈣沉淀;
所述沉淀出水區IV包含氣、液、固三相分離結構,沉淀出水區IV下部與微管流化反應區III上部連通,沉淀出水區IV中間設有氣體收集裝管,氣體收集裝管頂部管道與大氣相通,保證裝置內外氣壓平衡;氣體收集裝管下部為傾斜的氣體導流板,與上部排氣管道外壁形成沉淀區,用于分離固體和液體;出水區IV上部為環形的溢流堰,溢流堰中設有在線氟離子檢測儀;預留出水管與進水管相通的管道,可通過出水閥切換出水進入進水管。
作為優選,所述晶粒回收區I側壁與水平夾角為55~60°。
作為優選,所述進水管與進水泵之間設有進水閥,通過調節進水閥調節進水流速,控制微管流化反應區IV中晶粒處于流化狀態。
作為優選,所述文丘里管射流器由噴嘴、吸入口和擴壓管三部分組成,經過進水泵加壓后的含氟廢水進入射流器噴嘴,廢水被壓縮向噴射室并變成高速射流。噴射室內產生真空,將除氟劑通過吸入口吸入,與含氟廢水混合。在擴壓管中隨著射流向射流器出口擴散,水流速度減小,出口處形成湍流,含氟廢水與除氟劑進行充分混合。
作為優選,所述沉淀出水區IV的直徑與微管流化反應區III的直徑之比為3/2~2。
作為優選,所述晶粒回收區I占裝置總高度的1/10~3/20,進水布水區II高度占總高度的1/20~1/10,微管流化反應區III高度占總高度的1/2~3/5,沉淀出水區IV高度占總高度1/3~2/5。
作為優選,所述裝置內填料的高度與微管流化反應區IV的高度之比為1/4~1/3。
作為優選,所述微管流化反應區中誘導晶粒為石英砂、氟化鈣晶種、冰晶石和氟磷灰石的一種或幾種等。
作為優選,所述除氟劑為氫氧化鈣、氯化鈣和鈣基液堿的一種或幾種等。
作為優選,所述流化床中誘導晶粒尺寸范圍為管道直徑的1/10-1/5。
作為優選,所述出水區的氣體導流板與水平夾角為55~60°。
作為優選,所述沉淀出水區IV下方設有第二晶粒回收管,第二晶粒回收管與沉淀出水區IV側壁夾角為60~90°。
作為優選,所述文丘里式射流器入口直徑與噴嘴直徑之比為2~4,喉管直徑與噴嘴直徑之比為1~2,擴壓管的擴散角為10~15°。
作為優選,所述進水泵與文丘里管射流器之間設有止回閥,防止射流器液體回流至進水泵。
作為優選,所述文丘里管射流器吸入器處設有吸入閥,可通過吸入閥調節除氟劑的加藥量,調節進水鈣氟摩爾比為1/3~2。
與目前現有技術相比,本發明具有以下有益效果:
1)各結構單元功能協同,結構緊湊,占地面積小;2)通過文丘里式射流器實現含氟廢水和除氟劑的充分混合,提高進水水流流速,有利于減少能耗,提高藥劑利用效率,增強除氟效果;3)采用微管流化結晶,進行分流處理,使氟離子和鈣離子在誘導晶種表面更快析出沉淀,減少晶種流失,提高除氟效率;4)通過收集產生的含氟晶粒可實現氟資源的回收利用。
(發明人:陸慧鋒;康婷婷;易力;俞言文;陳倩倩)






