公布日:2023.02.03
申請日:2022.11.17
分類號:C02F3/30(2006.01)I
摘要
本發明公開了一種低碳節能一體化脫氮除磷反應器,涉及一體化脫氮除磷反應器技術領域,該反應器包括厭氧生物選擇器、依次設置在厭氧生物選擇器右側相互連接的第一供液組件、序批式懸浮污泥主反應器、第二供液組件和生物膜硝化反應器,厭氧生物選擇器下端安裝有第一排污組件,序批式懸浮污泥主反應器下端固定連接有第二排污組件,生物膜硝化反應器下端固定連接有第三排污組件,厭氧生物選擇器上端固定連接有可拆卸的第一密封蓋,該反應器利用減少裝置的數量,更加低碳節能,通過回流污泥,借助高負荷梯度產生的壓力,篩選出具有良好絮凝性的細菌,并使聚磷菌厭氧釋磷,不需要化學輔助的方式除磷,排放水中無化學殘留,更加安全。

權利要求書
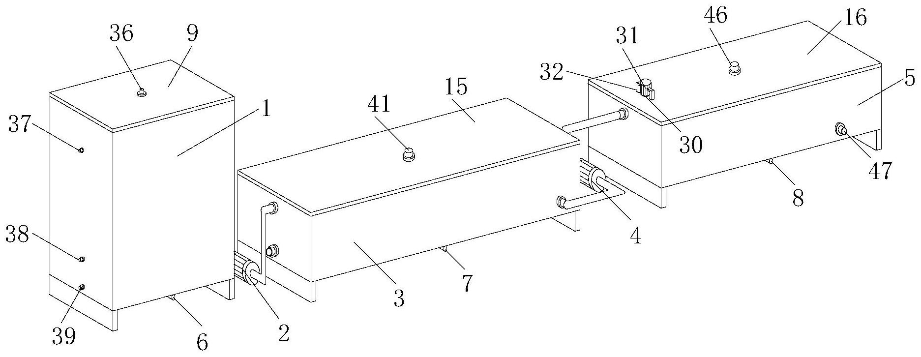
1.一種低碳節能一體化脫氮除磷反應器,該反應器包括厭氧生物選擇器(1)、依次設置在所述厭氧生物選擇器(1)右側相互連接的第一供液組件(2)、序批式懸浮污泥主反應器(3)、第二供液組件(4)和生物膜硝化反應器(5);其特征在于,所述厭氧生物選擇器(1)下端安裝有第一排污組件(6),所述序批式懸浮污泥主反應器(3)下端固定連接有第二排污組件(7),所述生物膜硝化反應器(5)下端固定連接有第三排污組件(8),所述厭氧生物選擇器(1)上端固定連接有可拆卸的第一密封蓋(9),所述厭氧生物選擇器(1)前后兩端內壁之間從上往下依次固定連接有沉淀隔板(10)和三相分離器(11),所述沉淀隔板(10)和另一沉淀隔板(10)之間固定連接有排水槽(12),所述厭氧生物選擇器(1)內下側安裝有進水布水器(13),所述厭氧生物選擇器(1)內上側安裝有第一曝氣管(14),所述序批式懸浮污泥主反應器(3)上端固定連接有可拆卸的第二密封蓋(15),所述生物膜硝化反應器(5)上端固定連接有可拆卸的第三密封蓋(16),所述序批式懸浮污泥主反應器(3)內固定連接有將所述序批式懸浮污泥主反應器(3)分成預反應區(18)和主反應區(19)的第一分隔板(17),所述主反應區(19)內上側安裝有涉水器(20),所述序批式懸浮污泥主反應器(3)內底部上端安裝有第二曝氣管(21),所述主反應區(19)內安裝有攪拌組件(22),所述生物膜硝化反應器(5)內安裝有將所述生物膜硝化反應器(5)分成厭氧區(24)和好氧區(25)的生物過濾膜(23),所述厭氧區(24)內安裝有第一導流板(26),所述好氧區(25)內安裝有第二導流板(27),所述第三密封蓋(16)內轉動連接有往所述厭氧區(24)內延伸的第二轉動軸(28),所述第二轉動軸(28)外側安裝有螺旋葉片(29),所述第二轉動軸(28)上端依次安裝有第二聯軸器(30)和第二電機(31),所述第二電機(31)和第三密封蓋(16)之間固定連接有前后端對稱分布的加固桿(32),所述好氧區(25)內底部上端安裝有第三曝氣管(33)。
2.根據權利要求1所述的一種低碳節能一體化脫氮除磷反應器,其特征在于,所述第一供液組件(2)和第二供液組件(4)均包括供液泵(401)、安裝在所述供液泵(401)進口端的第一連接管(402)、安裝在所述供液泵(401)出口端的第二連接管(403)。
3.根據權利要求1所述的一種低碳節能一體化脫氮除磷反應器,其特征在于,所述第一排污組件(6)、第二排污組件(7)和第三排污組件(8)均包括排污泵(801)、安裝在所述排污泵(801)出口端的第三連接管(802)、安裝在所述排污泵(801)進口端的第四連接管(803)。
4.根據權利要求1所述的一種低碳節能一體化脫氮除磷反應器,其特征在于,所述攪拌組件(22)包括第一攪拌軸(221)和固定連接在所述序批式懸浮污泥主反應器(3)右端的電機固定板(222)、安裝在所述電機固定板(222)上端的第一電機(223)、安裝在所述第一電機(223)和第一攪拌軸(221)之間的第一聯軸器(224)、設置在所述第一攪拌軸(221)外側的攪拌葉片(225)。
5.根據權利要求1所述的一種低碳節能一體化脫氮除磷反應器,其特征在于,所述沉淀隔板(10)右端固定連接有與所述排水槽(12)相貫通的排水管(34),且排水管(34)穿過所述厭氧生物選擇器(1)向外延伸,所述第一曝氣管(14)下端固定連接有等距分布的第一曝氣嘴(35)。
6.根據權利要求1所述的一種低碳節能一體化脫氮除磷反應器,其特征在于,所述第一密封蓋(9)上端設置有氣體出口(36),所述厭氧生物選擇器(1)左端從上往下依次設置有第一壓縮空氣進口(37)、污泥回流口(38)和第一進水口(39)。
7.根據權利要求1所述的一種低碳節能一體化脫氮除磷反應器,其特征在于,所述進水布水器(13)上端開設有等距分布的第一進水孔(40),所述第二密封蓋(15)上端設置有硝化液進口(41),所述序批式懸浮污泥主反應器(3)左端從上往下依次設置有第二進水口(42)和第二壓縮空氣進口(43)。
8.根據權利要求1所述的一種低碳節能一體化脫氮除磷反應器,其特征在于,所述序批式懸浮污泥主反應器(3)前端設置有第一出水口(44),所述第二曝氣管(21)上端固定連接有等距分布的第二曝氣嘴(45),所述第三密封蓋(16)上端設置有上清液進口(46),所述生物膜硝化反應器(5)前端設置有第二出水口(47),所述第三曝氣管(33)上端固定連接有等距分布的第三曝氣嘴(48)。
發明內容
(1)要解決的技術問題
針對現有技術的不足,本發明的目的在于提供一種低碳節能一體化脫氮除磷反應器,該反應器旨在解決現有技術下會消耗更多的能源,不夠低碳節能,通過化學輔助的方式除磷,會造成排放水中含有化學殘留的技術問題。
(2)技術方案
為了解決上述技術問題,本發明提供了這樣一種低碳節能一體化脫氮除磷反應器,該反應器包括厭氧生物選擇器、依次設置在所述厭氧生物選擇器右側相互連接的第一供液組件、序批式懸浮污泥主反應器、第二供液組件和生物膜硝化反應器;其中,所述厭氧生物選擇器下端安裝有第一排污組件,所述序批式懸浮污泥主反應器下端固定連接有第二排污組件,所述生物膜硝化反應器下端固定連接有第三排污組件,所述厭氧生物選擇器上端固定連接有可拆卸的第一密封蓋,所述厭氧生物選擇器前后兩端內壁之間從上往下依次固定連接有沉淀隔板和三相分離器,所述沉淀隔板和另一沉淀隔板之間固定連接有排水槽,所述厭氧生物選擇器內下側安裝有進水布水器,所述厭氧生物選擇器內上側安裝有第一曝氣管,所述序批式懸浮污泥主反應器上端固定連接有可拆卸的第二密封蓋,所述生物膜硝化反應器上端固定連接有可拆卸的第三密封蓋,所述序批式懸浮污泥主反應器內固定連接有將所述序批式懸浮污泥主反應器分成預反應區和主反應區的第一分隔板,所述主反應區內上側安裝有涉水器,所述序批式懸浮污泥主反應器內底部上端安裝有第二曝氣管,所述主反應區內安裝有攪拌組件,所述生物膜硝化反應器內安裝有將所述生物膜硝化反應器分成厭氧區和好氧區的生物過濾膜,所述厭氧區內安裝有第一導流板,所述好氧區內安裝有第二導流板,所述第三密封蓋內轉動連接有往所述厭氧區內延伸的第二轉動軸,所述第二轉動軸外側安裝有螺旋葉片,所述第二轉動軸上端依次安裝有第二聯軸器和第二電機,所述第二電機和第三密封蓋之間固定連接有前后端對稱分布的加固桿,所述好氧區內底部上端安裝有第三曝氣管。
使用本技術方案的反應器時,沉淀池的回流污泥送入厭氧生物選擇器內,污水通過進水布水器送入厭氧生物選擇器內,污水和回流污泥在厭氧生物選擇器內混合接觸,借助高負荷梯度產生的“選擇壓力”篩選出具有良好絮凝性的細菌,并使聚磷菌厭氧釋磷,壓縮空氣通過第一曝氣管進入厭氧生物選擇器內,與污水混合,污水經過三相分離器在沉淀隔板和另一沉淀隔板之間沉淀,隨著水位的上升,處理后的污水進入排水槽內,通過第一排污組件排出部分污泥,然后由第一供液組件抽出送入序批式懸浮污泥主反應器內第一分隔板左側的預反應區,進行流入工序,第二曝氣管往序批式懸浮污泥主反應器內通入壓縮空氣,對污水預處理,預處理后的污水進入主反應區,往序批式懸浮污泥主反應器內加入硝化液,啟動攪拌組件緩速攪拌,有利于脫氮、釋放磷,然后進入反應工序,第二曝氣管曝氣,去除BOD、硝化、磷的吸收、反硝化,然后進入沉淀工序,停止曝氣和攪拌,靜止沉淀,沉淀時間不少于1.5h,然后進入排放工序,排放上清液,通過第二排污組件排出部分污泥,水排放后,序批式懸浮污泥主反應器進入待機工序,等待下一個周期的操作,通過第二供液組件將污水送入生物膜硝化反應器內,經過厭氧區,第二電機啟動,帶動第二聯軸器和第二轉動軸旋轉,第二轉動軸外側的螺旋葉片同步旋轉,使污水提升,然后經過生物過濾膜送入好氧區內,第三曝氣管曝氣處理,最后處理后的水排出。
進一步地,所述第一供液組件和第二供液組件均包括供液泵、安裝在所述供液泵進口端的第一連接管、安裝在所述供液泵出口端的第二連接管。
進一步地,所述第一排污組件、第二排污組件和第三排污組件均包括排污泵、安裝在所述排污泵出口端的第三連接管、安裝在所述排污泵進口端的第四連接管。
進一步地,所述攪拌組件包括第一攪拌軸和固定連接在所述序批式懸浮污泥主反應器右端的電機固定板、安裝在所述電機固定板上端的第一電機、安裝在所述第一電機和第一攪拌軸之間的第一聯軸器、設置在所述第一攪拌軸外側的攪拌葉片。
進一步地,所述沉淀隔板右端固定連接有與所述排水槽相貫通的排水管,且排水管穿過所述厭氧生物選擇器向外延伸,所述第一曝氣管下端固定連接有等距分布的第一曝氣嘴。
進一步地,所述第一密封蓋上端設置有氣體出口,所述厭氧生物選擇器左端從上往下依次設置有第一壓縮空氣進口、污泥回流口和第一進水口。
進一步地,所述進水布水器上端開設有等距分布的第一進水孔,所述第二密封蓋上端設置有硝化液進口,所述序批式懸浮污泥主反應器左端從上往下依次設置有第二進水口和第二壓縮空氣進口。
進一步地,所述序批式懸浮污泥主反應器前端設置有第一出水口,所述第二曝氣管上端固定連接有等距分布的第二曝氣嘴,所述第三密封蓋上端設置有上清液進口,所述生物膜硝化反應器前端設置有第二出水口,所述第三曝氣管上端固定連接有等距分布的第三曝氣嘴。
(3)有益效果
與現有技術相比,本發明的有益效果在于:本發明的反應器利用減少裝置的數量,從而有效降低反應器的能耗,更加低碳節能,序批式懸浮污泥主反應器包括流入、反應、沉淀、排放和待機五個工序,在一個運行周期中,各階段的運行時間、序批式懸浮污泥主反應器內混合液體積的變化及運行狀態等,均可根據污水性質、出水水質要求及運行功能要求等靈活掌握,通過回流污泥,借助高負荷梯度產生的壓力,篩選出具有良好絮凝性的細菌,并使聚磷菌厭氧釋磷,不需要化學輔助的方式除磷,排放水中無化學殘留,更加安全。
(發明人:丁志偉))






