公布日:2023.01.31
申請日:2022.09.20
分類號:C02F11/13(2019.01)I
摘要
本發明涉及污泥處理裝置領域,具體為一種污泥干化裝置及其使用方法,其包括底板、轉筒、導料板、支撐板c、加熱筒、支撐桿和螺旋送料板;底板上設置兩組支撐板a;轉筒與支撐板a轉動連接,轉筒左側封閉且設置進料口,底板上設置有對轉筒加熱的加熱組件a;導料板傾斜設置在底板;支撐板c設置在底板上,支撐板c左側面水平且轉動設置筒體a,筒體a左端設置筒體b;加熱筒通過支撐桿與支撐板c連接,加熱筒外壁與筒體b內壁貼合,支撐板c上設置有對加熱筒內的導熱液體加熱的加熱組件b;螺旋送料板設置在筒體b上。本發明中,熱介質眾多,且轉筒和螺旋送料板還會轉動,提高了污泥與熱介質的接觸面積,提高了污泥的干化效率和干化效果。

權利要求書
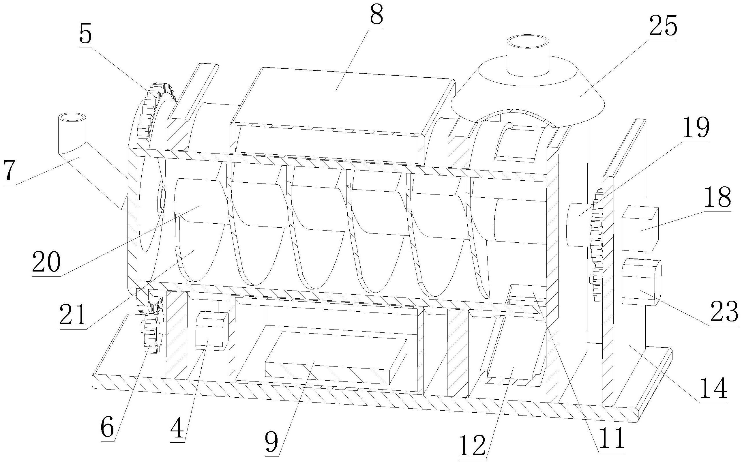
1.一種污泥干化裝置,其特征在于,包括底板(1)、轉筒(3)、導料板(12)、支撐板b(13)、支撐板c(14)、加熱筒(15)、支撐桿(17)和螺旋送料板(21);底板(1)上豎直設置兩組支撐板a(2);轉筒(3)穿過兩組支撐板a(2),轉筒(3)與支撐板a(2)轉動連接,轉筒(3)左側封閉且設置進料口,轉筒(3)右側頂部和底部分別設置條形槽a(10)和條形槽b(11),支撐板a(2)上設置有帶動轉筒(3)轉動的動力組件a,底板(1)上設置有對轉筒(3)加熱的加熱組件a,加熱組件a位于兩組支撐板a(2)之間;導料板(12)傾斜設置在底板(1),導料板(12)位于條形槽b(11)下方;支撐板b(13)設置在底板(1)上且位于支撐板a(2)和支撐板c(14)之間,轉筒(3)與支撐板b(13)接觸;支撐板c(14)設置在底板(1)上,支撐板c(14)左側面水平且轉動設置筒體a(19),筒體a(19)左端同軸設置筒體b(20),筒體b(20)位于轉筒(3)內,支撐板c(14)上設置有帶動筒體a(19)轉動的動力組件b;加熱筒(15)通過支撐桿(17)與支撐板c(14)連接,加熱筒(15)和支撐桿(17)均位于筒體a(19)內,加熱筒(15)外壁與筒體b(20)內壁貼合,加熱筒(15)兩端封閉且內部含有導熱液體,支撐板c(14)上設置有對加熱筒(15)內的導熱液體加熱的加熱組件b;螺旋送料板(21)設置在筒體b(20)上,螺旋送料板(21)位于轉筒(3)內。
2.根據權利要求1所述的污泥干化裝置,其特征在于,動力組件a包括電機a(4)、環形齒圈a(5)和齒輪a(6);環形齒圈a(5)設置在轉筒(3)外周壁上,環形齒圈a(5)位于支撐板a(2)左側;電機a(4)設置在支撐板a(2)上;齒輪a(6)設置在電機a(4)的輸出軸上,齒輪a(6)與環形齒圈a(5)嚙合。
3.根據權利要求1所述的污泥干化裝置,其特征在于,加熱組件a包括加熱箱(8)和加熱裝置(9);加熱箱(8)設置在底板(1)上,加熱箱(8)位于兩組支撐板a(2)之間,加熱箱(8)上貫穿設置導熱筒,轉筒(3)穿過導熱筒,轉筒(3)外壁與導熱筒內壁貼合,加熱箱(8)內含有導熱液體,加熱裝置(9)設置在加熱箱(8)底部內壁上。
4.根據權利要求1所述的污泥干化裝置,其特征在于,動力組件b包括環形齒圈b(22)、電機b(23)和齒輪b(24);環形齒圈b(22)設置在筒體a(19)外周壁上;電機b(23)設置在支撐板c(14)上;齒輪b(24)設置在電機b(23)的輸出軸上,齒輪b(24)與環形齒圈b(22)嚙合。
5.根據權利要求1所述的污泥干化裝置,其特征在于,筒體b(20)為熱的良導體,筒體a(19)為熱的不良導體。
6.根據權利要求1所述的污泥干化裝置,其特征在于,加熱組件b包括U型加熱管(16)和通電裝置(18);通電裝置(18)設置在支撐板c(14)上,通電裝置(18)與U型加熱管(16)電性連接,U型加熱管(16)伸入加熱筒(15)內。
7.根據權利要求1所述的污泥干化裝置,其特征在于,還包括進泥管(7)和風罩(25),進泥管(7)出料端插入穿過進料口伸入轉筒(3)內,風罩(25)位于條形槽a(10)正上方,風罩(25)與抽風裝置連接。
8.一種根據權利要求1所述的污泥干化裝置的使用方法,其特征在于,包括以下步驟:S1、啟動動力組件a、加熱組件a、動力組件b和加熱組件b;S2、污泥從進泥口進入轉筒(3)內,污泥與熱的轉筒(3)以及熱的筒體b(20)接觸,使其中的水分快速蒸發;S3、螺旋送料板(21)帶動污泥向右移動,最后干化的污泥從條形槽a(10)和條形槽b(11)排出落到導料板(12)上;S4、干化的污泥從導料板(12)滑落下去進行統一收集。
發明內容
本發明目的是針對背景技術中存在污泥與熱介質接觸面積小的問題,提出一種污泥干化裝置及其使用方法。
一方面,本發明提出一種污泥干化裝置,包括底板、轉筒、導料板、支撐板b、支撐板c、加熱筒、支撐桿和螺旋送料板;
底板上豎直設置兩組支撐板a;轉筒穿過兩組支撐板a,轉筒與支撐板a轉動連接,轉筒左側封閉且設置進料口,轉筒右側頂部和底部分別設置條形槽a和條形槽b,支撐板a上設置有帶動轉筒轉動的動力組件a,底板上設置有對轉筒加熱的加熱組件a,加熱組件a位于兩組支撐板a之間;導料板傾斜設置在底板,導料板位于條形槽b下方;
支撐板b設置在底板上且位于支撐板a和支撐板c之間,轉筒與支撐板b接觸;支撐板c設置在底板上,支撐板c左側面水平且轉動設置筒體a,筒體a左端同軸設置筒體b,筒體b位于轉筒內,支撐板c上設置有帶動筒體a轉動的動力組件b;加熱筒通過支撐桿與支撐板c連接,加熱筒和支撐桿均位于筒體a內,加熱筒外壁與筒體b內壁貼合,加熱筒兩端封閉且內部含有導熱液體,支撐板c上設置有對加熱筒內的導熱液體加熱的加熱組件b;螺旋送料板設置在筒體b上,螺旋送料板位于轉筒內。
優選的,動力組件a包括電機a、環形齒圈a和齒輪a;環形齒圈a設置在轉筒外周壁上,環形齒圈a位于支撐板a左側;電機a設置在支撐板a上;齒輪a設置在電機a的輸出軸上,齒輪a與環形齒圈a嚙合。
優選的,加熱組件a包括加熱箱和加熱裝置;加熱箱設置在底板上,加熱箱位于兩組支撐板a之間,加熱箱上貫穿設置導熱筒,轉筒穿過導熱筒,轉筒外壁與導熱筒內壁貼合,加熱箱內含有導熱液體,加熱裝置設置在加熱箱底部內壁上。
優選的,動力組件b包括環形齒圈b、電機b和齒輪b;環形齒圈b設置在筒體a外周壁上;電機b設置在支撐板c上;齒輪b設置在電機b的輸出軸上,齒輪b與環形齒圈b嚙合。
優選的,筒體b為熱的良導體,筒體a為熱的不良導體。
優選的,加熱組件b包括U型加熱管和通電裝置;通電裝置設置在支撐板c上,通電裝置與U型加熱管電性連接,U型加熱管伸入加熱筒內。
優選的,還包括進泥管和風罩,進泥管出料端插入穿過進料口伸入轉筒內,風罩位于條形槽a正上方,風罩與抽風裝置連接。
另一方面,本發明提出一種污泥干化裝置的使用方法,包括以下步驟:S1、啟動動力組件a、加熱組件a、動力組件b和加熱組件b;S2、污泥從進泥口進入轉筒內,污泥與熱的轉筒以及熱的筒體b接觸,使其中的水分快速蒸發;S3、螺旋送料板帶動污泥向右移動,最后干化的污泥從條形槽a和條形槽b排出落到導料板上;S4、干化的污泥從導料板滑落下去進行統一收集。
與現有技術相比,本發明具有如下有益的技術效果:熱介質包括轉筒、筒體b以及螺旋送料板,且轉筒和螺旋送料板還在不停轉動,大大提高了污泥與熱介質的接觸面積,提高了污泥的干化效率和干化效果。
(發明人:吳偉鋒;何輝;鄭湘蕓;楊之奐;曹祝軍;張麗)






