公布日:2023.11.07
申請日:2022.04.29
分類號:C02F3/00(2006.01)I;B01D29/11(2006.01)I
摘要
本發明公開了一種污水長用生化池布水分配裝置,屬于污水生化池布水分配技術領域,包括進水渠,所述進水渠內部兩側設置有配水槽,所述配水槽與進水渠之間設置有堰板,所述配水槽中設置有滑動閘板,所述進水渠上端兩側與滑動閘板對應的位置設置有固定座,兩個所述固定座之間設置有螺桿,所述配水槽的兩端設置有閘門,本發明通過在進水渠內部設置緩沖板,水流通過進水渠一端進入進水渠中,當水流接觸到緩沖板時,擋水板對水流撞擊緩沖板飛濺的水漬進行阻擋,同時直角桿在擋水板中滑動,彈簧受到壓縮,利用彈簧的伸縮性可對水流的沖擊力起到緩沖減小作用,避免水流撞擊進水渠內壁沖擊力過大,水流飛濺出進水渠。

權利要求書
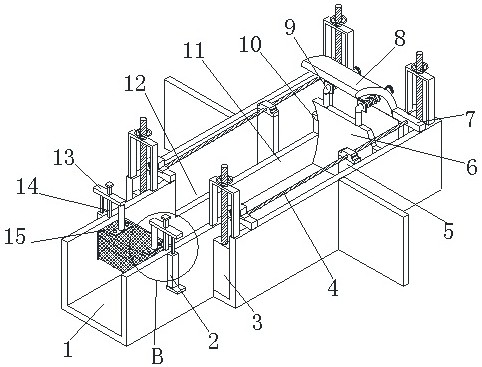
1.一種污水長用生化池布水分配裝置,包括進水渠(1),其特征在于:所述進水渠(1)內部兩側設置有配水槽(12),所述配水槽(12)與進水渠(1)之間設置有堰板(11),所述配水槽(12)中設置有滑動閘板(5),所述進水渠(1)上端兩側與滑動閘板(5)對應的位置設置有固定座(7),兩個所述固定座(7)之間設置有螺桿(4),所述配水槽(12)的兩端設置有閘門(3),所述閘門(3)的上側設置有驅動機構(22),所述進水渠(1)內部一側設置有緩沖板(6),所述進水渠(1)上端靠近緩沖板(6)的一端設置有擋水板(8),所述擋水板(8)與緩沖板(6)之間兩側設置有直角桿(9),所述直角桿(9)表面靠近緩沖板(6)的一側設置有固定板(24),所述固定板(24)與擋水板(8)之間直角桿(9)的表面嵌套設置有彈簧(25)。
2.根據權利要求1所述的一種污水長用生化池布水分配裝置,其特征在于:所述直角桿(9)與擋水板(8)之間設置有橡膠圈(19),所述緩沖板(6)兩端與堰板(11)對應的位置設置有延伸板(10)。
3.根據權利要求2所述的一種污水長用生化池布水分配裝置,其特征在于:所述直角桿(9)設置為不銹鋼結構,所述橡膠圈(19)與擋水板(8)之間通過膠水黏合連接,所述緩沖板(6)與進水渠(1)之間、延伸板(10)與堰板(11)以及直角桿(9)與橡膠圈(19)之間均為滑動連接。
4.根據權利要求2所述的一種污水長用生化池布水分配裝置,其特征在于:所述延伸板(10)與緩沖板(6)為焊接一體式結構,且延伸板(10)和緩沖板(6)均設置為碳鋼結構,所述直角桿(9)與緩沖板(6)之間通過點焊焊接。
5.根據權利要求1所述的一種污水長用生化池布水分配裝置,其特征在于:所述進水渠(1)內部遠離緩沖板(6)的一側設置有蜂窩盒(15),所述蜂窩盒(15)靠近緩沖板(6)的一端設置有蜂窩板(23),所述蜂窩盒(15)另一端設置有進污口(21)。
6.根據權利要求5所述的一種污水長用生化池布水分配裝置,其特征在于:所述進水渠(1)兩端與蜂窩盒(15)對應的位置設置有電動推桿(2),所述電動推桿(2)的輸出端設置有移動板(13),所述進水渠(1)上端與移動板(13)對應的位置設置有固定桿(14),所述移動板(13)與蜂窩盒(15)之間通過連接柱(20)連接。
7.根據權利要求5所述的一種污水長用生化池布水分配裝置,其特征在于:所述蜂窩板(23)與蜂窩盒(15)之間以及連接柱(20)與蜂窩盒(15)之間均通過螺栓連接,所述蜂窩盒(15)的寬度大小與進水渠(1)內部寬度大小相同。
8.根據權利要求1所述的一種污水長用生化池布水分配裝置,其特征在于:一側所述固定座(7)上端與螺桿(4)對應的位置設置有電機(17),所述電機(17)輸出端設置有主齒輪(16),所述螺桿(4)一端通過壓力焊焊接設置有與主齒輪(16)對應的副齒輪(18)。
發明內容
為解決上述背景技術中提出的問題,本發明提供了一種污水長用生化池布水分配裝置,具有對水流可緩沖,水不易飛濺出進水渠的特點。
為實現上述目的,本發明提供如下技術方案:一種污水長用生化池布水分配裝置,包括進水渠,所述進水渠內部兩側設置有配水槽,所述配水槽與進水渠之間設置有堰板,所述配水槽中設置有滑動閘板,所述進水渠上端兩側與滑動閘板對應的位置設置有固定座,兩個所述固定座之間設置有螺桿,所述配水槽的兩端設置有閘門,所述閘門的上側設置有驅動機構,所述進水渠內部一側設置有緩沖板,所述進水渠上端靠近緩沖板的一端設置有擋水板,所述擋水板與緩沖板之間兩側設置有直角桿,所述直角桿表面靠近緩沖板的一側設置有固定板,所述固定板與擋水板之間直角桿的表面嵌套設置有彈簧。
進一步的,所述直角桿與擋水板之間設置有橡膠圈,所述緩沖板兩端與堰板對應的位置設置有延伸板。
進一步的,所述直角桿設置為不銹鋼結構,所述橡膠圈與擋水板之間通過膠水黏合連接,所述緩沖板與進水渠之間、延伸板與堰板以及直角桿與橡膠圈之間均為滑動連接。
進一步的,所述延伸板與緩沖板為焊接一體式結構,且延伸板和緩沖板均設置為碳鋼結構,所述直角桿與緩沖板之間通過點焊焊接。
進一步的,所述進水渠內部遠離緩沖板的一側設置有蜂窩盒,所述蜂窩盒靠近緩沖板的一端設置有蜂窩板,所述蜂窩盒另一端設置有進污口。
進一步的,所述進水渠兩端與蜂窩盒對應的位置設置有電動推桿,所述電動推桿的輸出端設置有移動板,所述進水渠上端與移動板對應的位置設置有固定桿,所述移動板與蜂窩盒之間通過連接柱連接。
進一步的,所述蜂窩板與蜂窩盒之間以及連接柱與蜂窩盒之間均通過螺栓連接,所述蜂窩盒的寬度大小與進水渠內部寬度大小相同。
進一步的,一側所述固定座上端與螺桿對應的位置設置有電機,所述電機輸出端設置有主齒輪,所述螺桿一端通過壓力焊焊接設置有與主齒輪對應的副齒輪。
與現有技術相比,本發明的有益效果是:1、本發明通過在進水渠內部設置緩沖板,水流通過進水渠一端進入進水渠中,當水流接觸到緩沖板時,擋水板對水流撞擊緩沖板飛濺的水漬進行阻擋,同時直角桿在擋水板中滑動,彈簧受到壓縮,利用彈簧的伸縮性可對水流的沖擊力起到緩沖減小作用,避免水流撞擊進水渠內壁沖擊力過大,水流飛濺出進水渠。
2、本發明通過在進水渠內部一側設置蜂窩盒,水流表面的漂浮物等雜質可通過進污口進入蜂窩盒中,漂浮物留在蜂窩盒中,水通過蜂窩盒和蜂窩板上的通過流出,從而達到對水流表面漂浮物進行清理的效果,同時可通過開啟電動推桿推動移動板在固定桿上移動,移動板通過連接柱帶動蜂窩盒調節到不同高度,從而使蜂窩盒適應不同水位高度進行漂浮物清理工作。
3、本發明通過在螺桿一端設置副齒輪,通過電機驅動主齒輪轉動,主齒輪可通過副齒輪帶動螺桿轉動,螺桿轉動可驅動滑動閘板在配水槽中移動,從而實現對水流進行分配的效果,通過在電機輸出端設置主齒輪,同時主齒輪通過副齒輪帶動螺桿轉動更加穩定,且長時間使用不易損壞,提高裝置使用壽命。
(發明人:霍述國)






