公布日:2023.01.31
申請日:2022.10.17
分類號:C02F11/131(2019.01)I;B01F35/32(2022.01)I;B01F27/70(2022.01)I;B01D5/00(2006.01)I;B01D29/03(2006.01)I;F24C7/02(2006.01)I
摘要
本發明公開了一種污泥加熱處理用微波加熱爐,包括加熱爐,所述加熱爐的表面設置有擋料機構,所述加熱爐的內側底部設置有微波加熱器,所述加熱爐的內側底部鉸接安裝有存料槽,所述加熱爐的內側底部轉動安裝有液壓桿,所述液壓桿的自由端與存料槽的表面呈轉動連接設置,所述加熱爐的內部設置有移動機構。通過雙軸電機帶動轉動輥以及攪拌桿轉動,從而對存料槽內污泥進行攪拌,使得微波加熱過程中水蒸氣散發更加快速徹底,通過增壓器和冷凝器對冷凝管內的冷卻劑進行加壓冷凝,冷卻劑蒸發吸熱對出氣管內的排出氣體進行降溫,水分冷凝流至收液槽內,并由排液管排出至相應的回收設備內,避免氣體內物質污染環境,通過濾板過濾排出氣體中殘留有害物質。

權利要求書
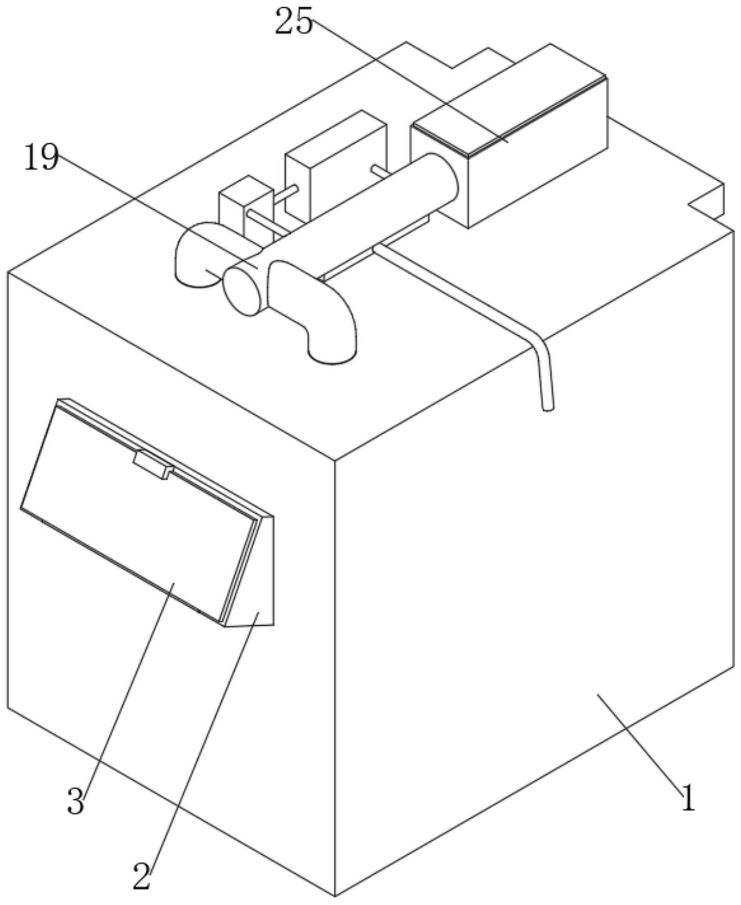
1.一種污泥加熱處理用微波加熱爐,包括加熱爐(1),其特征在于,所述加熱爐(1)的表面設置有擋料機構,所述加熱爐(1)的內側底部設置有微波加熱器(7),所述加熱爐(1)的內側底部鉸接安裝有存料槽(8),所述加熱爐(1)的內側底部轉動安裝有液壓桿(9),所述液壓桿(9)的自由端與存料槽(8)的表面呈轉動連接設置,所述加熱爐(1)的內部設置有移動機構,所述移動機構的輸出端設置有攪拌機構,所述加熱爐(1)的頂部設置有冷卻機構和凈化機構。
2.根據權利要求1所述的一種污泥加熱處理用微波加熱爐,其特征在于,所述加熱爐(1)的一側壁固定安裝有進料管(2),所述進料管(2)的進口處鉸接安裝有管蓋(3),所述進料管(2)呈一定傾斜角度設置,且進料管(2)位于存料槽(8)的上方。
3.根據權利要求1所述的一種污泥加熱處理用微波加熱爐,其特征在于,所述擋料機構包括上擋板(4)、下擋板(5)、第一電動推桿(6),所述加熱爐(1)的另一側壁固定安裝有上擋板(4),所述上擋板(4)的表面套設安裝有下擋板(5),所述下擋板(5)與存料槽(8)呈貼合設置,所述加熱爐(1)的表面固定安裝有第一電動推桿(6),所述第一電動推桿(6)的自由端通過連接板與下擋板(5)呈固定連接設置。
4.根據權利要求1所述的一種污泥加熱處理用微波加熱爐,其特征在于,所述移動機構包括滑套(10)、電機(11)、螺紋桿(12)、滑塊(13)、第二電動推桿(14),所述加熱爐(1)的內側頂部固定安裝有滑套(10),所述滑套(10)的表面固定安裝有電機(11),所述電機(11)的輸出端固定連接有螺紋桿(12),所述螺紋桿(12)的表面螺紋安裝有滑塊(13),所述滑塊(13)與滑套(10)的內壁呈貼合設置,所述滑塊(13)的底部固定安裝有第二電動推桿(14)。
5.根據權利要求4所述的一種污泥加熱處理用微波加熱爐,其特征在于,所述攪拌機構包括電機箱(15)、雙軸電機(16)、轉動輥(17)、攪拌桿(18),所述第二電動推桿(14)的自由端固定安裝有電機箱(15),所述電機箱(15)的內部固定安裝有雙軸電機(16),所述雙軸電機(16)的輸出端固定連接有轉動輥(17),所述轉動輥(17)的表面固定安裝有攪拌桿(18)。
6.根據權利要求5所述的一種污泥加熱處理用微波加熱爐,其特征在于,所述攪拌桿(18)的數量為多組,且多組攪拌桿(18)呈圓形陣列排布設置。
7.根據權利要求1所述的一種污泥加熱處理用微波加熱爐,其特征在于,所述冷卻機構包括出氣管(19)、冷凝管(20)、增壓器(21)、冷凝器(22)、收液槽(23)、排液管(24),所述加熱爐(1)的頂部固定安裝有出氣管(19),所述出氣管(19)的內部設置有冷凝管(20),所述冷凝管(20)貫穿出氣管(19)并設置有增壓器(21)和冷凝器(22),所述冷凝管(20)在出氣管(19)內的部分呈螺旋狀設置,所述出氣管(19)的底部開設有收液槽(23),所述收液槽(23)的表面固定安裝有排液管(24)。
8.根據權利要求7所述的一種污泥加熱處理用微波加熱爐,其特征在于,所述凈化機構包括凈化箱(25)、濾板(26)、風機(27),所述出氣管(19)的自由端固定安裝有凈化箱(25),所述凈化箱(25)的內部鑲嵌安裝有濾板(26),所述凈化箱(25)的內部固定安裝有風機(27),所述濾板(26)和風機(27)的數量均為多組,且呈等距排布設置。
發明內容
針對現有技術的不足,本發明提供了一種污泥加熱處理用微波加熱爐,解決了現有的微波加熱爐對污泥內部水分去除不徹底,且氣體未處理排放造成污染的問題。
為了實現上述目的,本發明采用了如下技術方案:一種污泥加熱處理用微波加熱爐,包括加熱爐,所述加熱爐的表面設置有擋料機構,所述加熱爐的內側底部設置有微波加熱器,所述加熱爐的內側底部鉸接安裝有存料槽,所述加熱爐的內側底部轉動安裝有液壓桿,所述液壓桿的自由端與存料槽的表面呈轉動連接設置,所述加熱爐的內部設置有移動機構,所述移動機構的輸出端設置有攪拌機構,所述加熱爐的頂部設置有冷卻機構和凈化機構。
優選的,所述加熱爐的一側壁固定安裝有進料管,所述進料管的進口處鉸接安裝有管蓋,所述進料管呈一定傾斜角度設置,且進料管位于存料槽的上方,使得污泥能夠快速倒料至存料槽的內部。
優選的,所述擋料機構包括上擋板、下擋板、第一電動推桿,所述加熱爐的另一側壁固定安裝有上擋板,所述上擋板的表面套設安裝有下擋板,所述下擋板與存料槽呈貼合設置,防止污泥泄漏,所述加熱爐的表面固定安裝有第一電動推桿,所述第一電動推桿的自由端通過連接板與下擋板呈固定連接設置,便于控制加熱爐的出料口開合,進行脫水污泥的快速出料。
優選的,所述移動機構包括滑套、電機、螺紋桿、滑塊、第二電動推桿,所述加熱爐的內側頂部固定安裝有滑套,所述滑套的表面固定安裝有電機,所述電機的輸出端固定連接有螺紋桿,所述螺紋桿的表面螺紋安裝有滑塊,所述滑塊與滑套的內壁呈貼合設置,所述滑塊的底部固定安裝有第二電動推桿。
優選的,所述攪拌機構包括電機箱、雙軸電機、轉動輥、攪拌桿,所述第二電動推桿的自由端固定安裝有電機箱,所述電機箱的內部固定安裝有雙軸電機,所述雙軸電機的輸出端固定連接有轉動輥,所述轉動輥的表面固定安裝有攪拌桿。
優選的,所述攪拌桿的數量為多組,且多組攪拌桿呈圓形陣列排布設置,使得攪拌桿對污泥進行有效的攪拌,加快水分的排出。
優選的,所述冷卻機構包括出氣管、冷凝管、增壓器、冷凝器、收液槽、排液管,所述加熱爐的頂部固定安裝有出氣管,所述出氣管的內部設置有冷凝管,所述冷凝管貫穿出氣管并設置有增壓器和冷凝器,所述冷凝管在出氣管內的部分呈螺旋狀設置,使得排出氣體與冷凝管充分接觸,所述出氣管的底部開設有收液槽,所述收液槽的表面固定安裝有排液管。
優選的,所述凈化機構包括凈化箱、濾板、風機,所述出氣管的自由端固定安裝有凈化箱,所述凈化箱的內部鑲嵌安裝有濾板,所述凈化箱的內部固定安裝有風機,所述濾板和風機的數量均為多組,且呈等距排布設置,保證氣體的過濾充分,且氣體能夠快速被抽離加熱爐。
與現有技術相比,本發明的有益效果是:該污泥加熱處理用微波加熱爐,通過第一電動推桿帶動下擋板在上擋板表面滑動,從而控制污泥的出料,通過微波加熱器對存料槽內污泥進行微波加熱,使電能轉化為微波能,微波能轉移到污泥內部,轉變為熱能使水分蒸發,通過液壓桿推動存料槽轉動,從而便于對干燥后污泥進行出料,通過電機帶動螺紋桿轉動,螺紋桿帶動滑塊在滑套內部滑動,并通過第二電動推桿帶動電機箱上下移動,從而控制攪拌機構在存料槽內移動,通過雙軸電機帶動轉動輥以及攪拌桿轉動,從而對存料槽內污泥進行攪拌,使得微波加熱過程中水蒸氣散發更加快速徹底,通過增壓器和冷凝器對冷凝管內的冷卻劑進行加壓冷凝,冷卻劑蒸發吸熱對出氣管內的排出氣體進行降溫,水分冷凝流至收液槽內,并由排液管排出至相應的回收設備內,避免氣體內物質污染環境,通過濾板過濾排出氣體中的殘留有害物質,并通過風機提高氣體流通速率。
(發明人:高理中;陳小軍)






