公布日:2023.11.24
申請日:2023.09.27
分類號:B01D29/03(2006.01)I;C02F1/40(2023.01)I;B01D29/64(2006.01)I
摘要
本發明公開了一種新型油污水泥分離處理設備及處理方法,涉及水、廢水、污水或污泥的處理C02F技術領域,為解決現有的裝置或設備均無法對新型油污水泥分離處理的較為完善,雜質分離效果不佳的問題。所述過濾機構安裝在進料輸送管道的另一端,所述過濾機構的上方設置有連接件,所述連接件的上方設置有伺服電機,所述連接件的一側設置有第一連接管道,所述第一連接管道的一端設置有泵送設備,所述泵送設備的下端面設置有第一排渣管道,所述流送腔體安裝在所述過濾機構的內部,所述伺服電機的下端面設置有中心轉動桿,且中心轉動桿的上端面貫穿并延伸至伺服電機的內部,所述中心轉動桿外壁的一圈設置有旋轉葉片。

權利要求書
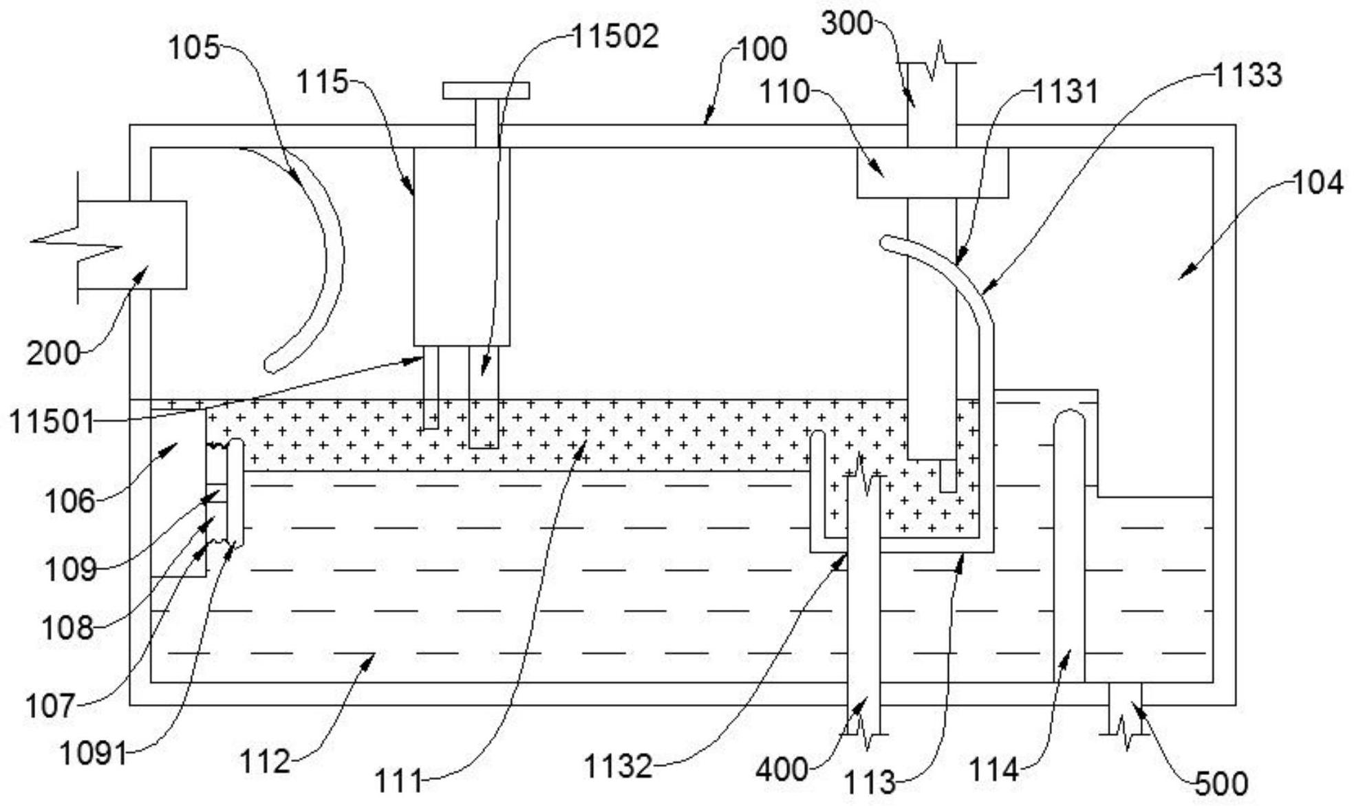
1.一種新型油污水泥分離處理設備,包括集油桶設備主體(100),所述集油桶設備主體(100)的一端設置有進料輸送管道(200),且進料輸送管道(200)一端貫穿并延伸至集油桶設備主體(100)的內部,所述集油桶設備主體(100)的上端設置有第三連接管道(300),且第三連接管道(300)的一端貫穿并延伸至集油桶設備主體(100)的內部,所述集油桶設備主體(100)下方的一側設置有第四連接管道(400),所述第四連接管道(400)的一側設置有第五連接管道(500),所述第五連接管道(500)和第四連接管道(400)的一端貫穿并延伸至集油桶設備主體(100)的內部;其特征在于,還包括:過濾機構(201),其安裝在進料輸送管道(200)的另一端,所述過濾機構(201)的上方設置有連接件(203),所述連接件(203)的上方設置有伺服電機(202),所述連接件(203)的一側設置有第一連接管道(204),所述第一連接管道(204)的一端設置有泵送設備(205),所述泵送設備(205)的下端面設置有第一排渣管道(206);流送腔體(210),其安裝在所述過濾機構(201)的內部,所述伺服電機(202)的下端面設置有中心轉動桿(2021),且中心轉動桿(2021)的上端面貫穿并延伸至伺服電機(202)的內部,所述中心轉動桿(2021)外壁的一圈設置有旋轉葉片(2022),且旋轉葉片(2022)與中心轉動桿(2021)外壁焊接連接,所述旋轉葉片(2022)外壁的兩側均設置有刮油片(20221),且刮油片(20221)與旋轉葉片(2022)外壁的兩側固定連接,所述進料輸送管道(200)的內部設置有過濾網罩(211),且過濾網罩(211)安裝在旋轉葉片(2022)的后方。檢測結構(115),其安裝在所述內腔體(104)內部的上方,所述檢測結構(115)下端面的一側設置有檢測探頭(11501),所述檢測結構(115)下端面的另一側設置有下料管(11502)。
2.根據權利要求1所述的一種新型油污水泥分離處理設備,其特征在于:所述第三連接管道(300)的另一端安裝有第二電控閥(301),所述第三連接管道(300)的內部設置有管道內腔(303),所述管道內腔(303)的內部設置有過濾環罩(305),所述過濾環罩(305)的一端設置有密封板(304),且過濾環罩(305)的一端密封板(304)內壁固定連接,所述密封板(304)可以帶動過濾環罩(305)抽拉式與第三連接管道(300)拆卸連接,所述第二電控閥(301)的一側設置有排氣管(302)。
3.根據權利要求2所述的一種新型油污水泥分離處理設備,其特征在于:所述第四連接管道(400)的另一端設置有第三電控閥(401),且第三電控閥(401)與第四連接管道(400)的另一端固定連接,所述第三電控閥(401)的一端設置有第二排渣管道(402)。
4.根據權利要求3所述的一種新型油污水泥分離處理設備,其特征在于:所述第五連接管道(500)的另一端設置有第四電控閥(501),且第五連接管道(500)的另一端與第四電控閥(501)固定連接,所述第四電控閥(501)的一端設置有排水管道(502)。
5.根據權利要求4所述的一種新型油污水泥分離處理設備,其特征在于:所述過濾機構(201)的一側設置有第二連接管道(207),所述第二連接管道(207)的一端設置有第一電控閥(208),所述第一電控閥(208)的一端設置有進料主管(209)。
6.根據權利要求5所述的一種新型油污水泥分離處理設備,其特征在于:所述集油桶設備主體(100)的內部設置有內腔體(104),所述內腔體(104)內部的一側設置有進口彎曲遮擋板(105),且進口彎曲遮擋板(105)的一端與集油桶設備主體(100)內壁的上方固定連接,所述內腔體(104)內部的下方設置有油層(111),所述油層(111)的下方設置有污水層(112),所述內腔體(104)內部的另一側設置有溢流隔板(114),且溢流隔板(114)的一端與集油桶設備主體(100)內壁的下方固定連接。
7.根據權利要求6所述的一種新型油污水泥分離處理設備,其特征在于:所述內腔體(104)的內部設置有分離遮擋機構(113),所述第四連接管道(400)的一端貫穿第二安裝孔槽(1132)延伸至分離遮擋機構(113)內部的位置,所述內腔體(104)內部的上方設置有捕霧器(110),且第三連接管道(300)與捕霧器(110)固定連接,所述分離遮擋機構(113)的上側設置有防濺擋板(1133),且防濺擋板(1133)與分離遮擋機構(113)一體式形成,所述捕霧器(110)的下端面通過第一安裝孔槽(1131)與防濺擋板(1133)固定連接。
8.根據權利要求7所述的一種新型油污水泥分離處理設備,其特征在于:所述進口彎曲遮擋板(105)的下方設置有驅動機構(106),所述驅動機構(106)與集油桶設備主體(100)內壁的一側固定連接,所述驅動機構(106)的一端設置有振動板(1091),所述振動板(1091)通過中心伸縮桿件(109)與驅動機構(106)伸縮連接,所述振動板(1091)一側的外圈通過軟體橡膠套(107)與驅動機構(106)熱熔連接,所述軟體橡膠套(107)內部設置有保護腔體(108),所述中心伸縮桿件(109)安裝在保護腔體(108)的內部。
9.根據權利要求8所述的一種新型油污水泥分離處理設備,其特征在于:所述集油桶設備主體(100)外壁的一端設置有加固鋼條(101),且加固鋼條(101)設置有兩個,兩個所述加固鋼條(101)均與集油桶設備主體(100)焊接連接,所述集油桶設備主體(100)外壁的另一端設置有凹槽(102),所述凹槽(102)的內部設置有觀察窗口(103),且觀察窗口(103)內嵌式與集油桶設備主體(100)固定連接。
10.一種新型油污水泥分離處理設備的使用方法,基于權利要求1-9任意一項用于新型油污水泥分離處理設備實現,其特征在于,包括以下步驟:步驟一:將進料主管(209)連接到外部的油污水排出設備上,通過設置的第一電控閥(208)控制開啟關閉的輸送,在通過第二連接管道(207)經過過濾機構(201)輸送到集油桶設備主體(100)內部的時候,開啟伺服電機(202)和泵送設備(205),伺服電機(202)通過中心轉動桿(2021)帶動旋轉葉片(2022)轉動,在油污水中,存在過多的雜質,由轉動的旋轉葉片(2022)帶動油污水中的雜質轉移,同時,設置在旋轉葉片(2022)后方的過濾網罩(211)也可將雜質進行攔截,再由旋轉葉片(2022)上的刮油片(20221)將過濾網罩(211)上的雜質刮下進行轉移;步驟二:在油污水輸送進入集油桶設備主體(100)的時候,內部設置的進口彎曲遮擋板(105)可以有效的將輸送的廢水進行阻隔,同時還可以將廢水有序的從進口彎曲遮擋板(105)上掉落在集油桶設備主體(100)內部的內腔體(104)中;步驟三:在油污水進入后,會隨著物質密度的不同,會分成油層(111)和污水層(112),時間較長之后,開啟驅動機構(106),讓中心伸縮桿件(109)帶動振動板(1091)將油層(111)定期攪動,避免油脂分子結合導致不易排出;100、集油桶設備主體;101、加固鋼條;102、凹槽;103、觀察窗口;104、內腔體;105、進口彎曲遮擋板;106、驅動機構;107、軟體橡膠套;108、保護腔體;109、中心伸縮桿件;1091、振動板;110、捕霧器;111、油層;112、污水層;113、分離遮擋機構;1131、第一安裝孔槽;1132、第二安裝孔槽;1133、防濺擋板;114、溢流隔板;115、檢測結構;11501、檢測探頭;11502、下料管;200、進料輸送管道;201、過濾機構;202、伺服電機;2021、中心轉動桿;2022、旋轉葉片;20221、刮油片;203、連接件;204、第一連接管道;205、泵送設備;206、第一排渣管道;207、第二連接管道;208、第一電控閥;209、進料主管;210、流送腔體;211、過濾網罩;300、第三連接管道;301、第二電控閥;302、排氣管;303、管道內腔;304、密封板;305、過濾環罩;400、第四連接管道;401、第三電控閥;402、第二排渣管道;500、第五連接管道;501、第四電控閥;502、排水管道。步驟四:油層(111)在集油桶設備主體(100)的內部形成后,由檢測結構(115)上的檢測探頭(11501)對形成的油層(111)進行稠度檢測,當油層(111)稠度高于額定值,可將檢測結構(115)內部的稀釋液通過下料管(11502)進行輸送,從而對油層(111)進行稀釋,讓油層(111)在輸送的時候,便于運行;步驟五:形成的油層(111)會通過設置的分離遮擋機構(113)將其進行阻隔,避免油層(111)與后端的污水層(112)混合,設置的第三連接管道(300)和捕霧器(110)可將油層(111)和內腔體(104)廢氣進行排出,而設置的第四連接管道(400)可將裝置內部的油層(111)進行抽出,同時分層的污水層(112)可通過溢流隔板(114)將其轉送到另一部專屬腔體,以及設置的第五連接管道(500)可將污水排出。
發明內容
本發明的目的在于提供一種新型油污水泥分離處理設備及處理方法,以解決上述背景技術中提出的現有的裝置或設備均無法對新型油污水泥分離處理的較為完善,雜質分離效果不佳的問題。
為實現上述目的,本發明提供如下技術方案:一種新型油污水泥分離處理設備,包括集油桶設備主體,所述集油桶設備主體的一端設置有進料輸送管道,且進料輸送管道一端貫穿并延伸至集油桶設備主體的內部,所述集油桶設備主體的上端設置有第三連接管道,且第三連接管道的一端貫穿并延伸至集油桶設備主體的內部,所述集油桶設備主體下方的一側設置有第四連接管道,所述第四連接管道的一側設置有第五連接管道,所述第五連接管道和第四連接管道的一端貫穿并延伸至集油桶設備主體的內部;
還包括:
過濾機構,其安裝在進料輸送管道的另一端,所述過濾機構的上方設置有連接件,所述連接件的上方設置有伺服電機,所述連接件的一側設置有第一連接管道,所述第一連接管道的一端設置有泵送設備,所述泵送設備的下端面設置有第一排渣管道;
流送腔體,其安裝在所述過濾機構的內部,所述伺服電機的下端面設置有中心轉動桿,且中心轉動桿的上端面貫穿并延伸至伺服電機的內部,所述中心轉動桿外壁的一圈設置有旋轉葉片,且旋轉葉片與中心轉動桿外壁焊接連接,所述旋轉葉片外壁的兩側均設置有刮油片,且刮油片與旋轉葉片外壁的兩側固定連接,所述進料輸送管道的內部設置有過濾網罩,且過濾網罩安裝在旋轉葉片的后方。
優選的,所述第三連接管道的另一端安裝有第二電控閥,所述第三連接管道的內部設置有管道內腔,所述管道內腔的內部設置有過濾環罩,所述過濾環罩的一端設置有密封板,且過濾環罩的一端密封板內壁固定連接,所述密封板可以帶動過濾環罩抽拉式與第三連接管道拆卸連接,所述第二電控閥的一側設置有排氣管,所述第四連接管道的另一端設置有第三電控閥,且第三電控閥與第四連接管道的另一端固定連接,所述第三電控閥的一端設置有第二排渣管道。
優選的,所述第五連接管道的另一端設置有第四電控閥,且第五連接管道的另一端與第四電控閥固定連接,所述第四電控閥的一端設置有排水管道,所述過濾機構的一側設置有第二連接管道,所述第二連接管道的一端設置有第一電控閥,所述第一電控閥的一端設置有進料主管,所述集油桶設備主體的內部設置有內腔體,所述內腔體內部的一側設置有進口彎曲遮擋板,且進口彎曲遮擋板的一端與集油桶設備主體內壁的上方固定連接,所述內腔體內部的下方設置有油層,所述油層的下方設置有污水層,所述內腔體內部的另一側設置有溢流隔板,且溢流隔板的一端與集油桶設備主體內壁的下方固定連接。
優選的,所述內腔體的內部設置有分離遮擋機構,所述第四連接管道的一端貫穿第二安裝孔槽延伸至分離遮擋機構內部的位置,所述內腔體內部的上方設置有捕霧器,且第三連接管道與捕霧器固定連接,所述分離遮擋機構的上側設置有防濺擋板,且防濺擋板與分離遮擋機構一體式形成,所述捕霧器的下端面通過第一安裝孔槽與防濺擋板固定連接。
優選的,所述進口彎曲遮擋板的下方設置有驅動機構,所述驅動機構與集油桶設備主體內壁的一側固定連接,所述驅動機構的一端設置有振動板,所述振動板通過中心伸縮桿件與驅動機構伸縮連接,所述振動板一側的外圈通過軟體橡膠套與驅動機構熱熔連接,所述軟體橡膠套內部設置有保護腔體,所述中心伸縮桿件安裝在保護腔體的內部。
優選的,所述集油桶設備主體外壁的一端設置有加固鋼條,且加固鋼條設置有兩個,兩個所述加固鋼條均與集油桶設備主體焊接連接,所述集油桶設備主體外壁的另一端設置有凹槽,所述凹槽的內部設置有觀察窗口,且觀察窗口內嵌式與集油桶設備主體固定連接。
優選的,一種新型油污水泥分離處理設備的使用方法,包括以下步驟:
步驟一:將進料主管連接到外部的油污水排出設備上,通過設置的第一電控閥控制開啟關閉的輸送,在通過第二連接管道經過過濾機構輸送到集油桶設備主體內部的時候,開啟伺服電機和泵送設備,伺服電機通過中心轉動桿帶動旋轉葉片轉動,在油污水中,存在過多的雜質,由轉動的旋轉葉片帶動油污水中的雜質轉移,同時,設置在旋轉葉片后方的過濾網罩也可將雜質進行攔截,再由旋轉葉片上的刮油片將過濾網罩上的雜質刮下進行轉移;
步驟二:在油污水輸送進入集油桶設備主體的時候,內部設置的進口彎曲遮擋板可以有效的將輸送的廢水進行阻隔,同時還可以將廢水有序的從進口彎曲遮擋板上掉落在集油桶設備主體內部的內腔體中;
步驟三:在油污水進入后,會隨著物質密度的不同,會分成油層和污水層,時間較長之后,開啟驅動機構,讓中心伸縮桿件帶動振動板將油層定期攪動,避免油脂分子結合導致不易排出;
步驟四:油層在集油桶設備主體的內部形成后,由檢測結構上的檢測探頭對形成的油層進行稠度檢測,當油層稠度高于額定值,可將檢測結構內部的稀釋液通過下料管進行輸送,從而對油層進行稀釋,讓油層在輸送的時候,便于運行;
步驟五:形成的油層會通過設置的分離遮擋機構將其進行阻隔,避免油層與后端的污水層混合,設置的第三連接管道和捕霧器可將油層和內腔體廢氣進行排出,而設置的第四連接管道可將裝置內部的油層進行抽出,同時分層的污水層可通過溢流隔板將其轉送到另一部專屬腔體,以及設置的第五連接管道可將污水排出。
與現有技術相比,本發明的有益效果是:
1、本發明通過在設置的過濾機構、伺服電機和泵送設備,以及在過濾機構內部設置的中心轉動桿、旋轉葉片、刮油片和過濾網罩,油污水經過過濾機構輸送到集油桶設備主體內部的時候,開啟伺服電機和泵送設備,伺服電機通過中心轉動桿帶動旋轉葉片轉動,在油污水中,存在過多的雜質,由轉動的旋轉葉片帶動油污水中的雜質轉移,同時,設置在旋轉葉片后方的過濾網罩也可將雜質進行攔截,再由旋轉葉片上的刮油片將過濾網罩上的雜質刮下進行轉移,避免上述裝置或設備均無法對新型油污水泥分離處理的較為完善,雜質分離效果不佳的問題。
2、通過在集油桶設備主體內部設置的驅動機構、軟體橡膠套、保護腔體、中心伸縮桿件和振動板,在油污水進入后,會隨著物質密度的不同,會分成油層和污水層,時間較長之后,開啟驅動機構,讓中心伸縮桿件帶動振動板將油層定期攪動,避免油脂分子結合導致不易排出。
3、通過在第三連接管道內部設置的過濾環罩,過濾環罩設置在第三連接管道的內部,可以有效的對廢氣過濾排出的管道提供保護,將管道內部的雜質進行剔除,同時還可以定期將過濾環罩抽出進行清理,避免雜質將過濾環罩孔槽堵塞,導致氣體無法流通。
4、通過設置的檢測結構、檢測探頭和下料管,由檢測結構上的檢測探頭對形成的油層進行稠度檢測,當油層稠度高于額定值,可將檢測結構內部的稀釋液通過下料管進行輸送,從而對油層進行稀釋,讓油層在輸送的時候,便于運行,防止在管道內堵塞。
(發明人:黃坤禮)






