公布日:2023.04.07
申請日:2021.08.04
分類號:C02F9/00(2023.01)I;C02F11/122(2019.01)I;C02F11/121(2019.01)I;C01C1/24(2006.01)I;C02F103/18(2006.01)N;C02F101/20(2006.01)N;C02F101/14(2006.01)N;
C02F1/52(2023.01)N;C02F1/56(2023.01)N;C02F1/44(2023.01)N;C02F5/08(2023.01)N;C02F1/04(2023.01)N;C02F1/72(2023.01)N
摘要
本發明提供一種活性焦或活性炭脫硫脫硝后富硫氣體廢水的凈化處理裝置及工藝,該裝置包括依次相連通的污泥濃縮單元、COD去除單元、離子去除單元、水體軟化單元、絮凝單元、膜過濾單元、蒸發結晶單元和除塵收集單元;各個單元依次用于去除富硫氣體廢水中的懸浮物并濃縮廢水;用于降低濃縮廢水的COD;用于去除濃縮廢水中的重金屬離子和氟離子;用于去除濃縮廢水中的鈣、鎂離子;用于去除濃縮廢水中產生的懸浮物;用于去除濃縮廢水中的細小懸浮物;用于析出副產品硫酸銨鹽類;用于收集副產品硫酸銨鹽類。采用該凈化處理裝置和方法,富硫氣體廢水在經過濃縮和蒸發結晶后,液相被完全除去,不產生多余廢水排放,且能夠獲得副產品硫酸銨鹽類。

權利要求書
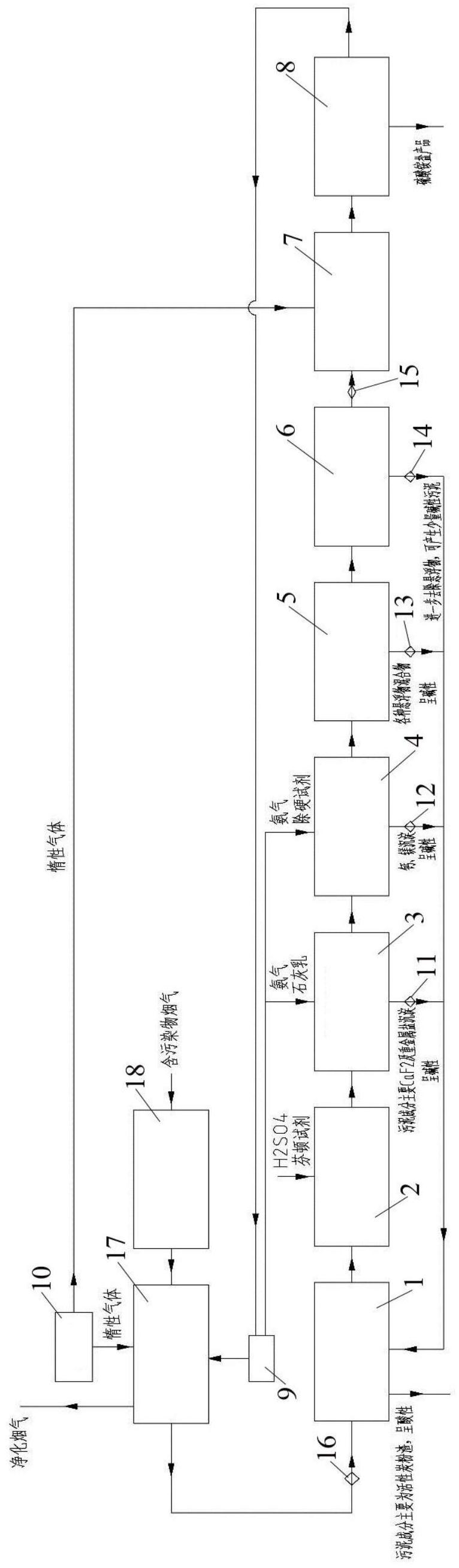
1.一種活性焦或活性炭脫硫脫硝后富硫氣體廢水的凈化處理裝置,該凈化處理裝置包括依次相連通的污泥濃縮單元、COD去除單元、離子去除單元、水體軟化單元、絮凝單元、膜過濾單元、蒸發結晶單元和除塵收集單元;所述污泥濃縮單元用于去除富硫氣體廢水中的懸浮物并濃縮廢水;所述COD去除單元用于降低濃縮廢水的COD;所述離子去除單元用于去除濃縮廢水中的重金屬離子和氟離子;所述水體軟化單元用于去除濃縮廢水中的鈣、鎂離子;所述絮凝單元用于去除濃縮廢水中產生的懸浮物;所述膜過濾單元用于去除濃縮廢水中的細小懸浮物;所述蒸發結晶單元用于析出副產品硫酸銨鹽類;所述除塵收集單元用于收集副產品硫酸銨鹽類。
2.根據權利要求1所述的凈化處理裝置,其中,所述污泥濃縮單元包括壓濾機和重力濃縮罐;所述重力濃縮罐與收集富硫氣體廢水的二氧化硫捕集噴淋塔相連通;所述壓濾機與COD去除單元相連通。
3.根據權利要求1所述的凈化處理裝置,其中,所述COD去除單元包括芬頓反應塔;所述芬頓反應塔分別與所述污泥濃縮單元、所述離子去除單元相連通。
4.根據權利要求1所述的凈化處理裝置,其中,所述離子去除單元包括重金屬離子和氟離子去除塔;所述重金屬離子和氟離子去除塔分別與所述COD去除單元、所述水體軟化單元相連通;優選地,所述離子去除單元還包括第一澄清塔;所述重金屬離子和氟離子去除塔、所述第一澄清塔和所述污泥濃縮單元依次相連通。
5.根據權利要求1所述的凈化處理裝置,其中,所述水體軟化單元包括水體軟化塔;所述水體軟化塔分別與所述離子去除單元、所述絮凝單元相連通;優選地,所述水體軟化單元還包括第二澄清塔;所述水體軟化塔、所述第二澄清塔和所述污泥濃縮單元依次相連通。
6.根據權利要求1所述的凈化處理裝置,其中,所述絮凝單元包括絮凝塔;所述絮凝塔分別與所述水體軟化單元、所述膜過濾單元相連通;優選地,所述絮凝單元還包括第三澄清塔;所述絮凝塔、所述第三澄清塔和所述污泥濃縮單元依次相連通。
7.根據權利要求1所述的凈化處理裝置,其中,所述膜過濾單元包括超濾膜過濾器;所述超濾膜過濾器分別與所述絮凝單元、所述膜過濾單元相連通;優選地,所述膜過濾單元還包括第四澄清塔;所述超濾膜過濾器、所述第四澄清塔和所述污泥濃縮單元依次相連通。
8.根據權利要求1所述的凈化處理裝置,其中,所述蒸發結晶單元包括蒸發結晶塔;所述蒸發結晶塔分別與所述膜過濾單元、所述除塵收集單元相連通;優選地,所述蒸發結晶單元還包括加熱爐,所述加熱爐與所述蒸發結晶塔相連通;優選地,所述蒸發結晶單元與所述膜過濾單元相連通的管路上設置有霧化裝置。
9.根據權利要求1所述的凈化處理裝置,其中,所述除塵收集單元包括除塵器;所述除塵器與所述蒸發結晶單元相連通。
10.根據權利要求1所述的凈化處理裝置,其中,該凈化處理裝置還包括氨站設備;所述氨站設備分別與所述離子去除單元、所述水體軟化單元和所述除塵收集單元相連通。
11.一種活性焦或活性炭脫硫脫硝后富硫氣體廢水的凈化處理方法,采用權利要求1~10任一項所述的凈化處理裝置,其包括以下步驟:來自二氧化硫捕集噴淋塔收集的富硫氣體廢水進入到污泥濃縮單元,經過污泥濃縮單元的重力濃縮和壓濾處理,去除富硫氣體廢水中的懸浮物并降低水占比,獲得濃縮廢水;經由污泥濃縮單元排出的濃縮廢水進入COD去除單元,調節pH值為酸性,并加入雙氧水和硫酸亞鐵進行芬頓反應,去除廢水中有機物質,大幅度降低廢水的COD值;經由COD去除單元排出的濃縮廢水進入離子去除單元,通入氨氣調節pH值為堿性,并加入石灰乳液,通過反應沉淀去除濃縮廢水中的重金屬離子和氟離子;經由離子去除單元分離排出的濃縮廢水進入水體軟化單元,通入氨氣調節pH值為堿性,并加入除硬試劑軟化水體,去除鈣、鎂離子,降低濃縮廢水的硬度;經由水體軟化單元分離排出的濃縮廢水進入絮凝單元,投加絮凝劑,通過絮凝去除上一步工藝中產生的懸浮物質;經由絮凝單元分離排出的濃縮廢水進入膜過濾單元,通過超濾膜過濾器去除濃縮廢水中的細小懸浮物;經由膜過濾單元分離排出的濃縮廢水進入蒸發結晶單元,引入高溫氣體熱源,通過蒸發結晶析出副產品硫酸銨鹽類;經由蒸發結晶單元析出的副產品硫酸銨鹽類進入除塵收集單元收集,揮發的氨氣回收利用,從而實現富硫氣體廢水的凈化處理。
12.根據權利要求11所述的凈化處理方法,其中,所述COD去除單元中,通過加入酸性藥劑調節pH值為3~4,加入的酸性藥劑為質量濃度為3%~10%的稀硫酸。
13.根據權利要求11所述的凈化處理方法,其中,所述離子去除單元中,所述氨氣來自氨站設備產生的氨氣,調節pH值為8~10;優選地,利用第一澄清塔實現離子去除單元中的固相沉淀與濃縮廢水的分離;固相沉淀進入污泥濃縮單元。
14.根據權利要求11所述的凈化處理方法,其中,所述水體軟化單元中,所述氨氣來自氨站設備產生的氨氣,調節pH值為9~11;優選地,所述除硬試劑包括質量濃度為12%~25%的碳酸鈉溶液;優選地,利用第二澄清塔實現水體軟化單元中的固相沉淀與濃縮廢水的分離,固相沉淀進入污泥濃縮單元。
15.根據權利要求11所述的凈化處理方法,其中,所述絮凝單元中,所述絮凝劑包括PAM絮凝劑和/或PAC絮凝劑;優選地,利用第三澄清塔實現絮凝單元中的固相沉淀與濃縮廢水的分離,固相沉淀進入污泥濃縮單元。
16.根據權利要求11所述的凈化處理方法,其中,所述膜過濾單元中,利用第四澄清塔實現膜過濾單元中的固相沉淀與濃縮廢水的分離,固相沉淀進入污泥濃縮單元。
17.根據權利要求11所述的凈化處理方法,其中,所述蒸發結晶單元中,所述高溫氣體熱源來自活性焦或活性炭脫硫脫硝系統的加熱爐;優選地,經由膜過濾單元分離排出的濃縮廢水通過霧化裝置的霧化噴頭加熱噴入至蒸發結晶單元中,壓力為0.4~0.8MPa。
發明內容
針對活性焦(炭)脫硫脫硝后富硫氣體廢水的凈化處理,本發明的第一目的在于提供一種活性焦或活性炭脫硫脫硝后富硫氣體廢水的凈化處理裝置;本發明的第二目的在于提供一種活性焦或活性炭脫硫脫硝后富硫氣體廢水的凈化處理工藝。
本發明的目的通過以下技術手段得以實現:
一方面,本發明提供一種活性焦或活性炭脫硫脫硝后富硫氣體廢水的凈化處理裝置,該凈化處理裝置包括依次相連通的污泥濃縮單元、COD去除單元、離子去除單元、水體軟化單元、絮凝單元、膜過濾單元、蒸發結晶單元和除塵收集單元;
所述污泥濃縮單元用于去除富硫氣體廢水中的懸浮物并濃縮廢水;
所述COD去除單元用于降低濃縮廢水的COD;
所述離子去除單元用于去除濃縮廢水中的重金屬離子和氟離子;
所述水體軟化單元用于去除濃縮廢水中的鈣、鎂離子;
所述絮凝單元用于去除濃縮廢水中產生的懸浮物;
所述膜過濾單元用于去除濃縮廢水中的細小懸浮物;
所述蒸發結晶單元用于析出副產品硫酸銨鹽類;
所述除塵收集單元用于收集副產品硫酸銨鹽類。
上述的凈化處理裝置中,優選地,所述污泥濃縮單元包括壓濾機和重力濃縮罐;所述重力濃縮罐與收集富硫氣體廢水的二氧化硫捕集噴淋塔相連通;所述壓濾機與COD去除單元相連通。
本發明的凈化處理裝置中,二氧化硫捕集噴淋塔通過噴淋濃度小于10%的稀硫酸溶液,優選采用3%~6%的稀硫酸溶液使最多的SO2進入液相生產酸性廢水,將活性焦或活性炭脫硫脫硝裝置產生的富硫氣體捕集獲得富硫氣體廢水。本發明的污泥濃縮單元通過壓濾機和重力濃縮罐能夠有效去除捕集至廢水中的懸浮物,濃縮廢水,有效減少蒸發系統能源負荷,降低濃縮過程的設備成本和運行成本,通過壓濾機能夠大大提升過濾速度和懸浮物的去除率;此外,所述污泥濃縮單元用于回收離子去除單元、水體軟化單元、絮凝單元、膜過濾單元產生的固相。
上述的凈化處理裝置中,優選地,所述COD去除單元包括芬頓反應塔;所述芬頓反應塔分別與所述污泥濃縮單元、所述離子去除單元相連通。
本發明的COD去除單元利用芬頓反應能夠大幅降低廢水的COD值。
上述的凈化處理裝置中,優選地,所述離子去除單元包括重金屬離子和氟離子去除塔;所述重金屬離子和氟離子去除塔分別與所述COD去除單元、所述水體軟化單元相連通。
本發明的離子去除單元主要用于沉淀去除Pb2+、Hg2+等重金屬離子和F-等。
上述的凈化處理裝置中,優選地,所述離子去除單元還包括第一澄清塔;所述重金屬離子和氟離子去除塔、所述第一澄清塔和所述污泥濃縮單元依次相連通。
本發明采用第一澄清塔將沉淀的重金屬離子和氟離子與濃縮廢水進行固液分離,固相回收至污泥濃縮單元中。
上述的凈化處理裝置中,優選地,所述水體軟化單元包括水體軟化塔;所述水體軟化塔分別與所述離子去除單元、所述絮凝單元相連通。
本發明的水體軟化單元通過調節pH值,加入除硬試劑去除水中Ca2+、Mg2+離子。
上述的凈化處理裝置中,優選地,所述水體軟化單元還包括第二澄清塔;所述水體軟化塔、所述第二澄清塔和所述污泥濃縮單元依次相連通。
本發明采用第二澄清塔將沉淀的Ca2+、Mg2+離子與濃縮廢水進行固液分離,固相回收至污泥濃縮單元中。
上述的凈化處理裝置中,優選地,所述絮凝單元包括絮凝塔;所述絮凝塔分別與所述水體軟化單元、所述膜過濾單元相連通。
本發明的絮凝單元通過向廢水中加入絮凝劑,進一步將上游工藝中未能去除的各種懸浮物組成的堿性污泥除去,使廢水中較微小懸浮物形成較大的絮凝物,進一步去除廢水中的懸浮組分。
上述的凈化處理裝置中,優選地,所述絮凝單元還包括第三澄清塔;所述絮凝塔、所述第三澄清塔和所述污泥濃縮單元依次相連通。
本發明采用第三澄清塔將絮凝物與濃縮廢水進行固液分離,固相回收至污泥濃縮單元中。
上述的凈化處理裝置中,優選地,所述膜過濾單元包括超濾膜過濾器;所述超濾膜過濾器分別與所述絮凝單元、所述膜過濾單元相連通。
本發明的膜過濾單元中的超濾膜過濾器由前置過濾器和濾膜系統組成,通過前置過濾器(填裝有活性炭細顆粒、卵石、砂石等)進一步除去廢水中的懸浮物,降低對濾膜系統元件的機械磨蝕;進一步通過濾膜系統中的超濾膜過濾廢水,進一步提高廢水的過濾效率。
上述的凈化處理裝置中,優選地,所述膜過濾單元還包括第四澄清塔;所述超濾膜過濾器、所述第四澄清塔和所述污泥濃縮單元依次相連通。
本發明采用第四澄清塔將超濾產生的固相物與濃縮廢水進行固液分離,固相回收至污泥濃縮單元中。
上述的凈化處理裝置中,優選地,所述蒸發結晶單元包括蒸發結晶塔;所述蒸發結晶塔分別與所述膜過濾單元、所述除塵收集單元相連通。
本發明的蒸發結晶單元蒸發析出副產品硫酸銨鹽類。
上述的凈化處理裝置中,優選地,所述蒸發結晶單元還包括加熱爐,所述加熱爐與所述蒸發結晶塔相連通。
上述的凈化處理裝置中,優選地,所述蒸發結晶單元與所述膜過濾單元相連通的管路上設置有霧化裝置。通過該霧化裝置實現廢水以霧滴形式噴入至蒸發結晶系統中。
上述的凈化處理裝置中,優選地,所述除塵收集單元包括除塵器;所述除塵器與所述蒸發結晶單元相連通。
本發明的除塵收集單元收集副產品硫酸銨鹽類,通過其除塵器捕集廢水中析出產品鹽,通過灰斗收集生成產品,產品銨鹽易揮發氨氣,除塵器尾部應與氨站設備連通以防止氨氣逃逸。
上述的凈化處理裝置中,優選地,該凈化處理裝置還包括氨站設備;所述氨站設備分別與所述離子去除單元、所述水體軟化單元和所述除塵收集單元相連通。
另一方面,本發明還提供一種活性焦或活性炭脫硫脫硝后富硫氣體廢水的凈化處理方法,采用上述的凈化處理裝置,其包括以下步驟:
來自二氧化硫捕集噴淋塔收集的富硫氣體廢水進入到污泥濃縮單元,經過污泥濃縮單元的重力濃縮和壓濾處理,去除富硫氣體廢水中的懸浮物并降低水占比,獲得濃縮廢水;
經由污泥濃縮單元排出的濃縮廢水進入COD去除單元,調節pH值為酸性,并加入雙氧水和硫酸亞鐵進行芬頓反應,去除廢水中有機物質,大幅度降低廢水的COD值;
經由COD去除單元排出的濃縮廢水進入離子去除單元,通入氨氣調節pH值為堿性,并加入石灰乳液,通過反應沉淀去除濃縮廢水中的重金屬離子和氟離子;
經由離子去除單元分離排出的濃縮廢水進入水體軟化單元,通入氨氣調節pH值為堿性,并加入除硬試劑軟化水體,去除鈣、鎂離子,降低濃縮廢水的硬度;
經由水體軟化單元分離排出的濃縮廢水進入絮凝單元,投加絮凝劑,通過絮凝去除上一步工藝中產生的懸浮物質;
經由絮凝單元分離排出的濃縮廢水進入膜過濾單元,通過超濾膜過濾器去除濃縮廢水中的細小懸浮物;
經由膜過濾單元分離排出的濃縮廢水進入蒸發結晶單元,引入高溫氣體熱源,通過蒸發結晶析出副產品硫酸銨鹽類;
經由蒸發結晶單元析出的副產品硫酸銨鹽類進入除塵收集單元收集,揮發的氨氣回收利用,從而實現富硫氣體廢水的凈化處理。
本發明的凈化處理方法中所采用石灰乳液用于與欲去除的離子產生沉淀,石灰乳液的添加量根據廢水中氟離子和重金屬離子的濃度適當添加,不應大幅過量,否則易產生大量黏性沉淀阻塞管道通路。
上述的凈化處理方法中,優選地,所述COD去除單元中,通過加入酸性藥劑調節pH值為3~4,加入的酸性藥劑為質量濃度為3%~10%的稀硫酸。
上述的凈化處理方法中,優選地,所述離子去除單元中,所述氨氣來自氨站設備產生的氨氣,調節pH值為8~10。
上述的凈化處理方法中,優選地,利用第一澄清塔實現離子去除單元中的固相沉淀與濃縮廢水的分離;固相沉淀進入污泥濃縮單元。
上述的凈化處理方法中,優選地,所述水體軟化單元中,所述氨氣來自氨站設備產生的氨氣,調節pH值為9~11。
上述的凈化處理方法中,優選地,所述除硬試劑包括質量濃度為12%~25%的碳酸鈉溶液。
上述的凈化處理方法中,優選地,利用第二澄清塔實現水體軟化單元中的固相沉淀與濃縮廢水的分離,固相沉淀進入污泥濃縮單元。
上述的凈化處理方法中,優選地,所述絮凝單元中,所述絮凝劑包括PAM絮凝劑和/或PAC絮凝劑。
上述的凈化處理方法中,優選地,利用第三澄清塔實現絮凝單元中的固相沉淀與濃縮廢水的分離,固相沉淀進入污泥濃縮單元。
上述的凈化處理方法中,優選地,所述膜過濾單元中,利用第四澄清塔實現膜過濾單元中的固相沉淀與濃縮廢水的分離,固相沉淀進入污泥濃縮單元。
上述的凈化處理方法中,優選地,所述蒸發結晶單元中,所述高溫氣體熱源來自活性焦或活性炭脫硫脫硝系統的加熱爐。
上述的凈化處理方法中,優選地,經由膜過濾單元分離排出的濃縮廢水通過霧化裝置的霧化噴頭加熱噴入至蒸發結晶單元中,壓力為0.4~0.8MPa。加壓的介質壓縮氣體采用氮氣或空氣。
本發明的凈化處理工藝中,利用污泥濃縮單元壓濾分離的固相的主要成分為活性焦(炭)粉末的酸性污泥,記為M1;利用離子去除單元中的第一澄清塔分離的固相主要成分為重金屬氫氧化物和CaF2的堿性污泥,記為M2;利用水體軟化單元中的第二澄清塔分離的固相主要成分為碳酸鈣鎂的堿性污泥,記為M3;利用絮凝單元中的第三澄清塔分離的固相上游工藝中未能去除的各種懸浮物組成的堿性污泥,記為M4;利用膜過濾單元中的第四澄清塔分離的固相主要為進一步去除的懸浮物和少量的堿性污泥,即為M5。整個裝置凈化處理工藝產生的M1、M2、M3、M4和M5固相回收至污泥濃縮單元儲存,定期清理。
本發明的有益效果:
采用本發明的凈化處理裝置和方法,富硫氣體廢水在經過濃縮和蒸發結晶后,液相被完全除去,不產生多余廢水排放,且能夠獲得副產品硫酸銨鹽類;此外本發明的經過處理過程中,利用氨氣中和富硫氣體酸性廢水,能夠直接從脫硫脫硝氨站獲取。
(發明人:李春曉;崔巖;王建華;邱明英;張藝峰;任樂)






