公布日:2023.11.24
申請日:2023.08.08
分類號:C02F1/44(2023.01)I
摘要
本發明屬于陶瓷膜領域,具體的說是一種污水再生陶瓷膜裝置,包括機體;所述機體的底端固接有多組安裝蓋;所述機體的底端設置有支撐板;所述支撐板的內側設置有多組過濾筒;所述過濾筒與所述支撐板的連接方式為滑動連接;所述安裝蓋的內側對稱開設有兩組滑槽;所述滑槽的內側固接有伸縮桿;所述伸縮桿的中部套合連接有復位彈簧;所述復位彈簧的端部固接有擠壓塊;所述擠壓塊的側壁對稱固接有兩組連接桿;所述連接桿的端部固接有拉手;通過設置的擠壓塊結構,通過該設計不僅操作簡單方便,而且能夠對多個過濾筒進行同時安裝與拆卸,無需挨個轉動進行安裝與拆卸,降低了使用者的工作量,從而便于使用者進行使用。

權利要求書
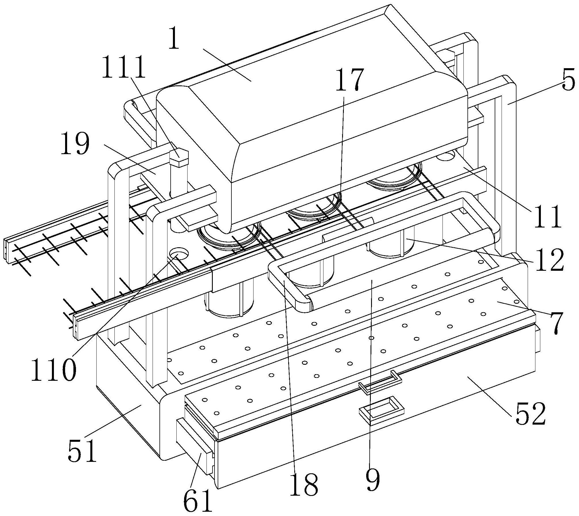
1.一種污水再生陶瓷膜裝置,包括機體(1);其特征在于:所述機體(1)的底端固接有多組安裝蓋(10);所述機體(1)的底端設置有支撐板(11);所述支撐板(11)的內側設置有多組過濾筒(12);所述過濾筒(12)與所述支撐板(11)的連接方式為滑動連接;所述安裝蓋(10)的內側對稱開設有兩組滑槽(13);所述滑槽(13)的內側固接有伸縮桿(14);所述伸縮桿(14)的中部套合連接有復位彈簧(15);所述復位彈簧(15)的端部固接有擠壓塊(16);所述擠壓塊(16)的側壁對稱固接有兩組連接桿(17);所述連接桿(17)的端部固接有拉手(18);所述機體(1)的兩側對稱固接有兩組安裝板(19);所述安裝板(19)的側壁開設有安裝孔(110);所述安裝孔(110)貫穿于所述安裝板(19)的表面;所述安裝孔(110)還設置在所述支撐板(11)的表面;所述安裝孔(110)的內側轉動設置有固定栓(111)。
2.根據權利要求1所述的一種污水再生陶瓷膜裝置,其特征在于:所述過濾筒(12)的頂端開設有插槽(2);所述插槽(2)的內側固接有第一磁環(21);所述安裝蓋(10)的底端固接有第二磁環(22);所述第二磁環(22)與所述第一磁環(21)的連接方式為磁性連接。
3.根據權利要求2所述的一種污水再生陶瓷膜裝置,其特征在于:所述支撐板(11)的側壁固接有支架(3);所述支架(3)的側壁固接有固定板(31);所述固定板(31)的側壁設置有連接板(32);所述連接板(32)的側壁固接有多組清潔刷(33)。
4.根據權利要求3所述的一種污水再生陶瓷膜裝置,其特征在于:所述固定板(31)的側壁開設有限位槽(41);所述連接板(32)的側壁固接有限位塊(4);所述限位塊(4)與所述限位槽(41)的連接方式為滑動連接。
5.根據權利要求4所述的一種污水再生陶瓷膜裝置,其特征在于:所述機體(1)的兩側對稱固接有兩組固定架(5);所述固定架(5)的側壁固接有支撐盒(51);所述支撐盒(51)的內側滑動設置有收集盒(52)。
6.根據權利要求5所述的一種污水再生陶瓷膜裝置,其特征在于:所述支撐盒(51)的側壁對稱開設有兩組安裝槽(6);所述收集盒(52)的側壁對稱固接有兩組安裝塊(61);所述安裝塊(61)與所述安裝槽(6)的連接方式為滑動連接。
7.根據權利要求6所述的一種污水再生陶瓷膜裝置,其特征在于:所述支撐盒(51)的側壁設置有過濾板(7);所述過濾板(7)與所述支撐盒(51)的連接方式為滑動連接。
8.根據權利要求7所述的一種污水再生陶瓷膜裝置,其特征在于:所述清潔刷(33)的表面固接有連接繩(8);所述連接繩(8)貫穿于所述清潔刷(33)的表面。
發明內容
為了彌補現有技術的不足,解決背景技術中所提出的至少一個技術問題。
本發明解決其技術問題所采用的技術方案是:本發明所述的一種污水再生陶瓷膜裝置,包括機體;所述機體的底端固接有多組安裝蓋;所述機體的底端設置有支撐板;所述支撐板的內側設置有多組過濾筒;所述過濾筒與所述支撐板的連接方式為滑動連接;所述安裝蓋的內側對稱開設有兩組滑槽;所述滑槽的內側固接有伸縮桿;所述伸縮桿的中部套合連接有復位彈簧;所述復位彈簧的端部固接有擠壓塊;所述擠壓塊的側壁對稱固接有兩組連接桿;所述連接桿的端部固接有拉手;所述機體的兩側對稱固接有兩組安裝板;所述安裝板的側壁開設有安裝孔;所述安裝孔貫穿于所述安裝板的表面;所述安裝孔還設置在所述支撐板的表面;所述安裝孔的內側轉動設置有固定栓;通過該設計能夠對多個過濾筒進行同時安裝與拆卸,無需挨個轉動進行安裝與拆卸,降低了使用者的工作量。
優選的,所述過濾筒的頂端開設有插槽;所述插槽的內側固接有第一磁環;所述安裝蓋的底端固接有第二磁環;所述第二磁環與所述第一磁環的連接方式為磁性連接;通過該設計當工作人員將過濾筒插入安裝蓋中進行安裝時,能夠起到快速定位的作用。
優選的,所述支撐板的側壁固接有支架;所述支架的側壁固接有固定板;所述固定板的側壁設置有連接板;所述連接板的側壁固接有多組清潔刷;通過該設計當對過濾筒進行安裝與拆卸時,能夠對過濾筒表面進行清理。
優選的,所述固定板的側壁開設有限位槽;所述連接板的側壁固接有限位塊;所述限位塊與所述限位槽的連接方式為滑動連接;通過該設計便于工作人員對清潔刷進行安裝與拆卸。
優選的,所述機體的兩側對稱固接有兩組固定架;所述固定架的側壁固接有支撐盒;所述支撐盒的內側滑動設置有收集盒;通過該設計能夠對拆卸過濾筒時滴落的水源進行收集。
優選的,所述支撐盒的側壁對稱開設有兩組安裝槽;所述收集盒的側壁對稱固接有兩組安裝塊;所述安裝塊與所述安裝槽的連接方式為滑動連接;通過該設計便于工作人員將收集盒取出。
優選的,所述支撐盒的側壁設置有過濾板;所述過濾板與所述支撐盒的連接方式為滑動連接;通過該設計能夠對收集的水源進行過濾。
優選的,所述清潔刷的表面固接有連接繩;所述連接繩貫穿于所述清潔刷的表面;通過該設計能夠使清潔刷清理的更加集中。
本發明的有益效果如下:
1.本發明所述的一種污水再生陶瓷膜裝置,通過設置的擠壓塊結構,通過該設計不僅操作簡單方便,而且能夠對多個過濾筒進行同時安裝與拆卸,無需挨個轉動進行安裝與拆卸,降低了使用者的工作量,從而便于使用者進行使用。
2.本發明所述的一種污水再生陶瓷膜裝置,通過設置的第一磁環結構,通過該設計當工作人員將過濾筒插入安裝蓋中進行安裝時,能夠起到快速定位的作用,從而便于工作人員將過濾筒插入安裝蓋中進行安裝。
(發明人:王宗葳;王若冰;劉鑾;郭釗搏;王澤元;王英;馬文明;饒杰)






