公布日:2023.03.14
申請日:2022.12.21
分類號:E03B3/02(2006.01)I;B01D29/01(2006.01)I;B01D29/94(2006.01)I;E03B1/04(2006.01)I;E03F3/04(2006.01)I;E03F5/14(2006.01)I;E03F5/10(2006.01)I;E03F7/
00(2006.01)I
摘要
本發明涉及建筑施工現場水循環利用技術領域,具體公開了一種建筑施工現場水循環利用系統,包括集水機構與過濾機構,集水機構包括集水管道組件、集水管道組件中間所設的排污組件與集水管道組件下端所設的輸送管道組件,過濾機構包括輸送管道組件側面固定連接的進水管、進水管側面固定連接的過濾池組件與過濾池組件側面所設的排泥組件;本發明中,通過驅動電機牽連牽引繩I與牽引繩II帶動排污板將集水管內的廢水快速向下輸送管內輸送,使廢水中的污泥與雜物一同被輸送到輸送管道組件內,避免阻塞廢水輸送通道;可將建筑施工現場所產生的多種廢水引入到集水槽內,進行同步的廢水回收處理,提高廢水處理量,與廢水處理效率。

權利要求書
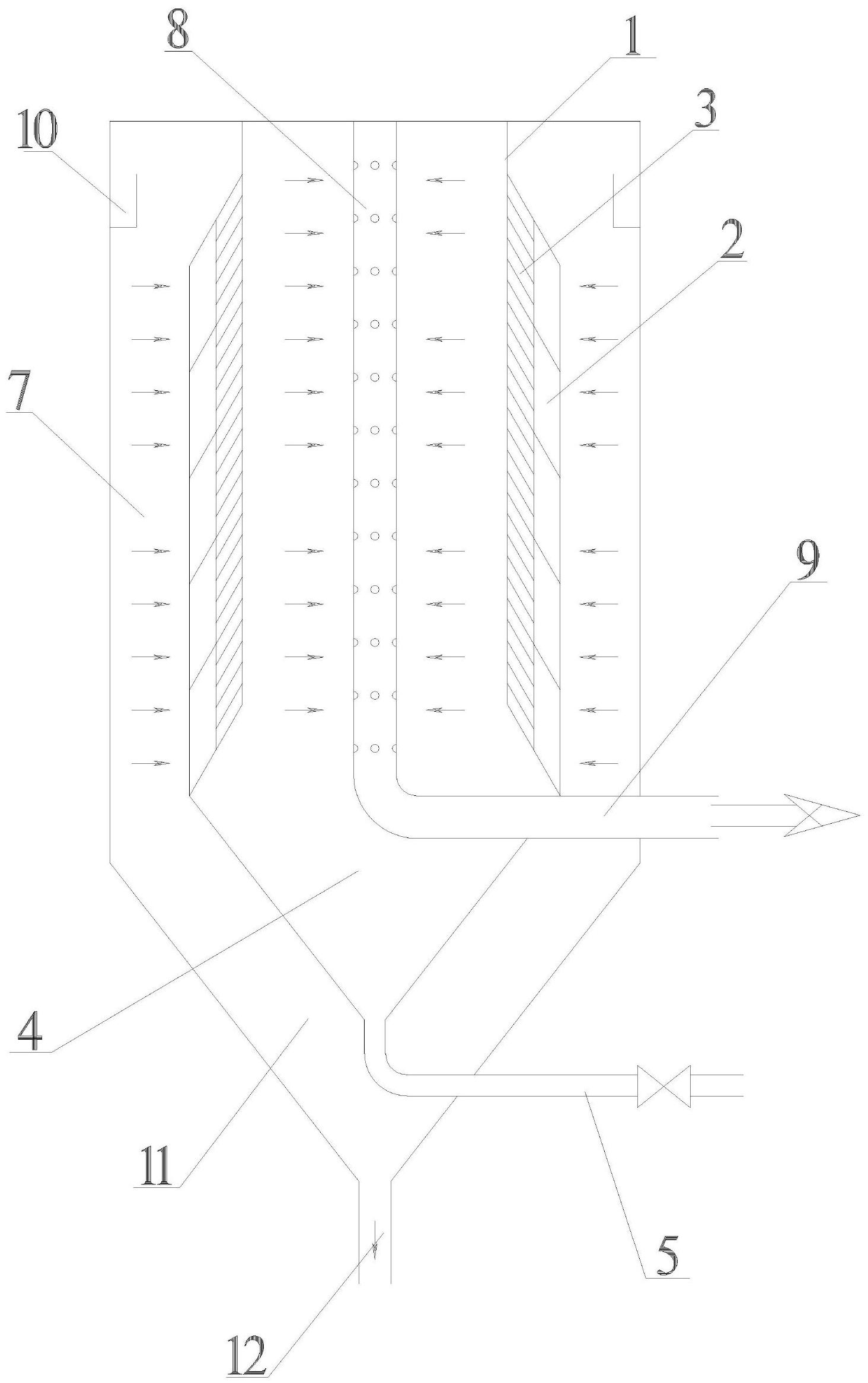
1.一種建筑施工現場水循環利用系統,其特征在于:包括集水機構與過濾機構,所述集水機構包括集水管道組件(1)、集水管道組件(1)中間所設的排污組件(2)與集水管道組件(1)下端所設的輸送管道組件(3),所述過濾機構包括輸送管道組件(3)側面固定連接的進水管(4)、進水管(4)側面固定連接的過濾池組件(5)與過濾池組件(5)側面所設的排泥組件(6)。
2.根據權利要求1所述的一種建筑施工現場水循環利用系統,其特征在于:所述集水管道組件(1)包括方框型管狀結構的集水管(101),且在集水管(101)的頂部開設有V型槽體結構的集水槽(102),所述集水槽(102)的上端扣設有下水板(103),且在下水板(103)的壁體上開設有均布排列的過水孔I(104)。
3.根據權利要求2所述的一種建筑施工現場水循環利用系統,其特征在于:所述集水管(101)的四角位置處并且在集水槽(102)的上端固定扣設有角封板(106),所述集水管(101)管壁的左右兩側對稱開設有導向槽(105)。
4.根據權利要求3所述的一種建筑施工現場水循環利用系統,其特征在于:所述排污組件(2)包括固定安裝在角封板(106)下端并且位于集水管(101)的三個夾角位置處的導向柱(201),且在集水管(101)剩余夾角位置處角封板(106)的上端固定安裝有驅動電機(202),所述驅動電機(202)主軸的下端向集水管(101)的中間固定連接有轉軸(203),所述轉軸(203)的下端固定連接有牽引柱(204),且在牽引柱(204)的外圓上自上而下均布設有間隔擋板(205)。
5.根據權利要求4所述的一種建筑施工現場水循環利用系統,其特征在于:所述集水管(101)的中間滑配有排污板(206),所述排污板(206)的兩側固定設有與導向槽(105)相滑配的滑塊(207),所述排污板(206)中間的上下兩側對稱開設有穿繩孔(208),所述穿繩孔(208)的前后兩端固定連通有限位管(209),且在限位管(209)的上下兩側螺接有調節螺釘(210);所述排污板(206)的上端并且在穿繩孔(208)的中間穿配有牽引繩I(211),所述排污板(206)的下端并且在穿繩孔(208)的中間穿配有牽引繩II(212),所述牽引繩I(211)的一端固定繞設在牽引柱(204)的上端,所述牽引繩II(212)的一端固定繞設在牽引柱(204)的下端,且牽引繩II(212)與牽引繩I(211)在牽引柱(204)外圓上的繞設方向相反。
6.根據權利要求2所述的一種建筑施工現場水循環利用系統,其特征在于:所述輸送管道組件(3)包括集水管(101)四角位置出的管底向下固定連通的下輸送管(301),所述下輸送管(301)的底部水平固定連通有分支集水管(302),所述分支集水管(302)的端部固定連通有匯總集水管(303),且在匯總集水管(303)的中間固定安裝有排污泵(304),所述進水管(4)與匯總集水管(303)的外端口相固定連通。
7.根據權利要求6所述的一種建筑施工現場水循環利用系統,其特征在于:所述過濾池組件(5)包括與進水管(4)另一端固定連通的槽體結構的過濾箱(501),所述過濾箱(501)的槽體的中下端固定設有傾斜布設的過濾撐板(502),且在過濾撐板(502)的壁體上均布開設有過水孔II(503),所述過濾撐板(502)的上端設有滲濾板(504),且在滲濾板(504)的上端壓設有壓板(505),所述壓板(505)四角位置處的上端固定連接有升降調節座(506),所述過濾箱(501)上端四角位置處固定設有調節支撐座(507),且在調節支撐座(507)的中間螺接有調節螺釘(508),所述調節螺釘(508)的下端與升降調節座(506)的上端相套配;所述過濾箱(501)上端的一側水平固定連接有翻轉支撐板(510),所述翻轉支撐板(510)的下方并且在過濾箱(501)的側面壁體上開設有排泥口(509);所述過濾箱(501)的壁體上并且在過濾撐板(502)的下端向外固定連通有排水管(511),且在排水管(511)的外側端口處固定安裝有水閥(512)。
8.根據權利要求7所述的一種建筑施工現場水循環利用系統,其特征在于:所述排泥組件(6)包括與排泥口(509)外側端口上方相鉸接的封板(601),且在封板(601)的側面設有與排泥口(509)相扣設的凸臺,所述封板(601)的外側面上左右對稱設有鉸接座I(602),所述翻轉支撐板(510)下端面的左右兩側對稱設有鉸接座II(603),且在鉸接座I(602)與鉸接座II(603)的中間牽連有伸縮臂(604),所述伸縮臂(604)的上下兩端分別與鉸接座I(602)、鉸接座II(603)相鉸接。
9.根據權利要求1-8所述的一種建筑施工現場水循環利用系統,本發明還涉及一種建筑施工現場水循環利用方法,其特征在于:該方法具體包括以下步驟:步驟一、引導集水,將建筑生產用水、沖積雨水與生活用水引入到集水槽內,然后水流順延下水板上的過水孔I進入到集水管內;步驟二、牽引分流,啟動驅動電機,使其主軸帶動轉軸與牽引柱正反向交替旋轉,旋轉過程中牽引柱旋轉帶動牽引繩I與牽引繩II旋轉,使其中一條繩索處于放送狀態另一條繩索處于卷繞狀態,進而牽引排污板沿導向槽在集水管中往復移動,使集水管中的廢水快速向集水管端角處的下輸送管處移動,使廢水快速的匯入到下輸送管內;步驟三、導向輸送,匯入到下輸送管中的廢水順延分支集水管匯集到匯總集水管處;步驟四、集中輸送,啟動排污泵將匯總集水管處的廢水輸送到進水管中,并順延進水管進入到過濾箱內;步驟五、沉降過濾,進入到過濾箱內的廢水透過壓板與滲濾板后,濾得清水通過過濾撐板上的過水孔II匯入到過濾撐板下方的清水槽內;步驟六、回收存儲,將水閥與外接水泵通過水管連通,打開水閥,啟動外接水泵,將清水槽內的清水通過排水管輸送到清水儲存設施內,完成廢水的回收過濾;步驟七、清除污泥,廢水過濾完成后,啟動伸縮臂回縮,帶動封板從排泥口外側打開,然后使用刮泥板將壓板上的污泥清理干凈,清理出的污泥從排泥口排出到過濾箱外側,清理完成后,啟動伸縮臂伸長,使封板向下扣回到排泥口內。
發明內容
本發明的目的在于提供一種建筑施工現場水循環利用系統,以解決上述背景技術中提出的問題。
為實現上述目的,本發明提供如下技術方案:一種建筑施工現場水循環利用系統,包括集水機構與過濾機構,所述集水機構包括集水管道組件、集水管道組件中間所設的排污組件與集水管道組件下端所設的輸送管道組件,所述過濾機構包括輸送管道組件側面固定連接的進水管、進水管側面固定連接的過濾池組件與過濾池組件側面所設的排泥組件。
優選的,所述集水管道組件包括方框型管狀結構的集水管,且在集水管的頂部開設有V型槽體結構的集水槽,所述集水槽的上端扣設有下水板,且在下水板的壁體上開設有均布排列的過水孔I。
優選的,所述集水管的四角位置處并且在集水槽的上端固定扣設有角封板,所述集水管管壁的左右兩側對稱開設有導向槽。
優選的,所述排污組件包括固定安裝在角封板下端并且位于集水管的三個夾角位置處的導向柱,且在集水管剩余夾角位置處角封板的上端固定安裝有驅動電機,所述驅動電機主軸的下端向集水管的中間固定連接有轉軸,所述轉軸的下端固定連接有牽引柱,且在牽引柱的外圓上自上而下均布設有間隔擋板。
優選的,所述集水管的中間滑配有排污板,所述排污板的兩側固定設有與導向槽相滑配的滑塊,所述排污板中間的上下兩側對稱開設有穿繩孔,所述穿繩孔的前后兩端固定連通有限位管,且在限位管的上下兩側螺接有調節螺釘;
所述排污板的上端并且在穿繩孔的中間穿配有牽引繩I,所述排污板的下端并且在穿繩孔的中間穿配有牽引繩II,所述牽引繩I的一端固定繞設在牽引柱的上端,所述牽引繩II的一端固定繞設在牽引柱的下端,且牽引繩II與牽引繩I在牽引柱外圓上的繞設方向相反。
優選的,所述輸送管道組件包括集水管四角位置出的管底向下固定連通的下輸送管,所述下輸送管的底部水平固定連通有分支集水管,所述分支集水管的端部固定連通有匯總集水管,且在匯總集水管的中間固定安裝有排污泵,所述進水管與匯總集水管的外端口相固定連通。
優選的,所述過濾池組件包括與進水管另一端固定連通的槽體結構的過濾箱,所述過濾箱的槽體的中下端固定設有傾斜布設的過濾撐板,且在過濾撐板的壁體上均布開設有過水孔II,所述過濾撐板的上端設有滲濾板,且在滲濾板的上端壓設有壓板,所述壓板四角位置處的上端固定連接有升降調節座,所述過濾箱上端四角位置處固定設有調節支撐座,且在調節支撐座的中間螺接有調節螺釘,所述調節螺釘的下端與升降調節座的上端相套配;
所述過濾箱上端的一側水平固定連接有翻轉支撐板,所述翻轉支撐板的下方并且在過濾箱的側面壁體上開設有排泥口;
所述過濾箱的壁體上并且在過濾撐板的下端向外固定連通有排水管,且在排水管的外側端口處固定安裝有水閥。
優選的,所述排泥組件包括與排泥口外側端口上方相鉸接的封板,且在封板的側面設有與排泥口相扣設的凸臺,所述封板的外側面上左右對稱設有鉸接座I,所述翻轉支撐板下端面的左右兩側對稱設有鉸接座II,且在鉸接座I與鉸接座II的中間牽連有伸縮臂,所述伸縮臂的上下兩端分別與鉸接座I、鉸接座II相鉸接。
優選的,本發明還涉及一種建筑施工現場水循環利用方法,該工藝具體包括以下步驟:
步驟一、引導集水,將建筑生產用水、沖積雨水與生活用水引入到集水槽內,然后水流順延下水板上的過水孔I進入到集水管內;
步驟二、牽引分流,啟動驅動電機,使其主軸帶動轉軸與牽引柱正反向交替旋轉,旋轉過程中牽引柱旋轉帶動牽引繩I與牽引繩II旋轉,使其中一條繩索處于放送狀態另一條繩索處于卷繞狀態,進而牽引排污板沿導向槽在集水管中往復移動,使集水管中的廢水快速向集水管端角處的下輸送管處移動,使廢水快速的匯入到下輸送管內;
步驟三、導向輸送,匯入到下輸送管中的廢水順延分支集水管匯集到匯總集水管處;
步驟四、集中輸送,啟動排污泵將匯總集水管處的廢水輸送到進水管中,并順延進水管進入到過濾箱內;
步驟五、沉降過濾,進入到過濾箱內的廢水透過壓板與滲濾板后,濾得清水通過過濾撐板上的過水孔II匯入到過濾撐板下方的清水槽內;
步驟六、回收存儲,將水閥與外接水泵通過水管連通,打開水閥,啟動外接水泵,將清水槽內的清水通過排水管輸送到清水儲存設施內,完成廢水的回收過濾;
步驟七、清除污泥,廢水過濾完成后,啟動伸縮臂回縮,帶動封板從排泥口外側打開,然后使用刮泥板將壓板上的污泥清理干凈,清理出的污泥從排泥口排出到過濾箱外側,清理完成后,啟動伸縮臂伸長,使封板向下扣回到排泥口內。
與現有技術相比,本發明的有益效果是:本發明結構設置合理,功能性強,具有以下優點:
1.本發明中,通過驅動電機驅動轉軸與牽引柱牽連牽引繩I與牽引繩II帶動排污板將集水管內的廢水快速向下輸送管內輸送,使廢水中的污泥與雜物一同被輸送到輸送管道組件內,因此,避免在集水管內發生阻塞現象,降低維護清理費用,提高排污效率;
2.本發明中,可將建筑施工現場所產生的多種廢水引入到集水槽內,進行同步的廢水回收處理,提高廢水處理量,與廢水處理效率。
(發明人:胡維騰;董春山;雷建;趙強;李飛)






