公布日:2023.03.14
申請日:2022.12.19
分類號:C02F11/06(2006.01)I;C02F11/122(2019.01)I
摘要
本發明公開了一種兩段式微納米臭氧氧化污泥處理系統及方法,包括臭氧發生器、一級微納米臭氧氧化處理組件、二級微納米臭氧氧化處理組件和沉淀池,臭氧發生器產生臭氧,并通入一級微納米臭氧氧化處理組件,使得在一級微納米臭氧氧化處理組件的污泥被臭氧初步氧化,在一級微納米臭氧氧化處理組件后設置有二級微納米臭氧氧化處理組件,被臭氧初步氧化的污泥進入二級微納米臭氧氧化處理組件后被二次氧化,而后經過沉淀池沉淀后以液體與固體的形式分別排出兩段式微納米臭氧氧化污泥處理系統。經過兩次氧化后的污泥實現了高效解體與減量,兩段式微納米臭氧氧化污泥處理系統實現了污泥綠色化處理的目的。

權利要求書
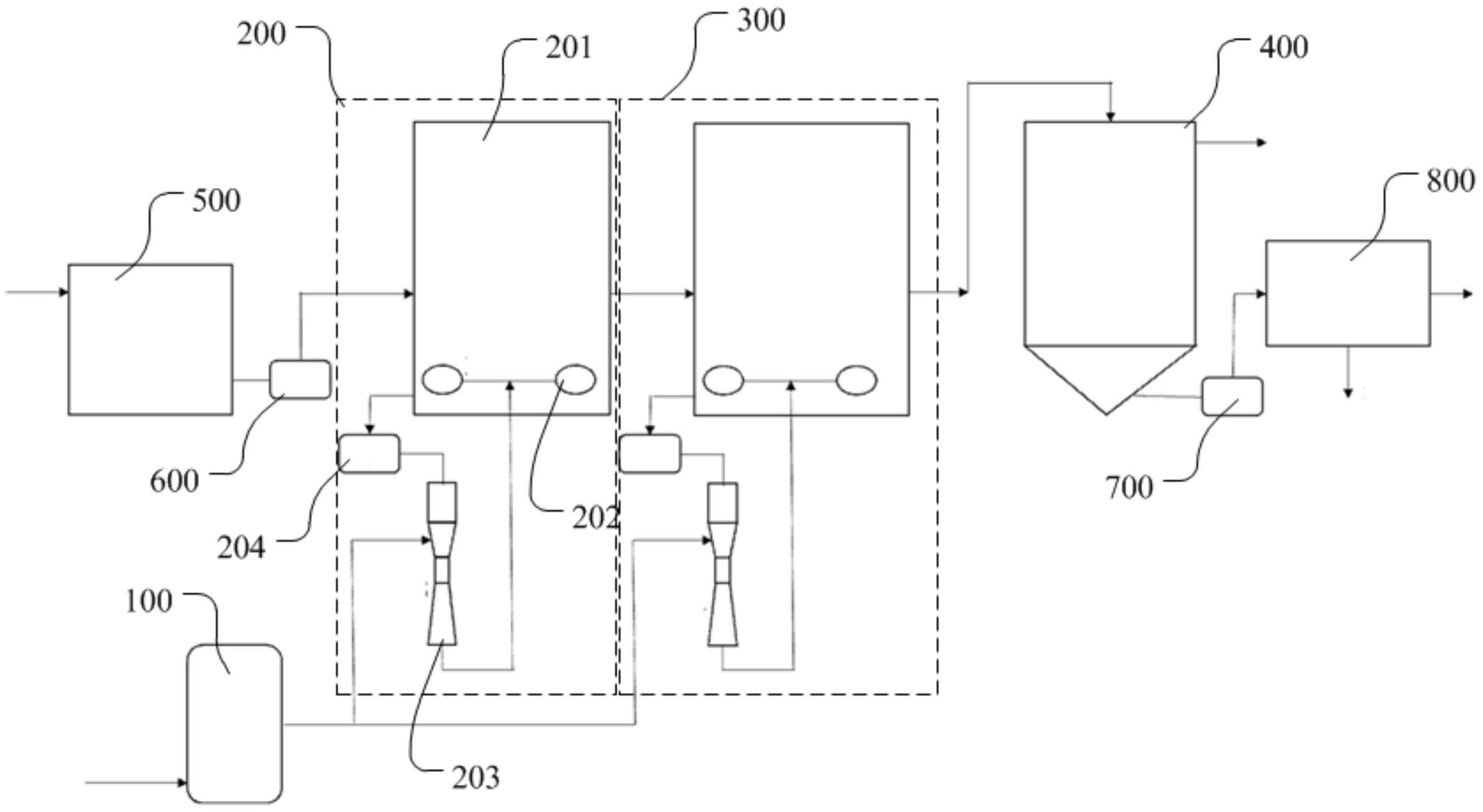
1.一種兩段式微納米臭氧氧化污泥處理系統,其特征在于,包括臭氧發生器(100)、一級微納米臭氧氧化處理組件(200)、二級微納米臭氧氧化處理組件(300)和沉淀池(400),其中,所述臭氧發生器(100)的出氣口與所述一級微納米臭氧氧化處理組件(200)和二級微納米臭氧氧化處理組件(300)的進氣連通;所述一級微納米臭氧氧化處理組件(200)的進料口用于接收污泥,以在所述一級微納米臭氧氧化處理組件(200)通入臭氧后對污泥進行一級臭氧氧化處理;所述二級微納米臭氧氧化處理組件(300)的進料口用于接收所述一級微納米臭氧氧化處理組件(200)處理后的污泥,以在所述二級微納米臭氧氧化處理組件(300)通入臭氧后對污泥進行二級臭氧氧化處理;所述沉淀池(400)的進料口與二級微納米臭氧氧化處理組件(300)的出料口連通,以對污泥進行沉淀處理。
2.根據權利要求1所述的兩段式微納米臭氧氧化污泥處理系統,其特征在于,所述一級微納米臭氧氧化處理組件(200)包括一級臭氧氧化池(201)和一級微納米氣泡分散器(202),其中,所述一級臭氧氧化池(201)的進料口用于接收污泥;所述一級微納米氣泡分散器(202)設置于所述一級臭氧氧化池(201)的內部;所述一級微納米氣泡分散器(202)的進口作為所述一級微納米臭氧氧化處理組件(200)的臭氧進口與所述臭氧發生器(100)的出氣口連通;所述二級微納米臭氧氧化處理組件(300)包括二級臭氧氧化池(301)和二級微納米氣泡分散器(302),其中,所述二級臭氧氧化池(301)的進料口與所述一級臭氧氧化池(201)的出料口連通,所述二級臭氧氧化池(301)的出料口與所述沉淀池(400)的進料口連通;所述二級微納米氣泡分散器(302)設置于所述二級臭氧氧化池(301)的內部;所述二級微納米氣泡分散器(302)的進口作為所述二級微納米臭氧氧化處理組件(300)的臭氧進口與所述臭氧發生器(100)的出氣口連通。
3.根據權利要求2所述的兩段式微納米臭氧氧化污泥處理系統,其特征在于,所述一級微納米臭氧氧化處理組件(200)還包括連接于所述微納米氣泡分散器(202)的進口和所述臭氧發生器(100)的出氣口之間的射流混合器(203)。
4.根據權利要求3所述的兩段式微納米臭氧氧化污泥處理系統,其特征在于,所述一級微納米臭氧氧化處理組件(200)還包括連接于所述一級臭氧氧化池(201)和所述射流混合器(203)的進液口的循環泵(204)。
5.根據權利要求4所述的兩段式微納米臭氧氧化污泥處理系統,其特征在于,所述循環泵(204)的流量根據所述微納米氣泡分散器(202)的數量確定。
6.根據權利要求2所述的兩段式微納米臭氧氧化污泥處理系統,其特征在于,還包括振動過濾器(500),以過濾濃縮污泥中的大顆粒雜質,濃縮污泥從所述振動過濾器(500)的進料口進入振動過濾器(500),所述一級臭氧氧化池(201)的進料口作為所述一級微納米臭氧氧化處理組件(200)的進料口與振動過濾器(500)的出料口連通。
7.根據權利要求6所述的兩段式微納米臭氧氧化污泥處理系統,其特征在于,還包括提升泵(600),以將過濾后的污泥提升至一級臭氧氧化池(201),所述提升泵(600)的進料口與所述振動過濾器(500)的出料口連通,所述一級臭氧氧化池(201)的進料口作為所述一級微納米臭氧氧化處理組件(200)的進料口與所述提升泵(600)的出料口連通。
8.根據權利要求1所述的兩段式微納米臭氧氧化污泥處理系統,其特征在于,還包括螺桿泵(700),所述螺桿泵(700)的進料口與沉淀池(400)的下出料口連通。
9.根據權利要求8所述的兩段式微納米臭氧氧化污泥處理系統,其特征在于,所述沉淀池(400)還包括溢流堰,所述溢流堰設置于所述沉淀池(400)的頂部,用于排出污泥沉淀后的上清液。
10.根據權利要求9所述的兩段式微納米臭氧氧化污泥處理系統,其特征在于,還包括壓濾機,所述壓濾機為板框壓濾機(800),且所述板框壓濾機(800)采用間歇運行方式運行,所述板框壓濾機(800)的進料口與所述螺桿泵(700)的出料口連通。
11.一種兩段式微納米臭氧氧化污泥處理方法,其特征在于,應用如權利要求1至10中任一項所述的兩段式微納米臭氧氧化污泥處理系統,所述兩段式微納米臭氧氧化污泥處理方法包括:步驟S1:臭氧發生器(100)向一級微納米臭氧氧化處理組件(200)中連續通入第一預設投加量的臭氧;步驟S2:將濃度在預設濃度的污泥連續輸送至一級微納米臭氧氧化處理組件(200)中停留第一預設時間,以進行一級臭氧氧化處理;步驟S3:臭氧發生器(100)向二級微納米臭氧氧化處理組件(300)中連續通入第二預設投加量的臭氧;步驟S4:將一級臭氧氧化處理后的污泥連續輸送至二級微納米臭氧氧化處理組件(300)中停留第二預設時間,以進行二級臭氧氧化處理;步驟S5:將二級臭氧氧化處理后的污泥連續輸送至沉淀池(400),以進行沉淀處理。
12.如權利要求11所述的方法,其特征在于,在污泥處理過程中,所述步驟S1、所述步驟S2、所述步驟S3、所述步驟S4和所述步驟S5處于持續運行狀態。
13.如權利要求12所述的方法,其特征在于,所述步驟S5中,所述沉淀池(400)的表面負荷為0.6-1.0m3/(m2·h)。
14.如權利要求13所述的方法,其特征在于,所述步驟S5之后還包括通過螺桿泵(700)將沉淀池(400)的底部的污泥抽送至壓濾機進行壓濾處理。
15.如權利要求14所述的方法,其特征在于,所述一級微納米臭氧氧化處理組件(200)和所述二級微納米臭氧氧化處理組件(300)中的單個微納米氣泡分散器(202)的流量為11.7-25.8L/min。
16.如權利要求11至15中任一項所述的方法,其特征在于,所述第一預設投加量為0.002-0.009gO3/gTSS,所述預設濃度為15-25g/L,所述第一預設時間為2-4h,所述第二預設投加量為0.002-0.005gO3/gTSS,所述第二預設時間為2-4h。
發明內容
有鑒于此,本發明的第一個目的是提供一種兩段式微納米臭氧氧化污泥處理系統,旨在實現污泥綠色化處理。
本發明的第二個目的是提供一種兩段式微納米臭氧氧化污泥處理方法。
為了實現上述第一個目的,本發明提供了如下方案:
一種兩段式微納米臭氧氧化污泥處理系統,包括臭氧發生器、一級微納米臭氧氧化處理組件、二級微納米臭氧氧化處理組件和沉淀池,其中,
臭氧發生器的出氣口與一級和二級微納米臭氧氧化處理組件的進氣口連通;
一級微納米臭氧氧化處理組件的進料口用于接收污泥,以在一級微納米臭氧氧化處理組件通入臭氧時對污泥進行一級臭氧氧化處理;
二級微納米臭氧氧化處理組件的進料口用于接收一級微納米臭氧氧化處理組件處理后的污泥,以在二級微納米臭氧氧化處理組件通入臭氧時對污泥進行二級臭氧氧化處理;
沉淀池的進料口與二級微納米臭氧氧化處理組件的出料口連通,以對污泥進行沉淀處理。
優選地,在上述兩段式微納米臭氧氧化污泥處理系統中,一級微納米臭氧氧化處理組件與二級微納米臭氧氧化處理組件所包含的部件種類相同;
一級微納米臭氧氧化處理組件包括一級臭氧氧化池和微納米氣泡分散器,其中,
微納米氣泡分散器設置于一級臭氧氧化池的內部;
微納米氣泡分散器的進口作為一級微納米臭氧氧化處理組件的臭氧進口與臭氧發生器連通。
優選地,在上述兩段式微納米臭氧氧化污泥處理系統中,一級微納米臭氧氧化處理組件還包括連接于所述微納米氣泡分散器的進口和所述臭氧發生器的出氣口之間的射流混合器。
優選地,在上述兩段式微納米臭氧氧化污泥處理系統中,一級微納米臭氧氧化處理組件還包括連接于所述一級臭氧氧化池和所述射流混合器的進液口的循環泵。
優選地,在上述兩段式微納米臭氧氧化污泥處理系統中,循環泵的流量根據微納米氣泡分散器的數量確定。
優選地,在上述兩段式微納米臭氧氧化污泥處理系統中,還包括振動過濾器,以過濾濃縮污泥中的大顆粒雜質,濃縮污泥從振動過濾器的進料口進入振動過濾器,一級臭氧氧化池的進料口作為一級微納米臭氧氧化處理組件的進料口與振動過濾器的出料口連通。
優選地,在上述兩段式微納米臭氧氧化污泥處理系統中,還包括提升泵,以將過濾后的污泥提升至一級臭氧氧化池,提升泵的進料口與振動過濾器的出料口連通,一級臭氧氧化池的進料口與提升泵的出料口連通。
優選地,在上述兩段式微納米臭氧氧化污泥處理系統中,還包括螺桿泵,螺桿泵的進料口與沉淀池的下出料口連通。
優選地,在上述兩段式微納米臭氧氧化污泥處理系統中,沉淀池還包括溢流堰,溢流堰設置于沉淀池的頂部,用于排出污泥沉淀后的上清液。
優選地,在上述兩段式微納米臭氧氧化污泥處理系統中,還包括壓濾機,壓濾機為板框壓濾機,且板框壓濾機采用間歇運行方式運行,板框壓濾機的進料口與螺桿泵的出料口連通。
為了實現上述第二個目的,本發明提供了如下方案:
一種兩段式微納米臭氧氧化污泥處理方法,應用上述任一項的兩段式微納米臭氧氧化污泥處理系統,微納米臭氧氧化污泥處理方法包括:
步驟S1:臭氧發生器向一級微納米臭氧氧化處理組件中連續通入為第一預設投加量的臭氧;
步驟S2:將濃度在預設濃度的污泥連續輸送至一級微納米臭氧氧化處理組件中停留第一預設時間,以進行一級臭氧氧化處理;
步驟S3:臭氧發生器向二級微納米臭氧氧化處理組件中連續通入第二預設投加量的臭氧;
步驟S4:將一級臭氧氧化處理后的連續污泥輸送至二級微納米臭氧氧化處理組件中停留第二預設時間,以進行二級臭氧氧化處理;
步驟S5:將二級臭氧氧化處理后的污泥連續輸送至沉淀池,以進行沉淀處理。
優選地,在上述微納米臭氧氧化污泥處理方法中,在污泥處理過程中,步驟S1、步驟S2、步驟S3、步驟S4和步驟S5處于持續運行狀態。
優選地,在上述微納米臭氧氧化污泥處理方法中,步驟S5中,沉淀池的表面負荷為0.6-1.0m3/(m2·h)。
優選地,在上述微納米臭氧氧化污泥處理方法中,步驟S5之后還包括通過螺桿泵將沉淀池的底部的污泥抽送至壓濾機進行壓濾處理。
優選地,在上述微納米臭氧氧化污泥處理方法中,一級微納米臭氧氧化處理組件和二級微納米臭氧氧化處理組件中的單個微納米氣泡分散器的流量為11.7-25.8L/min。
優選地,在上述微納米臭氧氧化污泥處理方法中,所述第一預設投加量為0.002-0.009gO3/gTSS,所述預設濃度為15-25g/L,所述第一預設時間為2-4h,所述第二預設投加量為0.002-0.005gO3/gTSS,所述第二預設時間為2-4h。
(發明人:麻倩;靳鵬飛;高信剛;駱平;張強)






