公布日:2023.03.14
申請日:2022.11.30
分類號:C02F11/13(2019.01)I;C02F11/121(2019.01)I
摘要
本申請涉及一種污泥無害化處理裝置及工藝,屬于污泥無害化處理的技術領域,其包括殼體,殼體上開設有進料口和出料口,殼體內設有處理管,處理管的兩端分別與進料口和出料口連通,處理管內轉動連接有絞龍,處理管上設有濾網,濾網用于分離污泥中的水分,殼體內設有凈水機構、加熱機構及切割機構,凈水機構用于凈化污泥中分離的水分,加熱機構用于對污泥進行高溫殺菌,切割機構用于防止加熱處理后的污泥粘連,殼體內設有用于驅動絞龍轉動的驅動件。本申請具有節省了對污泥進行無害化處理所需要的能源,并回收利用了污泥中的水分的效果。

權利要求書
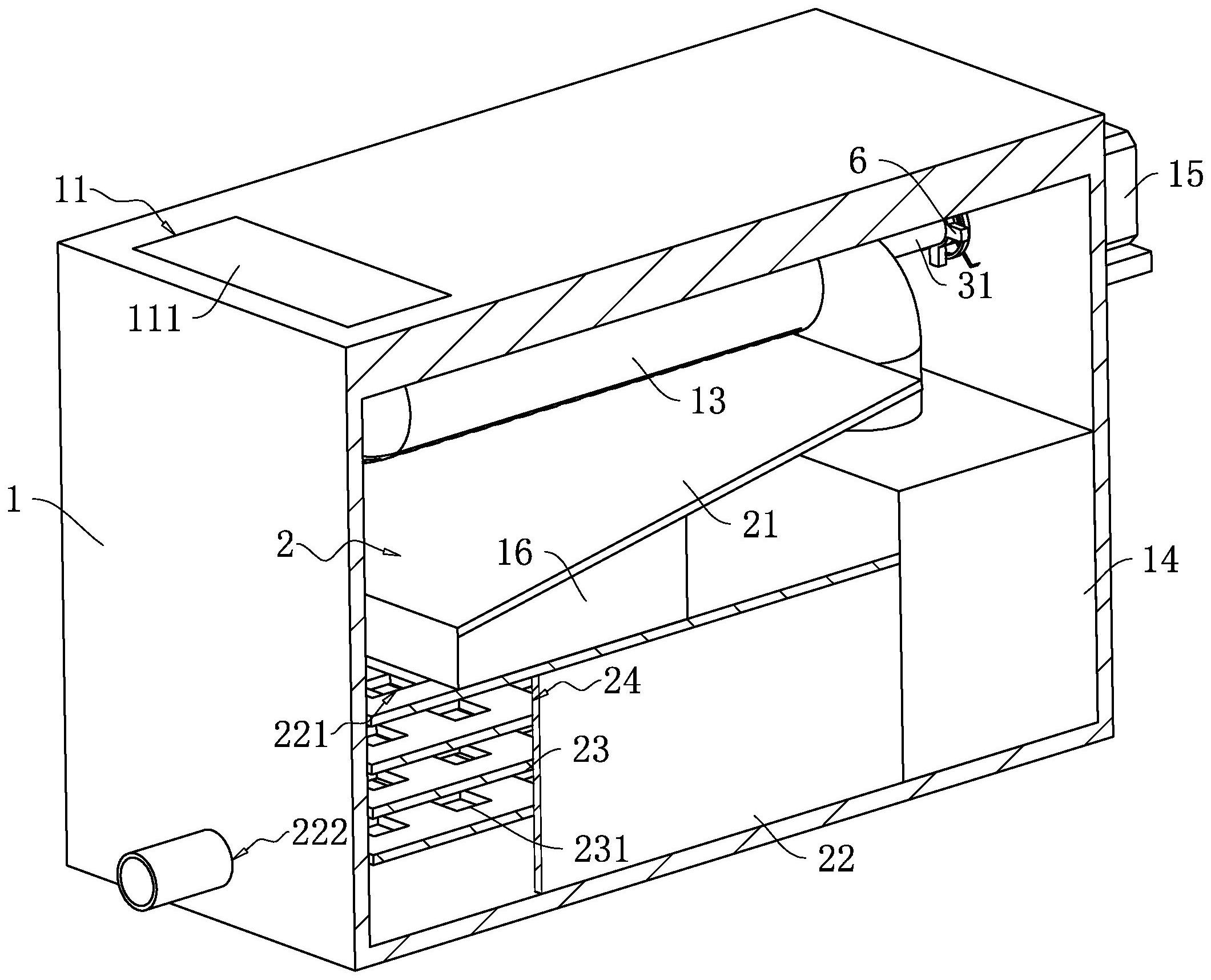
1.一種污泥無害化處理裝置,包括殼體(1),所述殼體(1)上開設有進料口(11)和出料口(12),其特征在于:所述殼體(1)內設有處理管(13),所述處理管(13)的兩端分別與進料口(11)和出料口(12)連通,所述處理管(13)內轉動連接有絞龍(3),所述處理管(13)上設有濾網,所述濾網用于分離污泥中的水分,所述殼體(1)內設有凈水機構(2)、加熱機構及切割機構(5),所述凈水機構(2)用于凈化污泥中分離的水分,所述加熱機構用于對污泥進行加熱殺菌,所述切割機構(5)用于防止加熱處理后的污泥粘連,所述殼體(1)上設有用于驅動絞龍(3)轉動的驅動件;所述絞龍(3)包括送料軸(31)和葉片(32),所述葉片(32)與送料軸(31)的外壁連接,所述葉片(32)螺旋設置于送料軸(31)上;所述切割機構(5)包括切割片(51),所述切割片(51)滑動設置于處理管(13)內,所述殼體(1)內設有用于驅動切割片(51)在處理管(13)內滑移的滑移組件;所述切割片(51)與送料軸(31)滑移連接,所述送料軸(31)上開設有用于供切割片(51)滑移的收納槽(511),所述滑移組件包括與切割片(51)的端部連接的滑移齒條(512),所述送料軸(31)內轉動設置有與滑移齒條(512)嚙合的滑移齒輪(52),所述殼體(1)內設有用于帶動滑移齒輪(52)轉動的滑移件;所述滑移件包括與送料軸(31)同軸連接的齒輪盤(6),所述齒輪盤(6)上轉動連接有轉動齒輪(61),所述齒輪盤(6)上滑移連接有驅動塊(62),所述驅動塊(62)上設有與轉動齒輪(61)嚙合的驅動齒條(622),所述驅動塊(62)上設有與滑移齒輪(52)嚙合的聯動齒條(623),所述殼體(1)內設有固定支板(4),所述固定支板(4)上開設有用于供送料軸(31)穿設的安裝孔(41),所述固定支板(4)上連接有與轉動齒輪(61)嚙合的齒圈(42),所述齒圈(42)與安裝孔(41)同軸設置;所述齒圈(42)的輪齒上開設有若干個呈弧形設置的避讓槽(421),若干個所述避讓槽(421)間隔設置,所述齒輪盤(6)上設有用于控制驅動塊(62)朝向遠離滑移齒輪(52)的方向滑移的控制彈性件。
2.根據權利要求1所述的一種污泥無害化處理裝置,其特征在于:所述凈水機構(2)包括冷凝板(21)和集水箱(22),所述集水箱(22)和冷凝板(21)均與殼體(1)的內壁連接,所述集水箱(22)上開設有入水口(221)和出水口(222),所述集水箱(22)內設有凈水層,所述凈水層位于入水口(221)和出水口(222)之間,所述冷凝板(21)的一端與處理管(13)靠近出料口(12)的一端連接,所述冷凝板(21)的另一端與集水箱(22)入水口(221)開口處的內壁連接,所述冷凝板(21)朝向集水箱(22)傾斜設置。
3.根據權利要求1所述的一種污泥無害化處理裝置,其特征在于:所述加熱機構包括電熱絲(321),所述電熱絲(321)鋪設于葉片(32)內。
4.根據權利要求1所述的一種污泥無害化處理裝置,其特征在于:所述收納槽(511)開口處的內壁上設有密封條,所述密封條呈彈性設置。
5.一種應用權利要求1-4任意一項所述的污泥無害化處理裝置的污泥無害化處理工藝,其特征在于,包括如下方法:污泥經分離,分離得到低含水污泥和分離水,對分離水進行凈化處理并收集;對低含水污泥進行加熱殺菌處理,得到干燥污泥,對干燥污泥進行切割、破碎,得到凈化后的污泥。
6.根據權利要求5所述的一種應用污泥無害化處理裝置的污泥無害化處理工藝,其特征在于,還包括如下方法:對低含水污泥進行加熱后,還得到水蒸汽,對水蒸汽進行收集。
發明內容
為了節省對污泥進行無害化處理所需要的能源,本申請提供一種污泥無害化處理裝置及工藝。
本申請提供的一種污泥無害化處理裝置及工藝采用如下的技術方案:
第一方面,本申請提供一種污泥無害化處理裝置,采用如下的技術方案:
一種污泥無害化處理裝置,包括殼體,所述殼體上開設有進料口和出料口,所述殼體內設有處理管,所述處理管的兩端分別與進料口和出料口連通,所述處理管內轉動連接有絞龍,所述處理管上設有濾網,所述濾網用于分離污泥中的水分,所述殼體內設有凈水機構、加熱機構及切割機構,所述凈水機構用于凈化污泥中分離的水分,所述加熱機構用于對污泥進行加熱殺菌,所述切割機構用于防止加熱處理后的污泥粘連,所述殼體上設有用于驅動絞龍轉動的驅動件。
通過采用上述技術方案,污泥通過進料口進入處理管內,在濾網的作用下,污泥中部分水分與污泥分離,凈水機構對污泥中分離出的水分進行凈化處理,使污泥中的水分能夠被回收利用,節約了資源;污泥中部分水分被過濾后,縮短了加熱機構對污泥進行高溫殺菌及烘干處理的工作時間,降低了能源消耗;烘干后的污泥可能會粘連在一起,通過切割機構的設置,在污泥的烘干過程中對成塊的污泥進行切割搗碎,便于對烘干的污泥進行回收;絞龍在驅動件的作用下轉動設置于處理管內,絞龍用于將污泥從出料口運輸至出料口,且在絞龍的轉動過程中,可對污泥進行攪拌,不易出現污泥與處理管的內壁粘連的情況。
優選的,所述凈水機構包括冷凝板和集水箱,所述集水箱和冷凝板均與殼體的內壁連接,所述集水箱上開設有入水口和出水口,所述集水箱內設有凈水層,所述凈水層位于入水口和出水口之間,所述冷凝板的一端與處理管靠近出料口的一端連接,所述冷凝板的另一端與集水箱入水口開口處的內壁連接,所述冷凝板朝向集水箱傾斜設置。
通過采用上述技術方案,部分污泥中的水分可先在濾網的作用下滴落在冷凝板上,而污泥中其他水分在加熱機構的作用下先蒸發,碰到冷凝板后再遇冷形成小水滴,由于冷凝板呈傾斜設置,冷凝板上的水滴會滑移至集水箱內,凈水箱內的水分被凈水層初步過濾凈化后從出水口被收集,進一步提升了污泥中水分的回收率。
優選的,所述加熱機構包括電熱絲,所述絞龍包括送料軸和葉片,所述葉片與送料軸的外壁連接,所述葉片螺旋設置于送料軸上,所述電熱絲鋪設于葉片內。
通過采用上述技術方案,呈螺旋狀設置的葉片,在對處理管內的污泥進行運輸時,還可對處理管內的污泥進行攪拌,不易出現污泥與處理管的內壁粘連的情況;絞龍在運輸污泥的過程中,污泥與絞龍的葉片接觸,電熱絲設置在絞龍的葉片上,提高了污泥的干燥效率。
優選的,所述切割機構包括切割片,所述切割片滑動設置于處理管內,所述殼體內設有用于驅動切割片在處理管內滑移的滑移組件。
通過采用上述技術方案,切割片通過滑移組件滑動設置于處理管內,切割片可對烘干時粘連的污泥進行切割搗碎,一方面便于絞龍對污泥進行運輸,另一方面便于回收烘干后的污泥,從而提升了污泥無害化處理裝置的自動化程度。
優選的,所述切割片與送料軸滑移連接,所述送料軸上開設有用于供切割片滑移的收納槽,所述滑移組件包括與切割片的端部連接的滑移齒條,所述送料軸內轉動設置有與滑移齒條嚙合的滑移齒輪,所述殼體內設有用于帶動滑移齒輪轉動的滑移件。
通過采用上述技術方案,通過滑移件帶動滑移齒輪轉動,在滑移齒輪和滑移齒條的配合下,使切割片滑動設置于收納槽內,當操作人員對處理管內進行清理時,可將切割片收納至收納槽內,切割片不易對操作人員造成傷害,提升了污泥無害化處理裝置的安全性。
優選的,所述滑移件包括與送料軸同軸連接的齒輪盤,所述齒輪盤上轉動連接有轉動齒輪,所述齒輪盤上滑移連接有驅動塊,所述驅動塊上設有與轉動齒輪嚙合的驅動齒條,所述驅動塊上設有與滑移齒輪嚙合的聯動齒條,所述殼體內設有固定支板,所述固定支板上開設有用于供送料軸穿設的安裝孔,所述固定支板上連接有與轉動齒輪嚙合的齒圈,所述齒圈與安裝孔同軸設置。
通過采用上述技術方案,送料軸在驅動件的作用下轉動,送料軸轉動時帶動齒輪盤及齒輪盤上的轉動齒輪以送料軸為轉動軸線公轉,由于轉動齒輪和齒圈嚙合,轉動齒輪在齒圈的作用下以自身的軸線為轉動軸線自轉,轉動齒輪轉動時帶動驅動塊朝向滑移齒輪滑移,驅動塊滑移后在驅動塊上的聯動齒條和滑移齒輪的嚙合配合下,令滑移齒輪轉動,從而使切割片滑移至收納槽外,僅需一個控制源便可同時控制送料軸的轉動與切割片的滑移,節省能耗。
優選的,所述齒圈的輪齒上開設有若干個呈弧形設置的避讓槽,若干個所述避讓槽間隔設置,所述齒輪盤上設有用于控制驅動塊朝向遠離滑移齒輪的方向滑移的控制彈性件。
通過采用上述技術方案,可對齒圈上的避讓槽的長度進行調整,當齒輪盤轉動至驅動塊與滑移齒輪嚙合,且切割片滑移出收納槽外時,齒輪盤剛好轉動至轉動齒輪位于避讓槽與輪齒的連接處,隨著齒輪盤的轉動,轉動齒輪進入避讓槽內,從而解除齒圈與轉動齒輪之間的嚙合,驅動塊在控制彈性件的作用下朝向遠離滑移齒輪的方向滑移,驅動塊滑移時通過聯動齒條帶動滑移齒輪轉動,滑移齒輪轉動時帶動切割片滑移至收納槽內;通過控制彈性件和避讓槽的設置,使切割塊可在收納槽內往復滑移,提升了通過切割塊分離粘連的污泥的可靠性。
優選的,所述收納槽開口處的內壁上設有密封條,所述密封條呈彈性設置。
通過采用上述技術方案,通過呈彈性的密封條的設置,污泥不易通過收納槽進入送料軸內,提升了送料軸的密封性。
第二方面,本申請提供一種應用上述污泥無害化處理裝置的污泥無害化處理工藝,包括如下方法:
污泥經分離,分離得到低含水污泥和分離水,對分離水進行凈化處理并收集;
對低含水污泥進行加熱殺菌處理,得到干燥污泥,對干燥污泥進行切割、破碎,得到凈化后的污泥。
通過采用上述技術方案,對污泥中分離出的分離水進行了凈化處理并回收,使污泥中的水分能夠被回收利用,節約了資源;干燥破碎后的污泥便于被回收處理,使污泥被無害化處理。
優選的,還包括如下方法:對低含水污泥進行加熱后,還得到水蒸汽,對水蒸汽進行收集。
通過采用上述技術方案,收集低含水污泥中加熱后產生的水蒸汽并收集,進一步回收利用了污泥中的水分,節約了資源。
綜上所述,本申請包括以下至少一種有益技術效果:
1.污泥通過進料口進入處理管內,在濾網的作用下,污泥中部分水分與污泥分離,凈水機構對污泥中分離出的水分進行凈化處理,使污泥中的水分能夠被回收利用,節約了資源;
2.污泥中部分水分被過濾后,縮短了加熱機構對污泥進行高溫殺菌及烘干處理的工作時間,降低了能源消耗。
(發明人:薛鵬;李百慶;陳芳)






