公布日:2023.03.10
申請日:2022.12.23
分類號:B01D21/00(2006.01)I;B01D21/24(2023.01)I;B01D36/04(2006.01)I;B01D35/16(2023.01)I;C02F9/00(2023.01)I;C02F3/28(2006.01)I;C02F3/12(2006.01)I
摘要
本發明公開了一種立式斜管沉淀結構,所述斜管支架上設置有豎直狀態并且左右并列緩沖區與斜管件,所述緩沖區與斜管件構成的整體由緩沖區入口至斜管件出口呈斜向上狀態。立式斜管沉淀結構可以提高沉淀池的表面負荷,與傳統斜管沉淀池相比有重大改進:一是立式斜管沉淀結構的斜管為豎直布置;二是立式斜管沉淀結構沉淀水流由外向內水平流動;三是立式斜管沉淀結構可包含一個立面、兩個立面或者多個立面;由于斜管是豎向布置,而且可以多方向布置,增大了斜管沉淀面積、減小了占地面積、提高了污泥的沉淀效率。本發明的立式斜管沉淀結構具有沉淀效果好、占地面積小、投資成本低等特點,在污水處理工程建設中有明顯的經濟優勢和技術優勢。

權利要求書
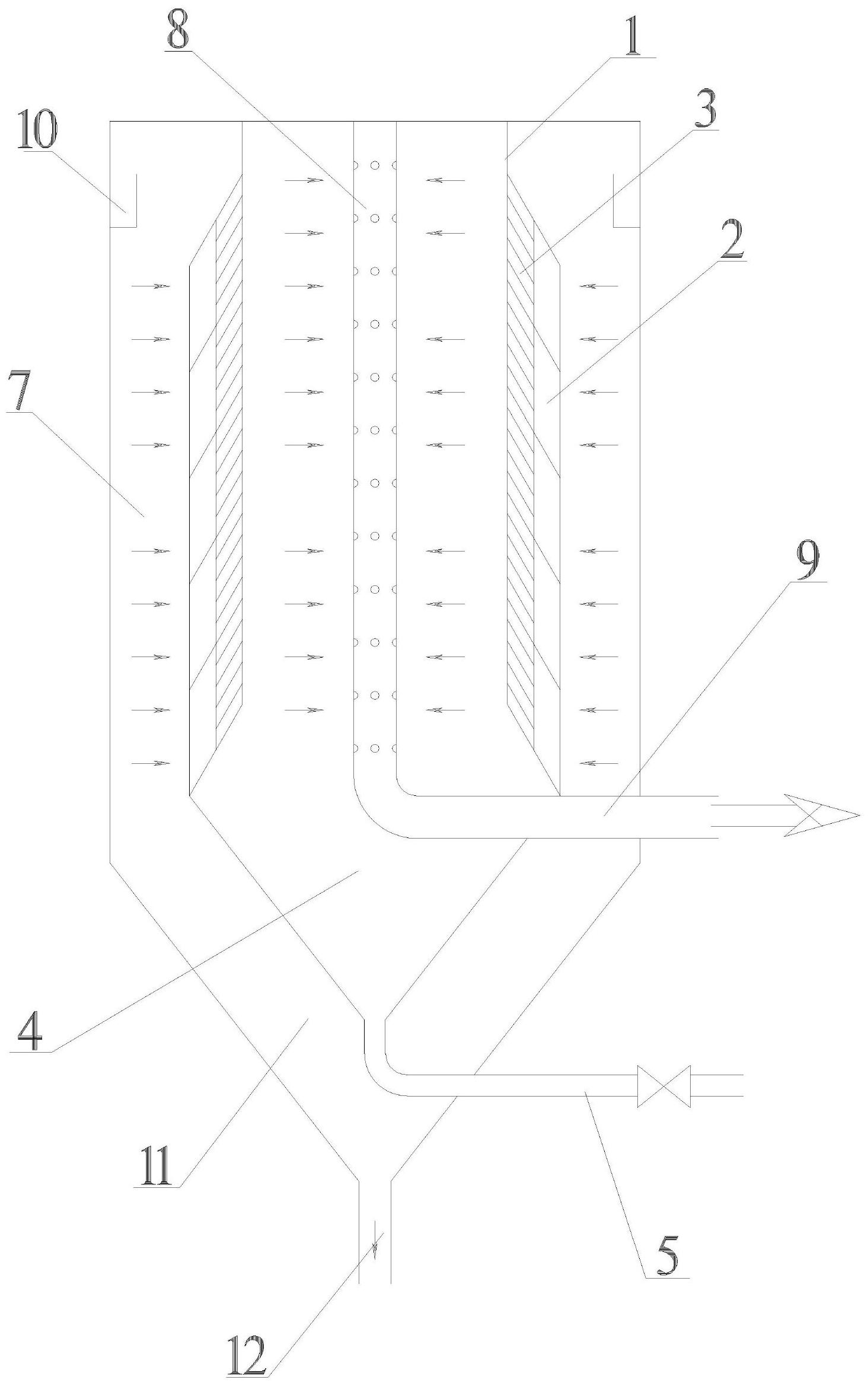
1.一種立式斜管沉淀結構,其特征在于:包括斜管支架(1),所述斜管支架(1)上設置有豎直狀態并且左右并列的緩沖區(2)與斜管件(3),所述緩沖區(2)與斜管件(3)構成的整體由緩沖區(2)入口至斜管件(3)出口呈斜向上狀態。
2.根據權利要求1所述的立式斜管沉淀結構,其特征在于:所述斜管件包括斜管或斜板中的任一一種。
3.根據權利要求1或2所述的立式斜管沉淀結構,其特征在于:至少一面為所述立式斜管沉淀結構構成環繞狀的多邊立式斜管結構(6),所述多邊立式斜管結構(6)下端呈漏斗狀的漏渣斗(4),所述漏渣斗(4)與排渣管(5)連通。
4.一種應用權利要求3所述的立式斜管沉淀結構的立式斜管沉淀池,其特征在于:所述多邊立式斜管結構(6)設置于立式斜管沉淀池主體(7)中間,所述立式斜管沉淀池主體(7)上還設置有位于多邊立式斜管結構(6)中央的集水器(8)、與集水器(8)相連通的第一排水管(9),沿所述立式斜管沉淀池主體(7)的上部周邊設置有第一進水槽(10),并且位于多邊立式斜管結構(6)外側,所述立式斜管沉淀池主體(7)下端為第一污泥斗(11),所述第一污泥斗(11)底端與第一排泥管(12)連通。
5.一種應用權利要求4的立式斜管沉淀池的重疊式污水集水處理系統,其特征在于:所述重疊式污水集水處理系統為上下兩層結構,所述重疊式污水集水處理系統上層由內到外依次環繞設置有第一進水道(13)、至少一個立式斜管沉淀池構成的立式斜管沉淀組(14)、環繞立式斜管沉淀組(14)外部的第一配水槽(15)、與第一配水槽(15)相連通的第一集水井(16)、與第一集水井(16)相連通的第一集水槽(17)、與第一集水槽(17)相連通的第一好氧池(18);所述重疊式污水集水處理系統下層由內到外依次環繞設置有第一進水道(13)、上端與立式斜管沉淀組(14)相連通及與第一進水道(13)相連通的第一厭氧池(19)、上端與第一好氧池(18)相連通及側面與第一厭氧池(19)相連通的第一缺氧池(20),所述第一厭氧池(19)中間設置有第一配水攪拌機(22),所述第一配水攪拌機(22)位于第一進水道(13)下方;在所述第一厭氧池(19)上設置有與第四排泥管(66)相連通的第一集泥器(65),所述重疊式污水集水處理系統內還設置有與第一排氣管(68)相連通的第一集氣區(67)。
6.一種應用權利要求3所述的立式斜管沉淀結構的預沉式MBR膜處理池,其特征在于:所述多邊立式斜管結構(6)設置于預沉式MBR膜處理池主體(23)中央,所述預沉式MBR膜處理池主體(23)設置有位于多邊立式斜管結構(6)中間的MBR膜組(24),所述MBR膜組(24)上端與設置有抽吸泵(25)的第二排水管(26)相連通,下端設置有空氣沖刷器(27),在所述預沉式MBR膜處理池主體(23)上設置有位于多邊立式斜管結構(6)內部的斜管清洗器(28),沿所述預沉式MBR膜處理池主體(23)的上部周邊設置有第二進水槽(29),并且位于多邊立式斜管結構(6)外側,所述預沉式MBR膜處理池主體(23)下端為第二污泥斗(30),所述第二污泥斗(30)底端與第二排泥管(31)一端連通,所述第二排泥管(31)另一端與第四厭氧池(32)及第四缺氧池(33)相連通,所述第二排泥管(31)上設置有污泥流量計(34)與污泥排放閥(35),所述排渣管(5)與第四好氧池(36)相連通,所述排渣管(5)上設置有濃縮液回流泵(37)與濃縮液流量計(38)。
7.一種應用權利要求6的預沉式MBR膜處理池的重疊式污水膜組處理系統,其特征在于:所述重疊式污水集水處理系統為上下兩層結構,所述重疊式污水集水處理系統上層由內到外依次環繞設置有第二進水道(39)、至少一個預沉式MBR膜處理池構成的預沉式MBR膜處理組(40)、環繞預沉式MBR膜處理組(40)外部的第二配水槽(41)、與第二配水槽(41)相連通的第二集水井(42)、與第二集水井(42)相連通的第二集水槽(43)、與第二集水槽(43)相連通的第二好氧池(44);所述重疊式污水集水處理系統下層由內到外依次環繞設置有第二進水道(39)、上端與預沉式MBR膜處理組(40)相連通及與第二進水道(39)相連通的第二厭氧池(45)、上端與第二好氧池(44)相連通及側面與第二厭氧池(45)相連通的第二缺氧池(46),所述第二厭氧池(45)中間設置有第二配水攪拌機(47),所述第二配水攪拌機(47)位于第二進水道(39)下方;在所述第二厭氧池(45)上設置有與第五排泥管(69)相連通的第二集泥器(70)。
8.一種應用權利要求3所述的立式斜管沉淀結構的沉淀過濾一體池,其特征在于:所述多邊立式斜管結構(6)設置于沉淀過濾池主體(48)中央,所述沉淀過濾池主體(48)上設置有進水管(49),所述多邊立式斜管結構(6)外部為布水通道,所述布水通道下方為第三污泥斗(50),所述第三污泥斗(50)底端與第三排泥管(51)連通,所述沉淀過濾池主體(48)上還設置有過濾器(52),所述過濾器(52)位于多邊立式斜管結構(6)中央,所述過濾器(52)與驅動裝置(53)連接,所述過濾器(52)上還設置有清洗裝置(54),所述過濾器(52)與第三排水管(55)相連通。
9.一種應用權利要求8的沉淀過濾一體池的重疊式污水過濾處理系統,其特征在于:所述重疊式污水集水處理系統為上下兩層結構,所述重疊式污水集水處理系統上層由內到外依次環繞設置有第三進水道(56)、至少一個沉淀過濾一體池構成的沉淀過濾一體組(57)、環繞沉淀過濾一體組(57)外部的第三配水槽(58)、與第三配水槽(58)相連通的第三集水井(59)、與第三集水井(59)相連通的第三集水槽(60)、與第三集水槽(60)相連通的第三好氧池(61);所述重疊式污水集水處理系統下層由內到外依次環繞設置有第三進水道(56)、上端與沉淀過濾一體組(57)相連通及與第三進水道(56)相連通的第三厭氧池(62)、上端與第三好氧池(61)相連通及側面與第三厭氧池(62)相連通的第三缺氧池(63),所述第三厭氧池(62)中間設置有第三配水攪拌機(64),所述第三配水攪拌機(64)位于第三進水道(56)下方;在所述第三厭氧池(62)上設置有與第六排泥管(71)相連通的第三集泥器(72),所述重疊式污水集水處理系統內還設置有與第三排氣管(73)相連通的第三集氣區(74)。
發明內容
為了解決現有技術中污水處理占地面積大、表面負荷的問題,因此本發明提供了一種立式斜管沉淀結構及應用。
本發明的技術方案為:一種立式斜管沉淀結構,包括斜管支架,所述斜管支架上設置有豎直狀態并且左右并列的緩沖區與斜管件,所述緩沖區與斜管件構成的整體由緩沖區入口至斜管件出口呈斜向上狀態。
作為上述技術方案的進一步改進:
優選地,所述斜管件包括斜管或斜板中的任一一種,斜管件只是對于本發明的沉淀形式的統稱描述,具體可以采用斜管或者斜板都可行。
優選地,至少一面為所述立式斜管沉淀結構構成環繞狀的多邊立式斜管結構,所述多邊立式斜管結構下端呈漏斗狀的漏渣斗,所述漏渣斗與排渣管連通。
為了提高立式斜管沉淀池的效果,本發明提供了一種應用立式斜管沉淀結構的立式斜管沉淀池,所述多邊立式斜管結構設置于立式斜管沉淀池主體中間,所述立式斜管沉淀池主體上還設置有位于多邊立式斜管結構中央的集水器、與集水器相連通的第一排水管,沿所述立式斜管沉淀池主體的上部周邊設置有第一進水槽,并且位于多邊立式斜管結構外側,所述立式斜管沉淀池主體下端為第一污泥斗,所述第一污泥斗底端與第一排泥管連通。
為了提高污水處理廠的效果,本發明提供了一種立式斜管沉淀池的重疊式污水集水處理系統,所述重疊式污水集水處理系統為上下兩層結構,所述重疊式污水集水處理系統上層由內到外依次環繞設置有第一進水道、至少一個立式斜管沉淀池構成的立式斜管沉淀組、環繞立式斜管沉淀組外部的第一配水槽、與第一配水槽相連通的第一集水井、與第一集水井相連通的第一集水槽、與第一集水槽相連通的第一好氧池;
所述重疊式污水集水處理系統下層由內到外依次環繞設置有第一進水道、上端與立式斜管沉淀組相連通及與第一進水道相連通的第一厭氧池、上端與第一好氧池相連通及側面與第一厭氧池相連通的第一缺氧池,所述第一厭氧池中間設置有第一配水攪拌機,所述第一配水攪拌機位于第一進水道下方。
在所述第一厭氧池上設置有與第四排泥管相連通的第一集泥器,所述重疊式污水集水處理系統內還設置有與第一排氣管相連通的第一集氣區。
為了提高MBR膜處理池的效果,本發明提供了一種應用立式斜管沉淀結構的預沉式MBR膜處理池,所述多邊立式斜管結構設置于預沉式MBR膜處理池主體中央,所述預沉式MBR膜處理池主體設置有位于多邊立式斜管結構中間的MBR膜組,所述MBR膜組上端與設置有抽吸泵的第二排水管相連通,下端設置有空氣沖刷器,在所述預沉式MBR膜處理池主體上設置有位于多邊立式斜管結構內部的斜管清洗器,沿所述預沉式MBR膜處理池主體的上部周邊設置有第二進水槽,并且位于多邊立式斜管結構外側,所述預沉式MBR膜處理池主體下端為第二污泥斗,所述第二污泥斗底端與第二排泥管一端連通,所述第二排泥管另一端與第四厭氧池及第四缺氧池相連通,所述第二排泥管上設置有污泥流量計與污泥排放閥,所述排渣管與第四好氧池相連通,所述排渣管上設置有濃縮液回流泵與濃縮液流量計。
為了提高污水處理廠的效果,本發明提供了一種應用預沉式MBR膜處理池的重疊式污水膜組處理系統,所述重疊式污水集水處理系統為上下兩層結構,所述重疊式污水集水處理系統上層由內到外依次環繞設置有第二進水道、至少一個預沉式MBR膜處理池構成的預沉式MBR膜處理組、環繞預沉式MBR膜處理組外部的第二配水槽、與第二配水槽相連通的第二集水井、與第二集水井相連通的第二集水槽、與第二集水槽相連通的第二好氧池;
所述重疊式污水集水處理系統下層由內到外依次環繞設置有第二進水道、上端與預沉式MBR膜處理組相連通及與第二進水道相連通的第二厭氧池、上端與第二好氧池相連通及側面與第二厭氧池相連通的第二缺氧池,所述第二厭氧池中間設置有第二配水攪拌機,所述第二配水攪拌機位于第二進水道下方;
在所述第二厭氧池上設置有與第五排泥管相連通的第二集泥器。
為了提高沉淀過濾一體池的效果,本發明提供了一種應用立式斜管沉淀結構的沉淀過濾一體池,所述多邊立式斜管結構設置于沉淀過濾池主體中央,所述沉淀過濾池主體上設置有進水管,所述多邊立式斜管結構外部為布水通道,所述布水通道下方為第三污泥斗,所述第三污泥斗底端與第三排泥管連通,所述沉淀過濾池主體上還設置有過濾器,所述過濾器位于多邊立式斜管結構中央,所述過濾器與驅動裝置連接,所述過濾器上還設置有清洗裝置,所述過濾器與第三排水管相連通。
為了提高污水處理廠的效果,本發明提供了一種應用沉淀過濾一體池的重疊式污水過濾處理系統,所述重疊式污水集水處理系統為上下兩層結構,所述重疊式污水集水處理系統上層由內到外依次環繞設置有第三進水道、至少一個沉淀過濾一體池構成的沉淀過濾一體組、環繞沉淀過濾一體組外部的第三配水槽、與第三配水槽相連通的第三集水井、與第三集水井相連通的第三集水槽、與第三集水槽相連通的第三好氧池;
所述重疊式污水集水處理系統下層由內到外依次環繞設置有第三進水道、上端與沉淀過濾一體組相連通及與第三進水道相連通的第三厭氧池、上端與第三好氧池相連通及側面與第三厭氧池相連通的第三缺氧池,所述第三厭氧池中間設置有第三配水攪拌機,所述第三配水攪拌機位于第三進水道下方;
在所述第三厭氧池上設置有與第六排泥管相連通的第三集泥器,所述重疊式污水集水處理系統內還設置有與第三排氣管相連通的第三集氣區。
與現有技術相比,本發明具有如下有益效果:
本發明提供的立式斜管沉淀結構可以提高沉淀池的表面負荷,與傳統斜管沉淀池相比有重大改進:一是立式斜管沉淀結構的斜管為豎直布置;二是立式斜管沉淀結構沉淀水流由外向內水平流動;三是立式斜管沉淀結構可包含一個立面、兩個立面或者多個立面;四是在預沉式MBR膜處理工藝中,成倍提高污水處理系統中的污泥濃度,增大了污水處理系統的污泥量,提高了污水處理效率,降低投資成本;由于斜管是豎向布置,而且可以多方向布置,增大了斜管沉淀面積、減小了占地面積、提高了污泥的沉淀效率。本發明的立式斜管沉淀結構具有沉淀效果好、占地面積小、投資成本低等特點,與傳統沉淀池結構相比,在污水處理工程建設中有明顯的經濟優勢和技術優勢。






