公布日:2023.03.10
申請日:2022.12.02
分類號:C02F11/121(2019.01)I;C02F11/13(2019.01)I
摘要
本發明公開了一種環保型污泥處理用干燥脫水裝置,包括第一脫水外殼、進料管、脫水桶和第二脫水外殼,所述第一脫水外殼的下表面固定有第一伺服電機,所述第一脫水外殼的后端安裝有進料管,所述脫水桶位于第一脫水外殼的內部,所述第二脫水外殼位于第一脫水外殼的下方,所述第一脫水外殼通過支撐桿固定在第二脫水外殼上方,所述第二脫水外殼的左側面固定有加熱箱,所述冷卻箱的底端連接有連接管。該環保型污泥處理用干燥脫水裝置,利用脫水桶的旋轉配合擠壓板的升降和左右移動擠壓污泥,在擠壓污泥時,每次擠壓小部分污泥,從而能夠高效排水,快速排出大量的水,提高污泥處理效率,連動結構的設置減少電機的使用,達到節能環保的目的。

權利要求書
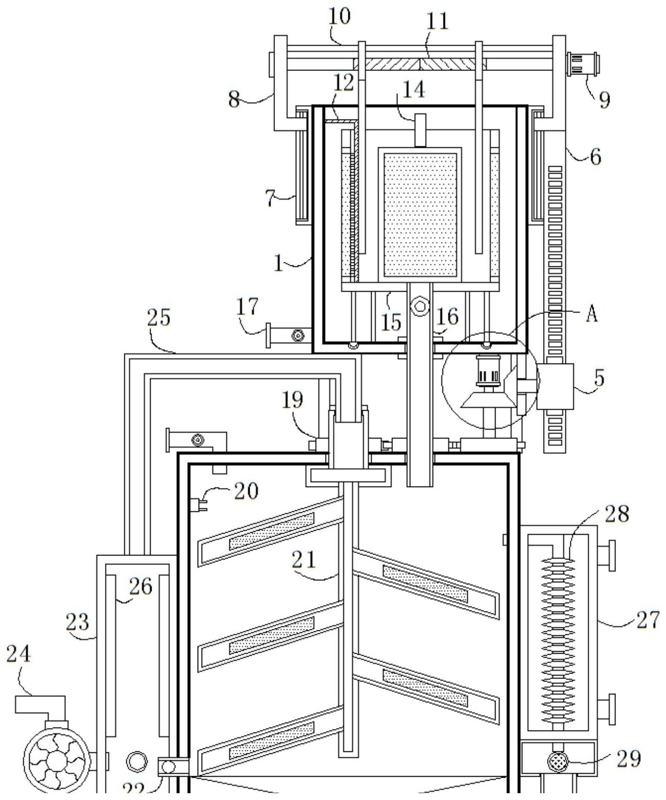
1.一種環保型污泥處理用干燥脫水裝置,包括第一脫水外殼(1)、進料管(14)、脫水桶(15)和第二脫水外殼(18),其特征在于:所述第一脫水外殼(1)的下表面固定有第一伺服電機(2),且第一伺服電機(2)的輸出端固定有第一錐形齒輪(3),所述第一錐形齒輪(3)的右端嚙合連接有第二錐形齒輪(4),且第二錐形齒輪(4)的右側面固定有外端呈鋸齒狀結構的主動輪(5),所述主動輪(5)的后方嚙合連接有條齒(6),所述第一脫水外殼(1)的左右側面均固定有限定板(7),且限定板(7)的內部卡合安裝有安裝架(8),所述第一脫水外殼(1)右上方安裝架(8)的右側面固定有第二伺服電機(9),且安裝架(8)的內側面固定有限定桿(10),所述第二伺服電機(9)的輸出端固定有反向絲桿(11),且反向絲桿(11)的外端螺紋連接有擠壓板(31),所述第一脫水外殼(1)的內壁左壁固定有清理板(12),所述第一脫水外殼(1)的下表面固定有支撐板(13),所述支撐板(13)的內部轉動安裝有主動輪(5),所述第一脫水外殼(1)的左端連接有出水管(17);所述第一脫水外殼(1)的后端安裝有進料管(14);所述脫水桶(15)位于第一脫水外殼(1)的內部,且脫水桶(15)的底端中部安裝有輸送管(16),所述輸送管(16)上安裝有控制閥;所述第二脫水外殼(18)位于第一脫水外殼(1)的下方,所述第一脫水外殼(1)通過支撐桿固定在第二脫水外殼(18)上方,且第二脫水外殼(18)的頂端轉動安裝有齒盤(19),所述第二錐形齒輪(4)的下方固定有齒盤(19),所述第二脫水外殼(18)的內部安裝有壓力傳感器(20),所述第二脫水外殼(18)頂端中部的齒盤(19)內側固定有攪拌機構(21),所述第二脫水外殼(18)的左端連接有出氣管(22),所述第二脫水外殼(18)的左側面固定有加熱箱(23),且加熱箱(23)的左側連接有氣泵(24),所述加熱箱(23)的頂端連接有彎折管(25),且彎折管(25)的右端通過旋轉密封圈連接有攪拌機構(21)的頂端,所述加熱箱(23)的內部固定有加熱片(26),所述第二脫水外殼(18)的右側固定有冷卻箱(27),且冷卻箱(27)的內部安裝有波紋管(28),所述冷卻箱(27)的底端連接有連接管(29),且冷卻箱(27)的底端螺紋連接有接水杯(30),所述第二脫水外殼(18)的底端安裝有出料管,所述波紋管(28)的左端貫穿于第二脫水外殼(18)的右端。
2.根據權利要求1所述的一種環保型污泥處理用干燥脫水裝置,其特征在于:所述條齒(6)與安裝架(8)焊接連接,且安裝架(8)與第一脫水外殼(1)構成滑動結構。
3.根據權利要求1所述的一種環保型污泥處理用干燥脫水裝置,其特征在于:所述擠壓板(31)關于反向絲桿(11)的中心線對稱設置,且擠壓板(31)的頂端貫穿有限定桿(10)。
4.根據權利要求1所述的一種環保型污泥處理用干燥脫水裝置,其特征在于:所述清理板(12)左端毛刷與脫水桶(15)的內壁相貼合,所述清理板(12)的縱截面呈“L”字型結構。
5.根據權利要求1所述的一種環保型污泥處理用干燥脫水裝置,其特征在于:所述進料管(14)的前端位于脫水桶(15)的內部。
6.根據權利要求1所述的一種環保型污泥處理用干燥脫水裝置,其特征在于:所述輸送管(16)的底端外側面固定有齒盤(19),且輸送管(16)的底端和頂端分別通過旋轉密封圈有第二脫水外殼(18)的頂端和第一脫水外殼(1)的底端。
7.根據權利要求1所述的一種環保型污泥處理用干燥脫水裝置,其特征在于:所述攪拌機構(21)的內部為空心結構,且攪拌機構(21)的外端呈多孔狀結構。
8.根據權利要求1所述的一種環保型污泥處理用干燥脫水裝置,其特征在于:所述第二脫水外殼(18)通過出氣管(22)與加熱箱(23)相連通。
9.根據權利要求1所述的一種環保型污泥處理用干燥脫水裝置,其特征在于:所述連接管(29)的右端安裝有防水透氣膜,且連接管(29)的左端位于加熱箱(23)的底端。
發明內容
本發明的目的在于提供一種環保型污泥處理用干燥脫水裝置,以解決上述背景技術中提出的現有的環保型污泥處理用干燥脫水裝置,通過上下移動壓濾板擠壓污泥,一次擠壓全部的污泥,脫水效果較差,不便于分成小塊處理各個高度的污泥,污泥處理效率較低,為了達到高效的污泥脫水效果,需要攪動污泥和旋轉脫水桶等,采取以上措施時,需要使用到多個電機,多個電機的使用,不僅增加成本,且噪音較大,不能夠達到節能環保的目的問題。
為實現上述目的,本發明提供如下技術方案:一種環保型污泥處理用干燥脫水裝置,包括第一脫水外殼、進料管、脫水桶和第二脫水外殼:
所述第一脫水外殼的下表面固定有第一伺服電機,且第一伺服電機的輸出端固定有第一錐形齒輪,所述第一錐形齒輪的右端嚙合連接有第二錐形齒輪,且第二錐形齒輪的右側面固定有外端呈鋸齒狀結構的主動輪,所述主動輪的后方嚙合連接有條齒,所述第一脫水外殼的左右側面均固定有限定板,且限定板的內部卡合安裝有安裝架,所述第一脫水外殼右上方安裝架的右側面固定有第二伺服電機,且安裝架的內側面固定有限定桿,所述第二伺服電機的輸出端固定有反向絲桿,且反向絲桿的外端螺紋連接有擠壓板,所述第一脫水外殼的內壁左壁固定有清理板,所述第一脫水外殼的下表面固定有支撐板,所述支撐板的內部轉動安裝有主動輪,所述第一脫水外殼的左端連接有出水管;
所述第一脫水外殼的后端安裝有進料管;
所述脫水桶位于第一脫水外殼的內部,且脫水桶的底端中部安裝有輸送管,所述輸送管上安裝有控制閥;
所述第二脫水外殼位于第一脫水外殼的下方,所述第一脫水外殼通過支撐桿固定在第二脫水外殼上方,且第二脫水外殼的頂端轉動安裝有齒盤,所述第二錐形齒輪的下方固定有齒盤,所述第二脫水外殼的內部安裝有壓力傳感器,所述第二脫水外殼頂端中部的齒盤內側固定有攪拌機構,所述第二脫水外殼的左端連接有出氣管,所述第二脫水外殼的左側面固定有加熱箱,且加熱箱的左側連接有氣泵,所述加熱箱的頂端連接有彎折管,且彎折管的右端通過旋轉密封圈連接有攪拌機構的頂端,所述加熱箱的內部固定有加熱片,所述第二脫水外殼的右側固定有冷卻箱,且冷卻箱的內部安裝有波紋管,所述冷卻箱的底端連接有連接管,且冷卻箱的底端螺紋連接有接水杯,所述第二脫水外殼的底端安裝有出料管,所述波紋管的左端貫穿于第二脫水外殼的右端。
優選的,所述條齒與安裝架焊接連接,且安裝架與第一脫水外殼構成滑動結構。
優選的,所述擠壓板關于反向絲桿的中心線對稱設置,且擠壓板的頂端貫穿有限定桿。
優選的,所述清理板左端毛刷與脫水桶的內壁相貼合,所述清理板的縱截面呈“L”字型結構。
優選的,所述進料管的前端位于脫水桶的內部。
優選的,所述輸送管的底端外側面固定有齒盤,且輸送管的底端和頂端分別通過旋轉密封圈有第二脫水外殼的頂端和第一脫水外殼的底端。
優選的,所述攪拌機構的內部為空心結構,且攪拌機構的外端呈多孔狀結構。
優選的,所述第二脫水外殼通過出氣管與加熱箱相連通。
優選的,所述波紋管的左端貫穿于第二脫水外殼的右端連接管的右端安裝有防水透氣膜,且連接管的左端位于加熱箱的底端。
與現有技術相比,本發明的有益效果是:該環保型污泥處理用干燥脫水裝置,利用脫水桶的旋轉配合擠壓板的升降和左右移動擠壓污泥,在擠壓污泥時,每次擠壓小部分污泥,從而能夠高效排水,快速排出大量的水,提高污泥處理效率,連動結構的設置減少電機的使用,達到節能環保的目的;
1.設置有脫水桶和擠壓板,第一錐形齒輪帶動齒盤和第二錐形齒輪旋轉,齒盤帶動脫水桶和輸送管旋轉的同時,通過第二錐形齒輪和主動輪的旋轉使得安裝架和擠壓板升降,利用擠壓板的升降擠壓脫水桶內不同高度位置的污泥,且脫水桶的旋轉使得污泥旋轉,擠壓板邊升降邊左右移動,同時脫水桶旋轉,利用脫水桶的旋轉配合擠壓板的升降和左右移動擠壓污泥,初步處理污泥,提高污泥處理效率,通過擠壓板擠壓污泥時,每次擠壓小劑量的污泥,避免一次擠壓全部的污泥,從而能夠快速排出被擠壓的污泥內的水;
2.設置有第一錐形齒輪、第二錐形齒輪、主動輪和條齒、齒盤和攪拌機構,第一錐形齒輪、第二錐形齒輪、主動輪和條齒、齒盤和攪拌機構構成連動結構,控制脫水桶旋轉的同時控制擠壓板的升降和攪拌機構的旋轉,連動結構的設置減少電機的使用,達到節能環保的目的;
3.設置有脫水桶、輸送管和第二脫水外殼,脫水桶通過輸送管與第二脫水外殼連通,方便快速輸送污泥。
(發明人:黃志洋;李紅軍;王婷)






