公布日:2023.11.24
申請日:2023.09.25
分類號:C02F1/66(2023.01)I;C02F3/28(2023.01)I
摘要
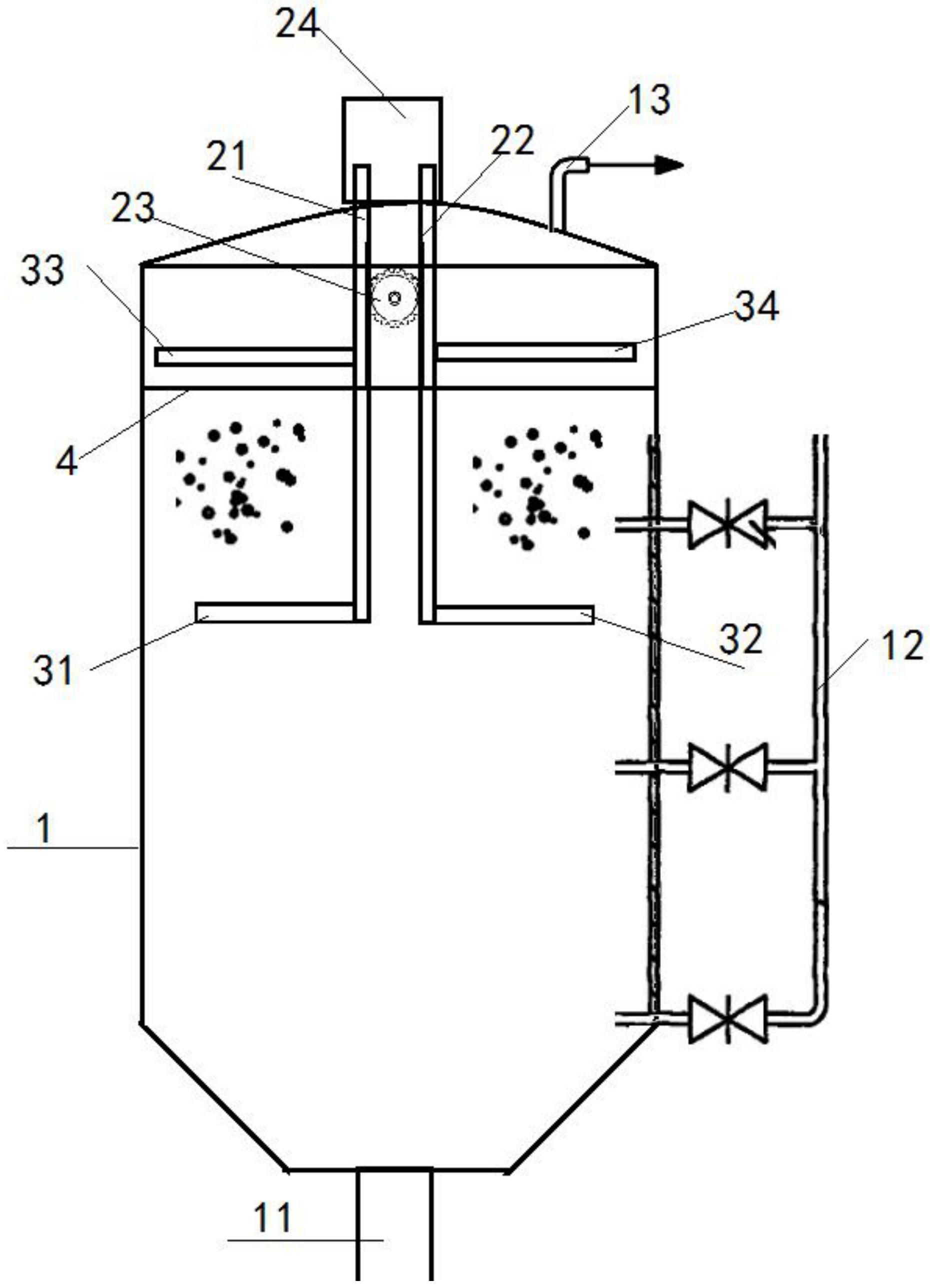
本發明涉及一種免曝氣生物濾塔污水處理裝置,pH值調節機構使得酸化菌微生物填料盤進入污水液面以下,堿性調節填料盤位于污水液面以上確保污水的pH在4以下;出氣口輸出的氣體被甲烷濃度測試儀檢測出存在甲烷輸出并且甲烷濃度T1時,說明污水進入產甲烷階段;pH值調節機構使得酸化菌微生物填料盤位于污水液面以上,堿性調節填料盤位于污水液面以下調整污水的pH值6.5~7.5,甲烷濃度測試儀檢測到甲烷濃度T2;當T2≥T1時,pH值調節機構保持不動;當T2<T1時,堿性調節填料盤影響到酸化階段的產物,pH值調節機構重新使得酸化菌微生物填料盤進入污水液面以下,堿性調節填料盤位于污水液面以上重新使得污水的pH在4以下。

權利要求書
1.一種免曝氣生物濾塔污水處理裝置,包括生物濾塔(1)設有進水口(11)、出水口(12)以及出氣口(13),其特征在于:生物濾塔(1)內設有pH值調節機構能夠調整污水中的pH值適應酸化階段與產甲烷階段不同的pH值需求;pH值調節機構使得酸化菌微生物填料盤(33)進入污水液面(4)以下,堿性調節填料盤(34)位于污水液面(4)以上確保污水的pH在4以下;出氣口(13)輸出的氣體被甲烷濃度測試儀檢測出存在甲烷輸出并且甲烷濃度T1時,說明污水進入產甲烷階段;pH值調節機構使得酸化菌微生物填料盤(33)位于污水液面(4)以上,堿性調節填料盤(34)位于污水液面(4)以下調整污水的pH值6.5~7.5,甲烷濃度測試儀檢測到甲烷濃度T2;當T2≥T1時,pH值調節機構保持不動;當T2<T1時,堿性調節填料盤(34)影響到酸化階段的產物,pH值調節機構重新使得酸化菌微生物填料盤(33)進入污水液面(4)以下,堿性調節填料盤(34)位于污水液面(4)以上重新使得污水的pH在4以下。
2.根據權利要求1所述的免曝氣生物濾塔污水處理裝置,其特征在于:pH值調節機構包括第一垂直移動驅動件(21)和第二垂直移動驅動件(22),第一垂直移動驅動件(21)的第一齒條(211)與第二垂直移動驅動件(22)的第二齒條(221)與齒輪(23)嚙合,齒輪(23)轉動使得第一垂直移動驅動件(21)和第二垂直移動驅動件(22)反向移動;第一垂直移動驅動件(21)與酸化菌微生物填料盤(33)連接,第二垂直移動驅動件(22)與堿性調節填料盤(34)連接。
3.根據權利要求2所述的免曝氣生物濾塔污水處理裝置,其特征在于:第一垂直移動驅動件(21)還連接第一微生物填料盤(31),第一微生物填料盤(31)位于酸化菌微生物填料盤(33)下方并且始終位于污水液面(4)下方;第一微生物填料盤(31)用于聚集水解酶微生物、酸化菌以及產氫產乙酸菌。
4.據權利要求3所述的免曝氣生物濾塔污水處理裝置,其特征在于:第二垂直移動驅動件(22)還連接第二微生物填料盤(32),第二微生物填料盤(32)位于堿性調節填料盤(34)下方并且始終位于污水液面(4)下方;第二微生物填料盤(32)用于聚集水解酶微生物、酸化菌以及產氫產乙酸菌。
5.據權利要求4所述的免曝氣生物濾塔污水處理裝置,其特征在于:第一垂直移動驅動件(21)和第二垂直移動驅動件(22)上方通過上限位件(24)確保兩者始終與齒輪(23)嚙合;上限位件(24)設有兩個限位孔(241),第一垂直移動驅動件(21)和第二垂直移動驅動件(22)能夠分別在一個限位孔(241)中移動。
6.據權利要求5所述的免曝氣生物濾塔污水處理裝置,其特征在于:第一垂直移動驅動件(21)和第二垂直移動驅動件(22)下方通過下限位件(26)確保兩者始終與齒輪(23)嚙合;下限位件(26)設有兩個限位孔,第一垂直移動驅動件(21)和第二垂直移動驅動件(22)能夠分別在一個限位孔中移動。
7.據權利要求6所述的免曝氣生物濾塔污水處理裝置,其特征在于:齒輪(23)與傳動轉軸(25)連接,傳動轉軸(25)一個端部伸出生物濾塔(1)與傳動齒輪(52)連接,傳動齒輪(52)與驅動齒輪(51)嚙合,伺服電機(5)的轉子與驅動齒輪(51)連接;轉子旋轉使得齒輪(23)旋轉。
8.據權利要求7所述的免曝氣生物濾塔污水處理裝置,其特征在于:傳動轉軸(25)一端通過第一軸承(53)安裝在生物濾塔(1)的通孔中,第一軸承(53)的內圈與傳動轉軸(25)連接,第一軸承(53)的外圈與生物濾塔(1)的通孔內壁連接;傳動轉軸(25)另一端通過第二軸承(54)與生物濾塔(1)內壁連接,第二軸承(54)的內圈與傳動轉軸(25)連接,第二軸承(54)的外圈與生物濾塔(1)的內壁連接。
9.據權利要求8所述的免曝氣生物濾塔污水處理裝置,其特征在于:生物濾塔(1)中設有加熱器能夠對污水溫度進行調節提高水解速度。
10.據權利要求9所述的免曝氣生物濾塔污水處理裝置,其特征在于:生物濾塔(1)中設有pH值監測傳感器和溫度傳感器。
發明內容
本發明設計了一種免曝氣生物濾塔污水處理裝置,其解決的技術問題是現有污水處理裝置無法平衡酸化階段的酸性條件以及產甲烷階段中性條件,造成甲烷的生成減少和氫消耗的增加,并導致厭氧處理末端產物的不可控。
為了解決上述存在的技術問題,本發明采用了以下方案:
一種免曝氣生物濾塔污水處理裝置,包括生物濾塔設有進水口、出水口以及出氣口,生物濾塔內設有pH值調節機構能夠調整污水中的pH值適應酸化階段與產甲烷階段不同的pH值需求;pH值調節機構使得酸化菌微生物填料盤進入污水液面以下,堿性調節填料盤位于污水液面以上確保污水的pH在4以下;出氣口輸出的氣體被甲烷濃度測試儀檢測出存在甲烷輸出并且甲烷濃度T1時,說明污水進入產甲烷階段;pH值調節機構使得酸化菌微生物填料盤位于污水液面以上,堿性調節填料盤位于污水液面以下調整污水的pH值6.5~7.5,甲烷濃度測試儀檢測到甲烷濃度T2;當T2≥T1時,pH值調節機構保持不動;當T2<T1時,堿性調節填料盤影響到酸化階段的產物,pH值調節機構重新使得酸化菌微生物填料盤進入污水液面以下,堿性調節填料盤位于污水液面以上重新使得污水的pH在4以下。
優選地,pH值調節機構包括第一垂直移動驅動件和第二垂直移動驅動件,第一垂直移動驅動件的第一齒條與第二垂直移動驅動件的第二齒條與齒輪嚙合,齒輪轉動使得第一垂直移動驅動件和第二垂直移動驅動件反向移動;第一垂直移動驅動件與酸化菌微生物填料盤連接,第二垂直移動驅動件與堿性調節填料盤連接。
優選地,第一垂直移動驅動件還連接第一微生物填料盤,第一微生物填料盤位于酸化菌微生物填料盤下方并且始終位于污水液面下方;第一微生物填料盤用于聚集水解酶微生物、酸化菌以及產氫產乙酸菌。
優選地,第二垂直移動驅動件還連接第二微生物填料盤,第二微生物填料盤位于堿性調節填料盤下方并且始終位于污水液面下方;第二微生物填料盤用于聚集水解酶微生物、酸化菌以及產氫產乙酸菌。
優選地,第一垂直移動驅動件和第二垂直移動驅動件上方通過上限位件確保兩者始終與齒輪嚙合;上限位件設有兩個限位孔,第一垂直移動驅動件和第二垂直移動驅動件能夠分別在一個限位孔中移動。
優選地,第一垂直移動驅動件和第二垂直移動驅動件下方通過下限位件確保兩者始終與齒輪嚙合;下限位件設有兩個限位孔,第一垂直移動驅動件和第二垂直移動驅動件能夠分別在一個限位孔中移動。
優選地,齒輪與傳動轉軸連接,傳動轉軸一個端部伸出生物濾塔與傳動齒輪連接,傳動齒輪與驅動齒輪嚙合,伺服電機的轉子與驅動齒輪連接;轉子旋轉使得齒輪旋轉。
優選地,傳動轉軸一端通過第一軸承安裝在生物濾塔的通孔中,第一軸承的內圈與傳動轉軸連接,第一軸承的外圈與生物濾塔的通孔內壁連接;傳動轉軸另一端通過第二軸承與生物濾塔內壁連接,第二軸承的內圈與傳動轉軸連接,第二軸承的外圈與生物濾塔的內壁連接。
優選地,生物濾塔中設有加熱器能夠對污水溫度進行調節提高水解速度。
優選地,生物濾塔中設有pH值監測傳感器和溫度傳感器。
該免曝氣生物濾塔污水處理裝置具有以下有益效果:
(1)本發明通過pH值調節機構調節污水的酸堿度,確保酸化階段污水可以在合適的酸性條件產生足夠多的產物,為后續產甲烷階段提供充足的反應物,同時在產甲烷階段將污水調節為中性,增加甲烷生成量和減少氫的消耗量,提高了污水的有效利用率。
(2)本發明通過pH值調節機構調節污水的酸堿度的同時,還可以將第一微生物填料盤和第二微生物填料盤下降至污水不同的位置,提高處理的效率,一舉多得。
(發明人:劉聰)






