公布日:2023.12.01
申請日:2023.10.08
分類號:C02F3/30(2023.01)I;C02F1/52(2023.01)I
摘要
本發明涉及污水處理技術領域,公開了提供了一種分散式生活污水處理一體機,包括:厭氧池,與生活污水排放口連接;生化反應池,通過管路閥門與所述厭氧池的排水口連接;混凝池,通過管路閥門與所述生化反應池的排水口連接;絮凝池,通過管路閥門與所述混凝池的排水口連接;沉淀池,通過管路閥門與所述絮凝池通過管路閥門連接;污泥泵,與所述沉淀池通過管路閥門連接;加藥罐,設置有多個,分別與所述混凝池和所述混凝池通過管路閥門連通;控制電箱,與所述污泥泵和所述加藥罐電連接。本發明的生活污水處理機為一體式結構,結構簡單,易于安裝,拆卸便捷,建設周期短,可以使分散式生活污水得到合理的利用,有效節約水資源,充分利用農村生活污水。

權利要求書
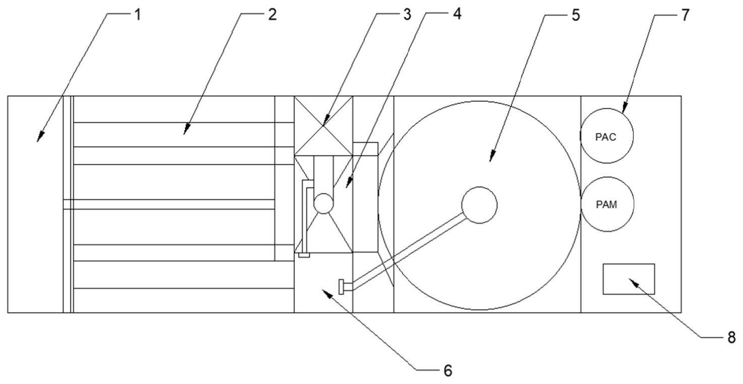
1.一種分散式生活污水處理一體機,其特征在于,包括:厭氧池(1),與生活污水排放口連接,用于對生活污水進行厭氧處理,分解生活污水中的有機物質;生化反應池(2),通過管路閥門與所述厭氧池(1)的排水口連接,所述生化反應池(2)內設置有擋板(21)結構,將所述生化反應池(2)分隔成富氧區(22)和缺氧區(23),用于去除生活污水中的有機物的同時進行脫氮除磷反應,去除生活污水中的COD、氨氮及總磷;混凝池(3),通過管路閥門與所述生化反應池(2)的排水口連接,用于對生活污水進行混凝反應處理;絮凝池(4),通過管路閥門與所述混凝池(3)的排水口連接,用于對生活污水進行絮凝反應處理;沉淀池(5),通過管路閥門與所述絮凝池(4)通過管路閥門連接,用于對經過混凝反應和絮凝反應的生活污水進行沉淀處理,去除生活污水中的懸浮物和殘余總磷;污泥泵(6),與所述沉淀池(5)通過管路閥門連接,用于將所述沉淀池(5)底部的沉淀物抽出;加藥罐(7),設置有多個,分別與所述混凝池(3)和所述絮凝池(4)通過管路閥門連通,用于向所述混凝池(3)和所述絮凝池(4)內加藥;控制電箱(8),與所述污泥泵(6)和所述加藥罐(7)電連接,用于控制所述污泥泵(6)和所述加藥罐(7)的動作。
2.根據權利要求1所述的一種分散式生活污水處理一體機,其特征在于,所述厭氧池(1)內存放有厭氧微生物,所述厭氧微生物對生活污水中的有機物質進行厭氧分解,所述厭氧池(1)的下側設有厭氧池進水口通過管路閥門與生活污水排放口連接,所述厭氧池(1)上側設有厭氧池排水口。
3.根據權利要求2所述的一種分散式生活污水處理一體機,其特征在于,所述生化反應池(2)與所述厭氧池排水口通過管路閥門連通,所述生化反應池(2)內設有,擋板(21),設置有多塊,包括兩塊豎直擋板和兩塊傾斜擋板,兩塊所述傾斜擋板設置于所述豎直擋板的下方,與所述豎直擋板間存在空隙,兩塊所述豎直擋板和兩塊所述傾斜擋板的邊緣與所述生化反應池(2)內壁固定連接,兩塊所述豎直擋板之間形成富氧區(22),所述豎直擋板和所述傾斜擋板間形成缺氧區(23),在所述富氧區(22)和所述缺氧區(23)之前流動有活性污泥;曝氣裝置(24),設置于所述富氧區(22)內,用于向富氧區(22)內充氧,并使所述活性污泥在所述富氧區(22)和所述缺氧區(23)間循環流動;斜板填料層一(25),設置于所述缺氧區(23)內,與所述生化反應池(2)的內壁連接,用于攔截所述活性污泥和生活污水中的大顆粒懸浮物,使所述活性污泥回流至缺氧區(23)內,所述生化反應池(2)上設置有生化反應池排水口,位于所述斜板填料層一(25)的上方,所述生化反應池排水口通過管路閥門與所述混凝池(3)連通。
4.根據權利要求3所述的一種分散式生活污水處理一體機,其特征在于,所述沉淀池(5)內設有排泥板(51),設置于所述沉淀池(5)底部,與所述沉淀池(5)的底部連接,為錐形結構,所述排泥板(51)底部設置有排泥管,所述排泥管與所述污泥泵(6)輸入端連接;斜板填料層二(52),設置于所述沉淀池(5)內,位于所述排泥板(51)的上方,與所述沉淀池(5)內壁連接,用于攔截所述生活污水中的沉淀物,所述沉淀池(5)上設置有沉淀池排水口,設置于所述斜板填料層二(52)的上方,所述沉淀池排水口連接有排水管,沉淀后的生活污水經所述斜板填料層二(52)由沉淀池排水口排出至排水管內。
5.根據權利要求4所述的一種分散式生活污水處理一體機,其特征在于,所述污泥泵(6)的輸出端連接有污泥池,所述污泥泵(6)將沉淀池(5)中的沉淀物抽出排放至污泥池內。
6.根據權利要求5所述的一種分散式生活污水處理一體機,其特征在于,所述加藥罐(7)包括:PAC加藥罐,與所述混凝池(3)通過管路閥門連通,用于向所述所述混凝池(3)內加入PAC藥劑;PAM加藥罐,與所述絮凝池(4)通過管路閥門連通,用于向所述所述絮凝池(4)內加入PAM藥劑。
7.根據權利要求6所述的一種分散式生活污水處理一體機,其特征在于,所述分散式生活污水處理一體機為一體式結構,所述厭氧池(1)、所述生化反應池(2)和所述沉淀池(5)并排排布,所述混凝池(3)、所述絮凝池(4)和所述污泥泵(6)并列排布后設置于所述生化反應池(2)和所述沉淀池(5)之間,所述PAC加藥罐、所述PAM加藥罐和所述控制電箱(8)并列排布后,設置于所述沉淀池(5)一側。
8.根據權利要求7所述的一種分散式生活污水處理一體機,其特征在于,所述分散式生活污水處理一體機的污水處理方法為:步驟一,生活污水經過生活污水排放口排放至所述厭氧池(1)內,與所述厭氧池(1)內的厭氧微生物進行有機物厭氧分解反應,從而去除生活污水中的有機物質,經厭氧分解反應后的生活污水由厭氧池排水口排放至所述生化反應池(2)內;步驟二,所述生化反應池(2)內的所述活性污泥在所述富氧區(22)和所述缺氧區(23)之間循環作用,生活污水在所述活性污泥作用下進行生化反應,去除生活污水中的有機物以及COD、氨氮及總磷等污染物,經生化反應處理后的生活污水通過所述斜板填料層一(25)使活性污泥以及部分大顆粒懸浮物回流到缺氧區(23),由所述生化反應池排水口排放至所述混凝池(3)內;步驟三,所述PAC加藥罐向所述混凝池(3)內加入混凝劑進行混凝反應,混凝后生活污水進入到所述絮凝池(4),通過所述PAM加藥罐向所述絮凝池(4)內加入絮凝劑進行絮凝反應,反應后污水進入到所述沉淀池(5);步驟四,進入到所述沉淀池(5)內的生活污水進行沉淀處理,通過混凝及絮凝反應去除的懸浮物和殘余總磷由重力作用沉淀到所述沉淀池(5)池底的所述污泥板(51)內,由所述污泥泵(6)排出到所述污泥池,沉淀上清液經過所述斜板填料層二(52)攔截下沉淀物由所述沉淀池排水口排出至所述排水管內,生活污水處理完成。
發明內容
本發明目的在于提供一種分散式生活污水處理一體機,用以解決上述背景技術提出問題中的至少一項。
為解決上述技術問題,本發明的具體技術方案如下:
本申請的一些實施例中,提供了一種分散式生活污水處理一體機,包括:
厭氧池,與生活污水排放口連接,用于對生活污水進行厭氧處理,分解生活污水中的有機物質;
生化反應池,通過管路閥門與所述厭氧池的排水口連接,所述生化反應池內設置有擋板結構,將所述生化反應池分隔成富氧區和缺氧區,用于去除生活污水中的有機物的同時進行脫氮除磷反應,去除生活污水中的COD、氨氮及總磷;
混凝池,通過管路閥門與所述生化反應池的排水口連接,用于對生活污水進行混凝反應處理;
絮凝池,通過管路閥門與所述混凝池的排水口連接,用于對生活污水進行絮凝反應處理;
沉淀池,通過管路閥門與所述絮凝池通過管路閥門連接,用于對經過混凝反應和絮凝反應的生活污水進行沉淀處理,去除生活污水中的懸浮物和殘余總磷;
污泥泵,與所述沉淀池通過管路閥門連接,用于將所述沉淀池底部的沉淀物抽出;
加藥罐,設置有多個,分別與所述混凝池和所述絮凝池通過管路閥門連通,用于向所述混凝池和所述絮凝池內加藥;
控制電箱,與所述污泥泵和所述加藥罐電連接,用于控制所述污泥泵和所述加藥罐的動作。
優選的,在上述一種分散式生活污水處理一體機的優選實施例中,所述厭氧池內存放有厭氧微生物,所述厭氧微生物對生活污水中的有機物質進行厭氧分解,所述厭氧池的下側設有厭氧池進水口通過管路閥門與生活污水排放口連接,所述厭氧池上側設有厭氧池排水口。
優選的,在上述一種分散式生活污水處理一體機的優選實施例中,所述生化反應池與所述厭氧池排水口通過管路閥門連通,所述生化反應池內設有,
擋板,設置有多塊,包括兩塊豎直擋板和兩塊傾斜擋板,兩塊所述傾斜擋板設置于所述豎直擋板的下方,與所述豎直擋板間存在空隙,兩塊所述豎直擋板和兩塊所述傾斜擋板的邊緣與所述生化反應池內壁固定連接,兩塊所述豎直擋板之間形成富氧區,所述豎直擋板和所述傾斜擋板間形成缺氧區,在所述富氧區和所述缺氧區之前流動有活性污泥;
曝氣裝置,設置于所述富氧區內,用于向富氧區內充氧,并使所述活性污泥在所述富氧區和所述缺氧區間循環流動;
斜板填料層一,設置于所述缺氧區內,與所述生化反應池內壁連接,用于攔截所述活性污泥和生活污水中的大顆粒懸浮物,使所述活性污泥回流至缺氧區內,所述生化反應池上設置有生化反應池排水口,位于所述斜板填料層一的上方,所述生化反應池排水口通過管路閥門與所述混凝池連通。
優選的,在上述一種分散式生活污水處理一體機的優選實施例中,所述沉淀池內設有,
排泥板,設置于所述沉淀池底部,為錐形結構,所述排泥板底部設置有排泥管,所述排泥管與所述污泥泵輸入端連接;
斜板填料層二,設置于所述沉淀池內,位于所述排泥板的上方,與所述沉淀池內壁連接,用于攔截所述生活污水中的沉淀物,所述沉淀池上設置有沉淀池排水口,設置于所述斜板填料層二的上方,所述沉淀池排水口連接有排水管,沉淀后的生活污水經所述斜板填料層二由沉淀池排水口排出至排水管內。
優選的,在上述一種分散式生活污水處理一體機的優選實施例中,所述污泥泵的輸出端連接有污泥池,所述污泥泵將沉淀池中的沉淀物抽出排放至污泥池內。
優選的,在上述一種分散式生活污水處理一體機的優選實施例中,所述加藥罐包括:
PAC加藥罐,與所述混凝池通過管路閥門連通,用于向所述所述混凝池內加入PAC藥劑;
PAM加藥罐,與所述絮凝池通過管路閥門連通,用于向所述所述絮凝池內加入PAM藥劑。
優選的,在上述一種分散式生活污水處理一體機的優選實施例中,所述分散式生活污水處理一體機為一體式結構,所述厭氧池、所述生化反應池和所述沉淀池并排排布,所述混凝池、所述絮凝池和所述污泥泵并列排布后設置于所述生化反應池和所述沉淀池之間,所述PAC加藥罐、所述PAM加藥罐和所述控制電箱并列排布后,設置于所述沉淀池一側。
優選的,在上述一種分散式生活污水處理一體機的優選實施例中,所述分散式生活污水處理一體機的污水處理方法為:
步驟一,生活污水經過生活污水排放口排放至所述厭氧池內,與所述厭氧池內的厭氧微生物進行有機物厭氧分解反應,從而去除生活污水中的有機物質,經厭氧分解反應后的生活污水由厭氧池排水口排放至所述生化反應池內;
步驟二,所述生化反應池內的所述活性污泥在所述富氧區和所述缺氧區之間循環作用,生活污水在所述活性污泥作用下進行生化反應,去除生活污水中的有機物以及COD、氨氮及總磷等污染物,經生化反應處理后的生活污水通過所述斜板填料層一使活性污泥以及部分大顆粒懸浮物回流到缺氧區,由所述生化反應池排水口排放至所述混凝池內;
步驟三,所述PAC加藥罐向所述混凝池內加入混凝劑進行混凝反應,混凝后生活污水進入到所述絮凝池,通過所述PAM加藥罐向所述絮凝池內加入絮凝劑進行絮凝反應,反應后污水進入到所述沉淀池;
步驟四,進入到所述沉淀池內的生活污水進行沉淀處理,通過混凝及絮凝反應去除的懸浮物和殘余總磷由重力作用沉淀到所述沉淀池池底的所述污泥板內,由所述污泥泵排出到所述污泥池,沉淀上清液經過所述斜板填料層二攔截下沉淀物由所述沉淀池排水口排出至所述排水管內,生活污水處理完成。
經由上述的技術方案可知,與現有技術相比,本發明的有益效果在于:本發明的分散式生活污水處理一體機為一體式結構,其結構簡單,易于安裝,拆卸便捷,建設周期短,造價低。生化反應池內的特殊的擋板設計將生化反應池分隔為富氧區和缺氧區,同時滿足好氧池和缺氧池的功能,使處理一體機的占用體積更小,在生化反應池和沉淀池內設置斜板填料層能夠提高污水內污物的去除效率,減少處理時間,且占用空間少,分散式生活污水處理一體機的各級處理可以使分散式生活污水得到合理的利用,有效節約水資源,充分利用農村生活污水,使處理后的污水達到國家規定排放的標準,該設備具有體積小易安裝運輸、污水處理效率高、功能性完善等特點。
(發明人:王光娜;曾祥;陳雅璋;江敏輝;葉廣運;黃國豪)






