公布日:2023.03.17
申請日:2022.12.27
分類號:C02F3/00(2023.01)I;C02F3/20(2023.01)I;C02F3/12(2023.01)I
摘要
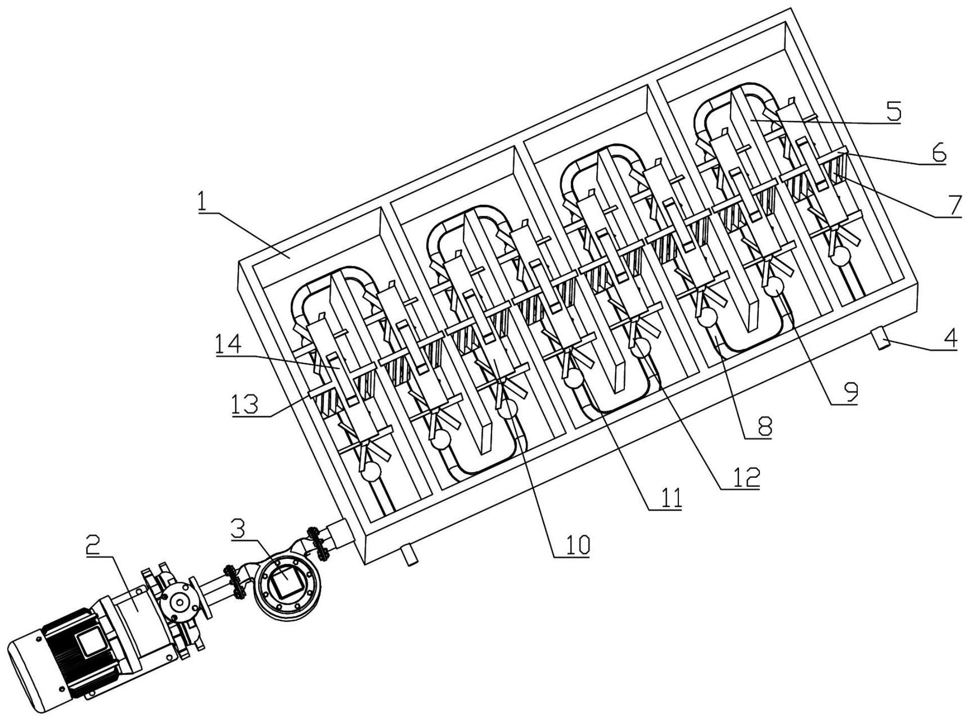
本發明屬于污水處理技術領域,公開了一種強化好氧顆粒污泥篩選的裝置,包括好氧池,所述好氧池輸入端安裝有水泵,所述水泵輸出端與所述好氧池之間安裝有流量計,所述好氧池輸出端連接有出水管;所述好氧池內部呈S型安裝有若干擋板,所述好氧池與所述擋板之間及相鄰兩塊所述擋板之間安裝有柵板,所述柵板中等距安裝有若干截面呈三角形的柵條,所述柵條的棱角方向與水流流動的方向相反,所述好氧池底部安裝有曝氣管,所述曝氣管輸入端安裝有曝氣裝置,所述曝氣管輸出端安裝有曝氣盤;所述柵板頂部兩側安裝有支板,所述支板于端部安裝有轉柱,所述轉柱通過軸承安裝有旋流葉。

權利要求書
1.一種強化好氧顆粒污泥篩選的裝置,包括好氧池(1),其特征在于:所述好氧池(1)輸入端安裝有水泵(2),所述水泵(2)輸出端與所述好氧池(1)之間安裝有流量計(3),所述好氧池(1)輸出端連接有出水管(4);所述好氧池(1)內部呈S型安裝有若干擋板(5),所述好氧池(1)與所述擋板(5)之間及相鄰兩塊所述擋板(5)之間安裝有柵板(6),所述柵板(6)中等距安裝有若干截面呈三角形的柵條(7),所述柵條(7)的棱角方向與水流流動的方向相反,所述好氧池(1)底部安裝有曝氣管(8),所述曝氣管(8)輸入端安裝有曝氣裝置,所述曝氣管(8)輸出端安裝有曝氣盤(9);所述柵板(6)頂部兩側安裝有支板(10),所述支板(10)于端部安裝有轉柱(11),所述轉柱(11)通過軸承安裝有旋流葉(12)。
2.根據權利要求1所述的一種強化好氧顆粒污泥篩選的裝置,其特征在于:所述擋板(5)至少有五塊。
3.根據權利要求2所述的一種強化好氧顆粒污泥篩選的裝置,其特征在于:所述擋板(5)設有插槽(13),所述柵板(6)安裝于所述插槽(13)中。
4.根據權利要求3所述的一種強化好氧顆粒污泥篩選的裝置,其特征在于:所述好氧池(1)底部設有安裝槽,所述曝氣管(8)安裝于安裝槽中。
5.根據權利要求4所述的一種強化好氧顆粒污泥篩選的裝置,其特征在于:所述曝氣管(8)呈S型安裝于所述好氧池(1)中。
6.根據權利要求5所述的一種強化好氧顆粒污泥篩選的裝置,其特征在于:所述柵條(7)至少有五根。
7.根據權利要求6所述的一種強化好氧顆粒污泥篩選的裝置,其特征在于:所述支板(10)上安裝有把手(14)。
8.根據權利要求7所述的一種強化好氧顆粒污泥篩選的裝置,其特征在于:所述曝氣盤(9)位于所述旋流葉(12)的正下方。
9.根據權利要求8所述的一種強化好氧顆粒污泥篩選的裝置,其特征在于:所述擋板(5)與所述好氧池(1)一體成型。
10.根據權利要求9所述的一種強化好氧顆粒污泥篩選的裝置,其特征在于:所述出水管(4)的輸入端低于所述好氧池(1)的內底面。
發明內容
針對上述背景技術所提出的問題,本發明的目的是:旨在提供一種強化好氧顆粒污泥篩選的裝置。
為實現上述技術目的,本發明采用的技術方案如下:
一種強化好氧顆粒污泥篩選的裝置,包括好氧池,所述好氧池輸入端安裝有水泵,所述水泵輸出端與所述好氧池之間安裝有流量計,所述好氧池輸出端連接有出水管;
所述好氧池內部呈S型安裝有若干擋板,所述好氧池與所述擋板之間及相鄰兩塊所述擋板之間安裝有柵板,所述柵板中等距安裝有若干截面呈三角形的柵條,所述柵條的棱角方向與水流流動的方向相反,所述好氧池底部安裝有曝氣管,所述曝氣管輸入端安裝有曝氣裝置,所述曝氣管輸出端安裝有曝氣盤;
所述柵板頂部兩側安裝有支板,所述支板于端部安裝有轉柱,所述轉柱通過軸承安裝有旋流葉。
進一步限定,所述擋板至少有五塊,這樣的設計,保證污水的流動距離。
進一步限定,所述擋板設有插槽,所述柵板安裝于所述插槽中,這樣的設計,便于柵板的安裝和取出。
進一步限定,所述好氧池底部設有安裝槽,所述曝氣管安裝于安裝槽中,這樣的設計,使曝氣管不突出于好氧池內底部,進而不干涉柵板的放置。
進一步限定,所述曝氣管呈S型安裝于所述好氧池中,這樣的設計,最大化曝氣范圍。
進一步限定,所述柵條至少有五根,這樣的設計,保證水流的流動效果。
進一步限定,所述支板上安裝有把手,這樣的設計,便于柵板的提拉取出。
進一步限定,所述曝氣盤位于所述旋流葉的正下方,這樣的設計,曝氣時,便于帶動旋流葉的旋轉。
進一步限定,所述擋板與所述好氧池一體成型,這樣的設計,受力效果好,使擋板不存在于連接處斷裂的問題。
進一步限定,所述出水管的輸入端低于所述好氧池的內底面,這樣的設計,好氧池內的污水能完全從吹水管流出。
采用本發明的有益效果:
本裝置通過擋板實現污水的往復式流動,柵條的特殊設計,可以保持池內持續的剪切力以強化顆粒污泥的馴化,本裝置馴化顆粒污泥速度快,顆粒污泥結構密實,處理能力強,能高效馴化及篩選顆粒污泥;提高出水水質;降低提標擴容成本;
本裝置在提標擴容改造方面也有很大的優勢,僅需要對原有的好氧池進行改造,利用有機板材將好氧池改造為往復式好氧池,好氧顆粒污泥馴化成功后處理量可以提高50%,進水負荷可以提高50%以上。本裝置可以將好氧池水力停留時間縮短到3-5H,大大提高脫氮除磷效果,產泥量大大降低,出水穩定達到國家一級A標準。
(發明人:任東強;劉銳;景超)






