公布日:2023.03.21
申請日:2022.12.19
分類號:C02F1/40(2023.01)I;C02F1/00(2023.01)I
摘要
本發明涉及一種自動排污的隔油提升設備及隔油提升方法。隔油提升設備包括油水分離箱、提升箱、排放裝置、液位傳感器、含油量傳感器和控制器。提升箱通過“L”形管與油水分離箱連通。排放裝置用于排出油水分離箱內的污泥。液位傳感器安裝在提升箱內,用于測量提升箱內的污水的深度h。含油量傳感器安裝在油水分離箱內,用于探測上限位的含油污水的含油量ω1和下限位的含油污水的含油量ω2。本發明采用控制器實時控制隔油提升設備的運行狀態,將提升箱內的污水及油水分離箱內的污泥及時排放出去,避免污泥產生異味或凝結成塊,無需人工頻繁維護操作,減少排放次數,降低運行成本,實現設備的持續、可靠運轉。

權利要求書
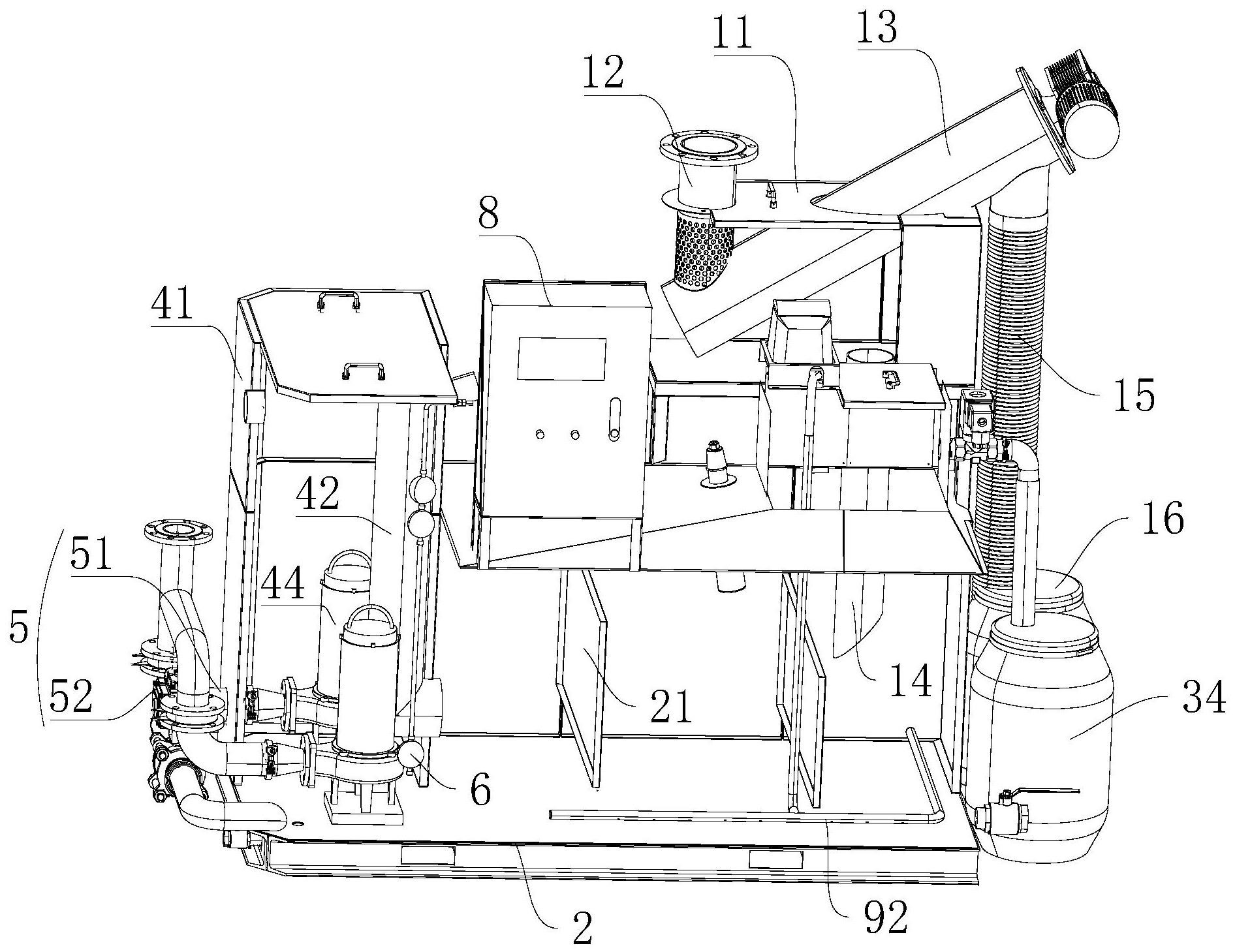
1.一種自動排污的隔油提升設備,其包括格柵裝置、油水分離箱和刮油裝置;所述格柵裝置用于過濾含油污水中粒徑大于格柵孔的固相廢渣;所述油水分離箱設置在所述格柵裝置下方并與所述格柵裝置連通,用于蓄積除渣后的含油污水,并供含油污水靜置分層;所述刮油裝置安裝在所述油水分離箱的頂部,用于刮出含油污水中的油液;其特征在于,所述隔油提升裝置還包括:提升箱,其包括箱體、“L”形管、電動閥門一和至少一個水泵;所述“L”形管的一端與所述油水分離箱連通,所述“L”形管的另一端豎直向上設置并低于所述油水分離箱的頂端;所述電動閥門一安裝在所述“L”形管上,用于控制所述“L”形管的通斷狀態;所述箱體用于收容所述“L”形管;所述水泵安裝在所述箱體內,用于排出所述箱體內的污水;排放裝置,其包括排污管、電動閥門二和排污泵;所述排污管的一端與所述油水分離箱的底部連通,所述排污管的另一端與所述排污泵連通;所述排污泵用于排出所述油水分離箱內的污泥;所述電動閥門二安裝在所述排污管上,用于控制所述排污管的通斷狀態;液位傳感器,其安裝在所述提升箱內,用于測量所述提升箱內的污水的深度h;含油量傳感器,其安裝在所述油水分離箱內,用于探測上限位的含油污水的含油量ω1和下限位的含油污水的含油量ω2;其中,所述上限位高于所述“L”形管的底端;所述下限位位于所述“L”形管的底端;以及控制器,其用于:一、判斷所述含油量ω1是否小于一個預設的閾值ω0,是則打開所述電動閥門一,以使所述油水分離箱內的含油污水通過所述“L”形管流入所述箱體內;否則繼續判斷所述含油量ω2是否大于預設的閾值ω0,是則關閉所述電動閥門一;二、判斷所述深度h是否高于所述“L”形管的頂端,是則啟動所述水泵排出所述箱體內的污水;三、判斷所述深度h是否低于所述“L”形管的底端,是則關閉水泵,并打開所述電動閥門二,排出所述油水分離箱內的污泥;其中,所述電動閥門二每次開啟的時間t設置為:t=Vs/3vavg)其中,Vs為所述油水分離箱的總容積,vavg為污泥排放的平均速率。
2.根據權利要求1所述的自動排污的隔油提升設備,其特征在于,所述隔油提升設備還包括曝氣裝置,所述曝氣裝置包括氣浮泵和曝氣管;所述曝氣管安裝在所述油水分離箱的底部;所述氣浮泵與所述曝氣管連通,用于向所述油水分離箱內通入空氣。
3.根據權利要求1所述的自動排污的隔油提升設備,其特征在于,所述格柵裝置包括格柵箱、進水管、螺旋輸送機構、出水管、軟管和廢渣桶;所述出水管的底端與所述油水分離箱連通;所述出水管的頂端與所述格柵箱的底部連通;所述進水管的一端穿過所述格柵箱與所述螺旋輸送機構的底端連通;所述螺旋輸送機構的頂端穿過所述格柵箱并與所述軟管的頂端連通;所述軟管的底端與所述廢渣桶連通。
4.根據權利要求1所述的自動排污的隔油提升設備,其特征在于,所述油水分離箱內安裝有隔油板;所述隔油板包括弧形板與底板;所述底板與所述油水分離箱的頂部內壁固定連接,所述弧形板與所述底板固定連接;所述隔油板與所述油水分離箱的側壁圍成一個排油腔;所述刮油裝置包括電機、轉輪、排油管、儲油桶和多個刮板;所述電機安裝在所述所述油水分離箱的頂部外壁上;所述電機的輸出軸與所述轉輪固定連接;所述刮板環形陣列在所述轉輪上;所述刮板在旋轉時剛好經過所述弧形板的頂面;所述排油管的一端與所述排油腔的底部連通,所述排油管的另一端與所述儲油桶連通。
5.根據權利要求1所述的自動排污的隔油提升設備,其特征在于,所述隔油提升設備還包括加熱裝置和保溫裝置,所述加熱裝置安裝在所述油水分離箱內,用于加熱所述油水分離箱內的含油污水;所述保溫裝置安裝在所述刮油裝置外側,用于對所述刮油裝置內的含油污水進行保溫。
6.根據權利要求1所述的自動排污的隔油提升設備,其特征在于,所述油水分離箱內還安裝有至少一個隔板;所述隔板為鏤空板,所述隔板豎向安裝在所述油水分離箱內,用于對所述油水分離箱內的含油污水進行分流導向。
7.一種自動排污的隔油提升方法,其應用于如權利要求1至6中任意一項所述的自動排污的隔油提升設備,其特征在于,所述隔油提升方法包括如下步驟:S1:去除含油污水中粒徑大于一個預設的粒徑閾值的固相廢渣;S2:將除渣后的含油污水導入油水分離箱內,進而通過靜置沉降將含油污水分離為從上至下的油層、水層和污泥層;將油層刮出并回收;S3:采用“U”形管原理將含油污水中的水層連通到提升箱中;采集所述提升箱內的污水深度h、上限位的含油污水的含油量ω1和下限位的含油污水的含油量ω2;S4:判斷所述含油量ω1和所述含油量ω2是否高于一個預設的含油量閾值ω0,并做出如下決策:當ω1≤ω0時,控制所述提升箱與所述油水分離箱連通,直至ω2>ω0時,斷開所述提升箱與所述油水分離箱的連通狀態;S5:當所述污水深度h高于一個預設的閾值h1時,將所述提升箱內的水層排放出去直至所述污水深度h低于一個預設的深度閾值h2;S6:當所述污水深度h不高于所述深度閾值h2且所述含油量ω1不高于一個預設的含油量閾值ω0時,將所述油水分離箱內的污泥層排出。
8.根據權利要求7所述的自動排污的隔油提升方法,其特征在于,在步驟S1中,固相廢渣通過以下方法去除:將含油污水導入一個具有鏤空結構的管道中,其中,管道的鏤空部分收容在一個箱體內;含油污水中粒徑大于管道的鏤空孔的固相廢渣被截留在管道內,進而通過輸送裝置排出;除渣后的含油污水則蓄積在箱體內,進而通過出水管道導入所述油水分離箱內。
9.根據權利要求7所述的自動排污的隔油提升方法,其特征在于,在步驟S3中,所述提升箱通過一個“L”形管與所述油水分離箱連通;所述“L”形管的底端與所述油水分離箱的底部連通,另一端穿過所述提升箱并與所述提升箱連通;所述“L”形管與所述油水分離箱構成“U”形管結構。
10.根據權利要求7所述的自動排污的隔油提升方法,其特征在于,在步驟S6中,每次排渣的時間t設置為:t=Vs/3vavg)其中,Vs為所述油水分離箱的總容積,vavg為污泥排放的平均速率。
發明內容
基于此,有必要針對由于現有的隔油提升設備內的污泥難以及時、順暢排出,導致隔油提升設備使用壽命短的問題,提供一種自動排污的隔油提升設備及隔油提升方法。
本發明通過以下技術方案實現:一種自動排污的隔油提升設備包括格柵裝置、油水分離箱、刮油裝置、提升箱、排放裝置、液位傳感器、含油量傳感器、控制器、曝氣裝置、加熱裝置和保溫裝置。
格柵裝置用于過濾含油污水中粒徑大于格柵孔的固相廢渣。油水分離箱設置在格柵裝置下方并與格柵裝置連通,用于蓄積除渣后的含油污水,并供含油污水靜置分層。刮油裝置安裝在油水分離箱的頂部,用于刮出含油污水中的油液。
提升箱包括箱體、“L”形管、電動閥門一和至少一個水泵。“L”形管的一端與油水分離箱連通,“L”形管的另一端豎直向上設置并低于油水分離箱的頂端。電動閥門一安裝在“L”形管上,用于控制“L”形管的通斷狀態。箱體用于收容“L”形管。水泵安裝在箱體內,用于排出箱體內的污水。
排放裝置包括排污管、電動閥門二和排污泵。排污管的一端與油水分離箱的底部連通,排污管的另一端與排污泵連通。排污泵用于排出油水分離箱內的污泥。電動閥門二安裝在排污管上,用于控制排污管的通斷狀態。液位傳感器安裝在提升箱內,用于測量提升箱內的污水的深度h。含油量傳感器安裝在油水分離箱內,用于探測上限位的含油污水的含油量ω1和下限位的含油污水的含油量ω2。其中,上限位高于“L”形管的底端。下限位位于“L”形管的底端。
控制器用于:一、判斷含油量ω1是否小于一個預設的閾值ω0,是則打開電動閥門一,以使油水分離箱內的含油污水通過“L”形管流入箱體內。否則繼續判斷含油量ω2是否大于預設的閾值ω0,是則關閉電動閥門一。二、判斷深度h是否高于“L”形管的頂端,是則啟動水泵排出箱體內的污水。三、判斷深度h是否低于“L”形管的底端,是則關閉水泵,并打開電動閥門二,排出油水分離箱內的污泥。其中,電動閥門二每次開啟的時間t設置為:
t=Vs/3vavg)
其中,Vs為油水分離箱的總容積,vavg為污泥排放的平均速率。
本發明隔油提升設備通過設置“L”形管,將油水分離箱內已分層的含油污水導入提升箱內,通過對提升箱內的含油污水深度實時監測,并對油水分離箱內上、下限位的含油污水的含油量進行檢測,以延長含油污水在油水分離箱內的停留時間,提高含油污水的處理效率。同時,通過控制器實現對提升箱內的污水及油水分離箱內的污泥進行及時排放,避免占用油水分離箱的有效容積,避免污泥產生異味或凝結成塊,無需人工頻繁維護操作,減少排放次數,降低運行成本,實現設備的持續、可靠運轉。
在其中一個實施例中,曝氣裝置包括氣浮泵和曝氣管。曝氣管安裝在油水分離箱的底部。氣浮泵與曝氣管連通,用于向油水分離箱內通入空氣。
在其中一個實施例中,格柵裝置包括格柵箱、進水管、螺旋輸送機構、出水管、軟管和廢渣桶。進水管的一端與含油污水水源(如集水坑等)連通,進水管的另一端穿過格柵箱與螺旋輸送機構的底端連通。螺旋輸送機構的頂端穿過格柵箱并與軟管的頂端連通。軟管的底端與廢渣桶連通。出水管的頂端與格柵箱的底部連通。出水管的底端與油水分離箱連通。格柵箱內的液相油水通過出水管流入油水分離箱內。
在其中一個實施例中,油水分離箱內安裝有隔油板。隔油板包括弧形板與底板。底板與油水分離箱的頂部內壁固定連接,弧形板與底板固定連接。隔油板與油水分離箱的側壁圍成一個排油腔。刮油裝置包括電機、轉輪、排油管、儲油桶和多個刮板。電機安裝在油水分離箱的頂部外壁上。電機的輸出軸與轉輪固定連接。刮板環形陣列在轉輪上。刮板在旋轉時剛好經過弧形板的頂面。排油管的一端與排油腔的底部連通,排油管的另一端與儲油桶連通。
在其中一個實施例中,加熱裝置安裝在油水分離箱內,用于加熱油水分離箱內的含油污水。保溫裝置安裝在刮油裝置外側,用于對刮油裝置內的含油污水進行保溫。
在其中一個實施例中,油水分離箱內還安裝有至少一個隔板。隔板為鏤空板,隔板豎向安裝在油水分離箱內,用于對油水分離箱內的含油污水進行分流導向。
本發明還提供一種自動排污的隔油提升方法,隔油提升方法包括如下步驟:
S1:去除含油污水中粒徑大于一個預設的粒徑閾值的固相廢渣。
S2:將除渣后的含油污水導入油水分離箱內,進而通過靜置沉降將含油污水分離為從上至下的油層、水層和污泥層。將油層刮出并回收。
S3:采用“U”形管原理將含油污水中的水層連通到提升箱中。采集提升箱內的污水深度h、上限位的含油污水的含油量ω1和下限位的含油污水的含油量ω2。
S4:判斷含油量ω1和含油量ω2是否高于一個預設的含油量閾值ω0,并做出如下決策:當ω1≤ω0時,控制提升箱與油水分離箱連通,直至ω2>ω0時,斷開提升箱與油水分離箱的連通狀態。
S5:當污水深度h高于一個預設的閾值h1時,將提升箱內的水層排放出去直至污水深度h低于一個預設的深度閾值h2。
S6:當污水深度h不高于深度閾值h2且含油量ω1不高于一個預設的含油量閾值ω0時,將油水分離箱內的污泥層排出。
在其中一個實施例中,固相廢渣通過以下方法去除:將含油污水導入一個具有鏤空結構的管道中,其中,管道的鏤空部分收容在一個箱體內。含油污水中粒徑大于管道的鏤空孔的固相廢渣被截留在管道內,進而通過輸送裝置排出。除渣后的含油污水則蓄積在箱體內,進而通過出水管道導入油水分離箱內。
在其中一個實施例中,提升箱通過一個“L”形管與油水分離箱連通。“L”形管的底端與油水分離箱的底部連通,另一端穿過提升箱并與提升箱連通。“L”形管與油水分離箱構成“U”形管結構。
在其中一個實施例中,每次排渣的時間t設置為:
t=Vs/3vavg)
其中,Vs為油水分離箱的總容積,vavg為污泥排放的平均速率。
相較于現有技術,本發明具有如下有益效果:
1.本發明的隔油提升設備通過設置“L”形管,將油水分離箱內已分層的含油污水導入提升箱內,通過對提升箱內的含油污水深度實時監測,并對油水分離箱內上、下限位的含油污水的含油量進行檢測,以延長含油污水在油水分離箱內的停留時間,提高含油污水的處理效率。同時,通過控制器實現對提升箱內的污水及油水分離箱內的污泥進行及時排放,避免占用油水分離箱的有效容積,避免污泥產生異味或凝結成塊,無需人工頻繁維護操作,減少排放次數,降低運行成本,實現設備的持續、可靠運轉。
2.本發明的隔油提升設備通過曝氣裝置向油水分離箱內通入空氣,形成對污泥的射流式反沖洗攪拌,避免污泥結塊堵塞,同時油水分離箱內的含油污水深度與污泥之間形成液位差,能夠提高污泥排放的通暢性及排放效率。
(發明人:孟行健;魏道春;王玉峰;董小娜;金燦;熊友元)






