公布日:2023.12.01
申請日:2023.08.03
分類號:C02F9/00(2023.01)I;B01D36/04(2006.01)I;C02F3/00(2023.01)I;C02F3/32(2023.01)I;C02F1/28(2023.01)I;C02F101/10(2006.01)N;C02F101/16(2006.01)N;
C02F101/30(2006.01)N
摘要
本發明涉及一種高效去除農村污水中氮磷的處理方法及裝置。本發明適用于污水處理技術領域。本發明要解決的技術問題是:提供一種高效去除農村污水中氮磷的處理方法及裝置。本發明所采用的技術方案是:一種高效去除農村污水中氮磷的處理裝置,包括前處理系統、植物凈化系統、過濾吸附系統和儲水池;前處理系統包括格柵設備、沉淀池、調節池、水泵和發酵池;格柵設備設置在所述沉淀池的入口處,且與輸水管相連;沉淀池的出口通過輸水管與所述調節池相連,沉淀池的底部通過水泵與發酵池相連;植物凈化系統的入口通過布水管與調節池的出口相連,植物凈化系統包括通過溢流堰依次相連的兩個植物凈化池,植物凈化池中種植有用于吸附氮、磷的凈水植物。

權利要求書
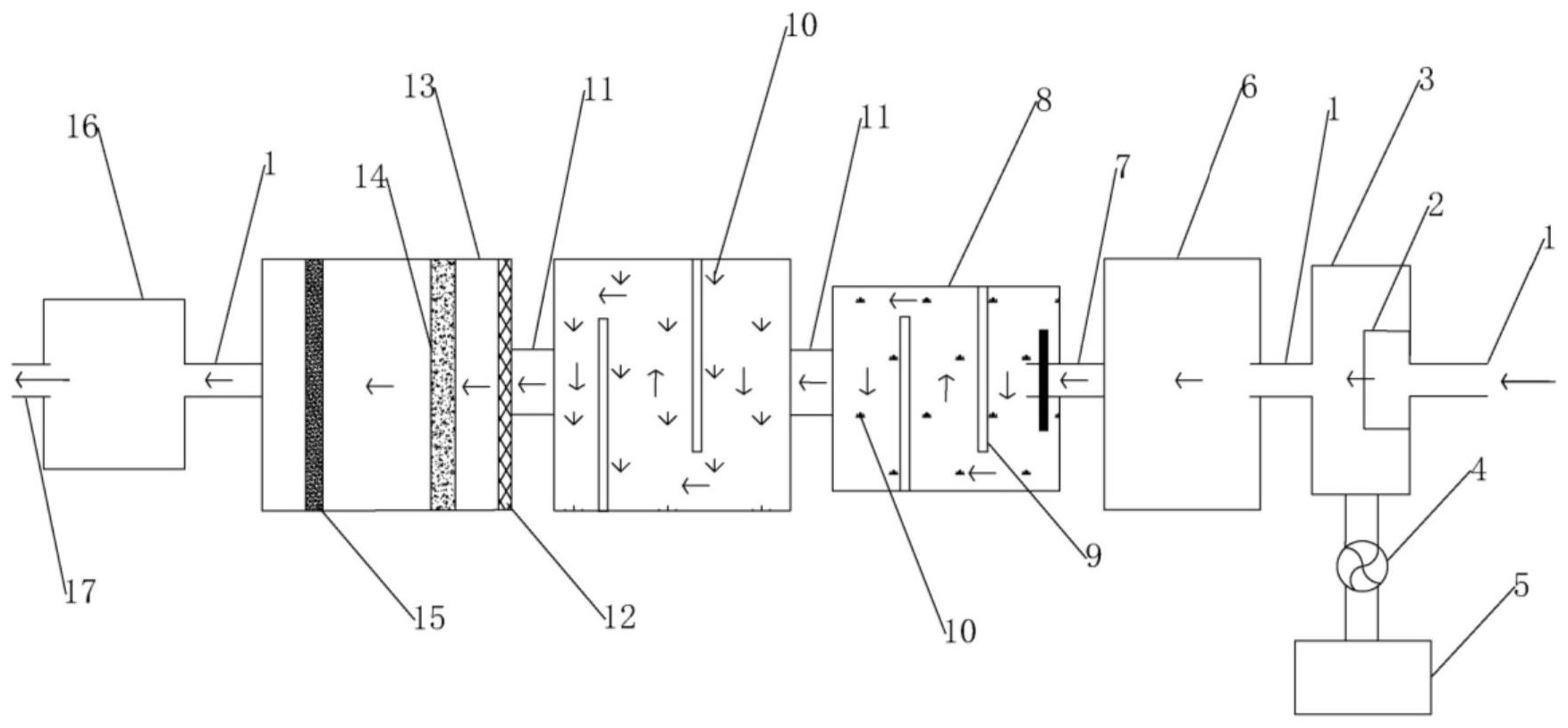
1.一種高效去除農村污水中氮磷的處理裝置,其特征在于,包括前處理系統、植物凈化系統、過濾吸附系統和儲水池(16);其中,所述前處理系統包括格柵設備(2)、沉淀池(3)、調節池(6)、水泵(4)和發酵池(5);所述格柵設備(2)設置在所述沉淀池(3)的入口處,且與輸水管(1)相連;所述沉淀池(3)的出口通過輸水管(1)與所述調節池(6)相連,所述沉淀池(3)的底部通過水泵(4)與所述發酵池(5)相連;所述植物凈化系統的入口通過布水管(7)與所述調節池(6)的出口相連,所述植物凈化系統包括通過溢流堰(11)依次相連的兩個植物凈化池(8),所述植物凈化池(8)中種植有用于吸附氮、磷的凈水植物(10);所述過濾吸附系統的入口通過溢流堰(11)與所述植物凈化系統的出口相連,所述過濾吸附系統包括過濾網(12)和吸附池(13),所述過濾網(12)設置在所述吸附池(13)的入口處,并且所述吸附池(13)中設置有沸石和粉煤灰層(14)及生物炭和礫石層(15);所述儲水池(16)的入口通過輸水管(1)與所述過濾吸附系統的出口相連,并在出口處與出水管(17)相連。
2.根據權利要求1所述的高效去除農村污水中氮磷的處理裝置,其特征在于,所述格柵設備(2)由邊長2~3厘米的正方形柵格組成。
3.根據權利要求1所述的高效去除農村污水中氮磷的處理裝置,其特征在于,所述沉淀池(3)的底部設置有污泥斗,污泥斗通過管道與水泵(4)連接。
4.根據權利要求1所述的高效去除農村污水中氮磷的處理裝置,其特征在于,所述發酵池(5)中安裝有測溫裝置。
5.根據權利要求1所述的高效去除農村污水中氮磷的處理裝置,其特征在于,與所述調節池(6)相連的輸水管(1)設置在所述調節池(6)的底部,所述輸水管(1)上均勻設置有通孔。
6.根據權利要求1所述的高效去除農村污水中氮磷的處理裝置,其特征在于,所述凈水植物(10)包括蘆葦、香蒲、菖蒲、苦草和狐尾藻中的一種或幾種。
7.根據權利要求1所述的高效去除農村污水中氮磷的處理裝置,其特征在于,所述植物凈化池(8)中設置有PVC擋板(9)。
8.根據權利要求1所述的高效去除農村污水中氮磷的處理裝置,其特征在于,所述過濾網(12)采用不銹鋼材質,孔徑為30~50mm。
9.根據權利要求1所述的高效去除農村污水中氮磷的處理裝置,其特征在于,所述沸石和粉煤灰層(14)的厚度為15~20cm,沸石和粉煤灰層(14)中的沸石和粉煤灰的粒徑為20~30mm,沸石和粉煤灰的比例為1:1;所述生物炭和礫石層(15)的厚度為10~15cm,生物炭和礫石層(15)中的生物炭和礫石層的粒徑為3~15mm,物炭和礫石的比例為3:1。
10.一種高效去除農村污水中氮磷的處理方法,其特征在于,由權利要求1至9任一所述的高效去除農村污水中氮磷的處理裝置執行,包括:S1、排放的農村污水經支管收集進入輸水管(1),并經輸水管(1)流至格柵設備(2);格柵設備(2)攔截污水中直徑大于2cm的漂浮物和懸浮物,經過格柵設備(2)的出水進入沉淀池(3);S2、沉淀池(3)對流入的污水進行靜止沉淀,去除污水中的無機物和部分有機物,沉淀到沉淀池(3)底部的污泥進入污泥斗,定時通過水泵輸送4至發酵池(5)進行發酵,制備有機肥料;經過沉淀的污水進入調節池(6),實現水質和水量的均勻化;S3、調節池(6)排出的污水通過溢流堰(11)依次通過兩個植物凈化池(8),在凈水植物(10)的作用下去除部分的氮、磷;S4、污水經溢流堰(11)流入過濾吸附系統,過濾網(12)攔截污水在植物凈化池(8)中攜帶的土壤,之后污水進入吸附池(13),逐步流經沸石和粉煤灰層(14)及生物炭和礫石層(15);S5、最后,凈化過的水經輸水管(1)進入儲水池(16)中備用。
發明內容
本發明的目的是克服現有技術中的不足,提供了一種高效去除農村污水中氮磷的處理方法及裝置。
第一方面,提供了一種高效去除農村污水中氮磷的處理裝置,包括前處理系統、植物凈化系統、過濾吸附系統和儲水池;
其中,所述前處理系統包括格柵設備、沉淀池、調節池、水泵和發酵池;所述格柵設備設置在所述沉淀池的入口處,且與輸水管相連;所述沉淀池的出口通過輸水管與所述調節池相連,所述沉淀池的底部通過水泵與所述發酵池相連;
所述植物凈化系統的入口通過布水管與所述調節池的出口相連,所述植物凈化系統包括通過溢流堰依次相連的兩個植物凈化池,所述植物凈化池中種植有用于吸附氮、磷的凈水植物;
所述過濾吸附系統的入口通過溢流堰與所述植物凈化系統的出口相連,所述過濾吸附系統包括過濾網和吸附池,所述過濾網設置在所述吸附池的入口處,并且所述吸附池中設置有沸石和粉煤灰層及生物炭和礫石層;
所述儲水池的入口通過輸水管與所述過濾吸附系統的出口相連,并在出口處與出水管相連。
作為優選,所述格柵設備由邊長2-3厘米的正方形柵格組成。
作為優選,所述沉淀池的底部設置有污泥斗,污泥斗通過管道與水泵連接。
作為優選,所述發酵池中安裝有測溫裝置。
作為優選,與所述調節池相連的輸水管設置在所述調節池的底部,所述輸水管上均勻設置有通孔。
作為優選,所述凈水植物包括蘆葦、香蒲、菖蒲、苦草和狐尾藻中的一種或幾種。
作為優選,所述植物凈化池中設置有PVC擋板。
作為優選,所述過濾網采用不銹鋼材質,孔徑為30~50mm。
作為優選,所述沸石和粉煤灰層的厚度為15-20cm,沸石和粉煤灰層中的沸石和粉煤灰的粒徑為20-30mm,沸石和粉煤灰的比例為1:1;所述生物炭和礫石層的厚度為10-15cm,生物炭和礫石層中的生物炭和礫石層的粒徑為3-15mm,物炭和礫石的比例為3:1。
第二方面,提供了一種高效去除農村污水中氮磷的處理方法,由第一方面任一所述的高效去除農村污水中氮磷的處理裝置執行,包括:
S1、排放的農村污水經支管收集進入輸水管,并經輸水管流至格柵設備;格柵設備攔截污水中直徑大于2cm的漂浮物和懸浮物,經過格柵設備的出水進入沉淀池;
S2、沉淀池對流入的污水進行靜止沉淀,去除污水中的無機物和部分有機物,沉淀到沉淀池底部的污泥進入污泥斗,定時通過水泵輸送至發酵池進行發酵,制備有機肥料;經過沉淀的污水進入調節池,實現水質和水量的均勻化;
S3、調節池排出的污水通過溢流堰依次通過兩個植物凈化池,在凈水植物的作用下去除部分的氮、磷;
S4、污水經溢流堰流入過濾吸附系統,過濾網攔截污水在植物凈化池中攜帶的土壤,之后污水進入吸附池,逐步流經沸石和粉煤灰層及生物炭和礫石層;
S5、最后,凈化過的水經輸水管進入儲水池中備用。
本發明的有益效果是:
1.本發明提供了一種高效去除農村污水中氮磷的處理方法及裝置,工藝完善,實現了污水和污泥的同步再利用。
2.本發明針對農村污水水質特征,選用蘆葦、香蒲、菖蒲、苦草和狐尾藻等對水體中氮和磷去除效果較好的凈水植物中的一種或多種組合。這些凈水植物不僅能通過莖葉直接從水體中進行營養物質吸收,還可以通過發達的根系及其根系上附著的微生物吸附污染物,從而提高污染物的去除率。此外,它們的通氣組織發達,有利于在水中缺乏空氣的情況下進行氣體交換。
3.本發明采用沸石、粉煤灰、生物炭和礫石等濾料,不僅廉價易得而且對農村污水中的氮磷有較好的吸附效果,提高了污水凈化效率。
(發明人:康雅茹;鄧晨;劉欣;王海燕;王化儒;魏俊;謝明君)






