公布日:2023.12.01
申請日:2023.09.07
分類號:C02F3/34(2023.01)I;C02F7/00(2006.01)I;A01G31/02(2006.01)I;C02F101/30(2006.01)N
摘要
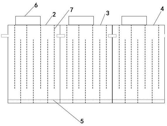
本公開提出一種生活污水資源化分解裝置,包括:第一曝氣箱,第一曝氣箱通過管道連接于污水池;第二曝氣箱,通過管道連接于所述第一曝氣箱;第三曝氣箱,通過管道連接于所述第二曝氣箱;多個菌床,間隔設置在所述第一曝氣箱、所述第二曝氣箱、所述第三曝氣箱內,所述多個菌床交錯排列以使水體曲折流過;所述第一曝氣箱、所述第二曝氣箱、所述第三曝氣箱的曝氣強度遞減。本公開通過多個不同曝氣強度的曝氣箱、結合菌床,使生活污水中的營養物質分解為可被生物吸收的小分子量的營養物質,成為可以被植物高速高效吸收的營養液。

權利要求書
1.一種生活污水資源化分解裝置,其特征在于,所述分解裝置包括:第一曝氣箱,所述第一曝氣箱通過管道連接于污水池;第二曝氣箱,所述第二曝氣箱通過管道連接于所述第一曝氣箱;第三曝氣箱,所述第三曝氣箱通過管道連接于所述第二曝氣箱;多個菌床,所述多個菌床間隔設置在所述第一曝氣箱、所述第二曝氣箱、所述第三曝氣箱內,所述多個菌床交錯排列以使水體曲折流過;所述第一曝氣箱、所述第二曝氣箱、所述第三曝氣箱的曝氣強度遞減。
2.根據權利要求1所述的一種生活污水資源化分解裝置,其特征在于,所述第一曝氣箱、所述第二曝氣箱、所述第三曝氣箱為整體成型的箱體,以隔板間隔所述箱體形成。
3.根據權利要求2所述的一種生活污水資源化分解裝置,其特征在于,所述隔板上設置有溢流管道,所述溢流管道連接相鄰的曝氣箱。
4.根據權利要求3所述的一種生活污水資源化分解裝置,其特征在于,所述第二曝氣箱和所述第三曝氣箱之間的溢流管道不高于所述第一曝氣箱和所述第二曝氣箱之間的溢流管道。
5.根據權利要求2所述的一種生活污水資源化分解裝置,其特征在于,所述箱體與菌床隨污水量的增大/減小而增大/減小。
6.根據權利要求1所述的一種生活污水資源化分解裝置,其特征在于,還包括卡槽,所述卡槽設置在所述第一曝氣箱、所述第二曝氣箱、所述第三曝氣箱的箱體壁上,以固定所述菌床。
7.根據權利要求1所述的一種生活污水資源化分解裝置,其特征在于,所述菌床為無紡布熱軋格形成。
8.根據權利要求1所述的一種生活污水資源化分解裝置,其特征在于,還包括觀察加藥孔,所述觀察加藥孔設置在每一個曝氣箱的上表面。
9.根據權利要求1所述的一種生活污水資源化分解裝置,其特征在于,還包括微孔曝氣裝置,所述微孔曝氣裝置設置在每一個曝氣箱的底部。
10.根據權利要求9所述的一種生活污水資源化分解裝置,其特征在于,所述曝氣裝置設有閥門,所述閥門用于調節曝氣量。
發明內容
針對以上問題,本公開設計一種生活污水資源化分解、溫室氣體減排設施,本公開結合一種利用污水管網進行生活污水預分解溫室氣體減排裝置,對所排出污水進行進一步的分解。
為實現上述目的,本公開提供了如下方案:一種生活污水資源化分解裝置,所述分解裝置包括:第一曝氣箱,所述第一曝氣箱通過管道連接于污水池;第二曝氣箱,所述第二曝氣箱通過管道連接于所述第一曝氣箱;第三曝氣箱,所述第三曝氣箱通過管道連接于所述第二曝氣箱;多個菌床,所述多個菌床間隔設置在所述第一曝氣箱、所述第二曝氣箱、所述第三曝氣箱內,所述多個菌床交錯排列以使水體曲折流過;所述第一曝氣箱、所述第二曝氣箱、所述第三曝氣箱的曝氣強度遞減。
可選地,所述第一曝氣箱、所述第二曝氣箱、所述第三曝氣箱為整體成型的箱體,以隔板間隔所述箱體形成。
可選地,所述隔板上設置有溢流管道,所述溢流管道連接相鄰的曝氣箱。
可選地,所述第二曝氣箱和所述第三曝氣箱之間的溢流管道不高于所述第一曝氣箱和所述第二曝氣箱之間的溢流管道。
可選地,所述箱體與菌床隨污水量的增大/減小而增大/減小。
可選地,還包括卡槽,所述卡槽設置在所述第一曝氣箱、所述第二曝氣箱、所述第三曝氣箱的箱體壁上,以固定所述菌床。
可選地,所述菌床為無紡布熱軋格形成。
可選地,還包括觀察加藥孔,所述觀察加藥孔設置在每一個曝氣箱的上表面。
可選地,還包括微孔曝氣裝置,所述微孔曝氣裝置設置在每一個曝氣箱的底部。
可選地,所述曝氣裝置設有閥門,所述閥門用于調節曝氣量。
本公開至少具有以下技術效果:本公開通過多個不同曝氣強度的曝氣箱、結合菌床,使生活污水中的營養物質分解為可被生物吸收的小分子量的營養物質,成為可以被植物高速高效吸收的營養液。以便于被生物更好的吸收,通過生態鏈遷移、轉化、和能量的逐級傳遞轉化,富集在更為高等級的生物體內,從而達到碳匯的作用。本設施低耗能,成本低,易操作,同時有效減少溫室氣體的排放。并且使用本設施高速高效的促進物質循環,并產生高額的經濟效益。
(發明人:楊虎山;劉振學;馬駿偉;楊辰辰;王彬)






