公布日:2023.03.17
申請日:2022.12.28
分類號:F23G7/00(2006.01)I;F23G5/44(2006.01)I;F23G5/46(2006.01)I;F23G5/02(2006.01)I;C10L5/08(2006.01)I;C10L5/46(2006.01)I;B01D53/78(2006.01)I;B01D53/
40(2006.01)I;B01D47/06(2006.01)I
摘要
本發明涉及一種危廢處理用污泥收集處理裝置,包括用于煤塊和污泥混合的攪拌機、混合料分切的分塊機以及用于分切后混合料焚燒處理的焚燒爐,所述分塊機包括基座、端架、傳動輥和傳送帶,所述基座上安裝有頂板,所述頂板兩端均安裝有端架,且兩個端架上均安裝有傳動輥,兩個所述傳動輥通過傳送帶傳動,且傳送帶沿著頂板外側傳動,所述頂板一端頂側且位于傳送帶上安裝有料箱,所述料箱與螺旋輸送機出料端連通;將煤塊和污泥進行混合,在后續焚燒爐焚燒污泥時,煤塊燃燒的同時便于對污泥進行充分燃燒處理,保證焚燒的徹底高效,提高污泥處理的效率,同時產生的煙氣通入急冷中和塔經降溫和堿液噴淋,進一步去除煙氣中的酸氣體和粉塵。

權利要求書
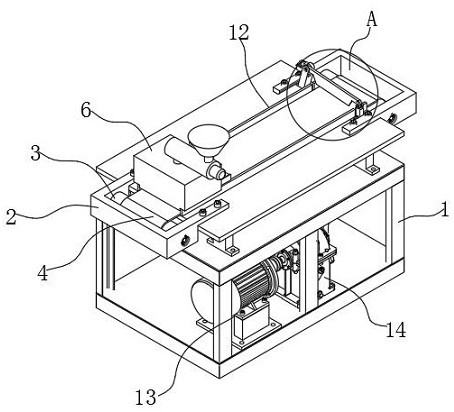
1.一種危廢處理用污泥收集處理裝置,其特征在于,包括用于煤塊和污泥混合的攪拌機、混合料分切的分塊機以及用于分切后混合料焚燒處理的焚燒爐,所述分塊機包括基座(1)、端架(2)、傳動輥(3)和傳送帶(4),所述基座(1)上安裝有頂板,所述頂板兩端均安裝有端架(2),且兩個端架(2)上均安裝有傳動輥(3),兩個所述傳動輥(3)通過傳送帶(4)傳動,且傳送帶(4)沿著頂板外側傳動,所述頂板一端頂側且位于傳送帶(4)上安裝有料箱(6),所述料箱(6)與螺旋輸送機(7)出料端連通,所述螺旋輸送機(7)的進料端安裝有加料斗(8);所述頂板另一端頂側安裝有耳座(20),所述耳座(20)與切刀(19)一端轉動安裝。
2.根據權利要求1所述的一種危廢處理用污泥收集處理裝置,其特征在于,其中一個所述端架(2)上安裝有第一電機(5),所述第一電機(5)輸出端與其中一個傳動輥(3)連接。
3.根據權利要求1所述的一種危廢處理用污泥收集處理裝置,其特征在于,所述頂板上對稱平行安裝有兩個擋板,且兩個擋板分別位于傳送帶(4)兩側。
4.根據權利要求1所述的一種危廢處理用污泥收集處理裝置,其特征在于,所述料箱(6)上設置有出料槽(9),所述出料槽(9)內貫穿活動安裝有L型的升降板(10),所述升降板(10)底端安裝有限料斜板(11)。
5.根據權利要求4所述的一種危廢處理用污泥收集處理裝置,其特征在于,所述升降板(10)上安裝有氣壓缸(12),且氣壓缸(12)伸縮端貫穿升降板(10)與出料槽(9)頂側連接。
6.根據權利要求1所述的一種危廢處理用污泥收集處理裝置,其特征在于,所述基座(1)內安裝有減速器(14),減速器(14)輸入端與第二電機(13)輸出端連接,所述基座(1)內安裝有齒輪座(15),且齒輪座(15)內嚙合安裝有兩個傳動齒(16)。
7.根據權利要求6所述的一種危廢處理用污泥收集處理裝置,其特征在于,所述減速器(14)輸出端與其中一個傳動齒(16)連接,且另一個傳動齒(16)與轉臂(17)一端通過轉軸轉動連接,所述轉臂(17)另一端與活動臂(18)底端通過插軸轉動連連接。
8.根據權利要求7所述的一種危廢處理用污泥收集處理裝置,其特征在于,所述活動臂(18)頂端與切刀(19)另一端通過插軸轉動連連接,所述耳座(20)與切刀(19)一端通過插軸轉動安裝。
9.根據權利要求1-8任一項所述的一種危廢處理用污泥收集處理裝置的工作方法,其特征在于,該工作方法的具體操作步驟如下:步驟一:將煤塊和含水率為45-60%污泥加入攪拌機內進行混合攪拌,其中煤塊和污泥的比例為4:1-3,然后將攪拌后的混合料同通過混合料進行分切;步驟二:將混合料加入加料斗(8)內,經過螺旋輸送機(7)輸送至料箱(6)內,此時第一電機(5)工作帶動傳動輥(3)旋轉,實現傳送帶(4)的傳動,帶動混合料移動,料箱(6)內的混合料經過出料槽(9)時,此時通過氣壓缸(12)工作帶動升降板(10)以及限料斜板(11)升降,調整限料斜板(11)的高度,進而對出料槽(9)移出的混合料的厚度進行調整,當均勻厚度的混合料隨著傳送帶(4)的移動經過切刀(19)下方時,此時第二電機(13)工作,減速器(14)調速實現轉臂(17)旋轉,進而與活動臂(18)配合傳動,帶動切刀(19)在耳座(20)上往復壓切,對混合料完成分塊;步驟三:將分塊后加入焚燒爐進行焚燒處理,產生的煙氣煙氣通入余熱鍋爐進行熱源利用,余熱鍋爐排出的煙氣通入急冷中和塔經降溫和堿液噴淋,進一步去除煙氣中的酸氣體和粉塵。
發明內容
本發明解決的問題在于提供一種危廢處理用污泥收集處理裝置及其工作方法,解決了現有的危廢污泥通過燃燒的方式處理,此時由于污泥堆積在一起,在燃燒時,無法實現污泥的全面徹底的燃燒處理,進而導致污泥內部有毒物質處理不徹底,需要反復進行燃燒,造成資源浪費的技術問題。
為了實現上述目的,本發明采用了如下技術方案:一種危廢處理用污泥收集處理裝置,包括用于煤塊和污泥混合的攪拌機、混合料分切的分塊機以及用于分切后混合料焚燒處理的焚燒爐,所述分塊機包括基座、端架、傳動輥和傳送帶,所述基座上安裝有頂板,所述頂板兩端均安裝有端架,且兩個端架上均安裝有傳動輥,兩個所述傳動輥通過傳送帶傳動,且傳送帶沿著頂板外側傳動,所述頂板一端頂側且位于傳送帶上安裝有料箱,所述料箱與螺旋輸送機出料端連通,所述螺旋輸送機的進料端安裝有加料斗;所述頂板另一端頂側安裝有耳座,所述耳座與切刀一端轉動安裝。
優選的,其中一個所述端架上安裝有第一電機,所述第一電機輸出端與其中一個傳動輥連接。
優選的,所述頂板上對稱平行安裝有兩個擋板,且兩個擋板分別位于傳送帶兩側。
優選的,所述料箱上設置有出料槽,所述出料槽內貫穿活動安裝有L型的升降板,所述升降板底端安裝有限料斜板。
優選的,所述升降板上安裝有氣壓缸,且氣壓缸伸縮端貫穿升降板與出料槽頂側連接。
優選的,所述基座內安裝有減速器,減速器輸入端與第二電機輸出端連接,所述基座內安裝有齒輪座,且齒輪座內嚙合安裝有兩個傳動齒。
優選的,所述減速器輸出端與其中一個傳動齒連接,且另一個傳動齒與轉臂一端通過轉軸轉動連接,所述轉臂另一端與活動臂底端通過插軸轉動連連接。
優選的,所述活動臂頂端與切刀另一端通過插軸轉動連連接,所述耳座與切刀一端通過插軸轉動安裝一種危廢處理用污泥收集處理裝置的工作方法,該工作方法的具體操作步驟如下:步驟一:將煤塊和含水率為45-60%污泥加入攪拌機內進行混合攪拌,其中煤塊和污泥的比例為4:1-3,然后將攪拌后的混合料同通過混合料進行分切;步驟二:將混合料加入加料斗內,經過螺旋輸送機輸送至料箱內,此時第一電機工作帶動傳動輥旋轉,實現傳送帶的傳動,帶動混合料移動,料箱內的混合料經過出料槽時,此時通過氣壓缸工作帶動升降板以及限料斜板升降,調整限料斜板的高度,進而對出料槽移出的混合料的厚度進行調整,當均勻厚度的混合料隨著傳送帶的移動經過切刀下方時,此時第二電機工作,減速器調速實現轉臂旋轉,進而與活動臂配合傳動,帶動切刀在耳座上往復壓切,對混合料完成分塊;步驟三:將分塊后加入焚燒爐進行焚燒處理,產生的煙氣煙氣通入余熱鍋爐進行熱源利用,余熱鍋爐排出的煙氣通入急冷中和塔經降溫和堿液噴淋,進一步去除煙氣中的酸氣體和粉塵。
本發明的有益效果是:將煤塊和污泥進行混合,在后續焚燒爐焚燒污泥時,煤塊燃燒的同時便于對污泥進行充分燃燒處理,保證焚燒的徹底高效,提高污泥處理的效率,同時產生的煙氣通入急冷中和塔經降溫和堿液噴淋,進一步去除煙氣中的酸氣體和粉塵;同時通過分塊機對混合料進行切割,分切成不同厚度以及不同大小,便于運輸以及在燃燒時與空氣以及與焚燒爐火焰充分接觸,提高處理效率。
(發明人:鄒延程;吳周開)






