申請日2013.09.18
公開(公告)日2014.04.23
IPC分類號E03C1/12; F16L5/10; F16L5/04
摘要
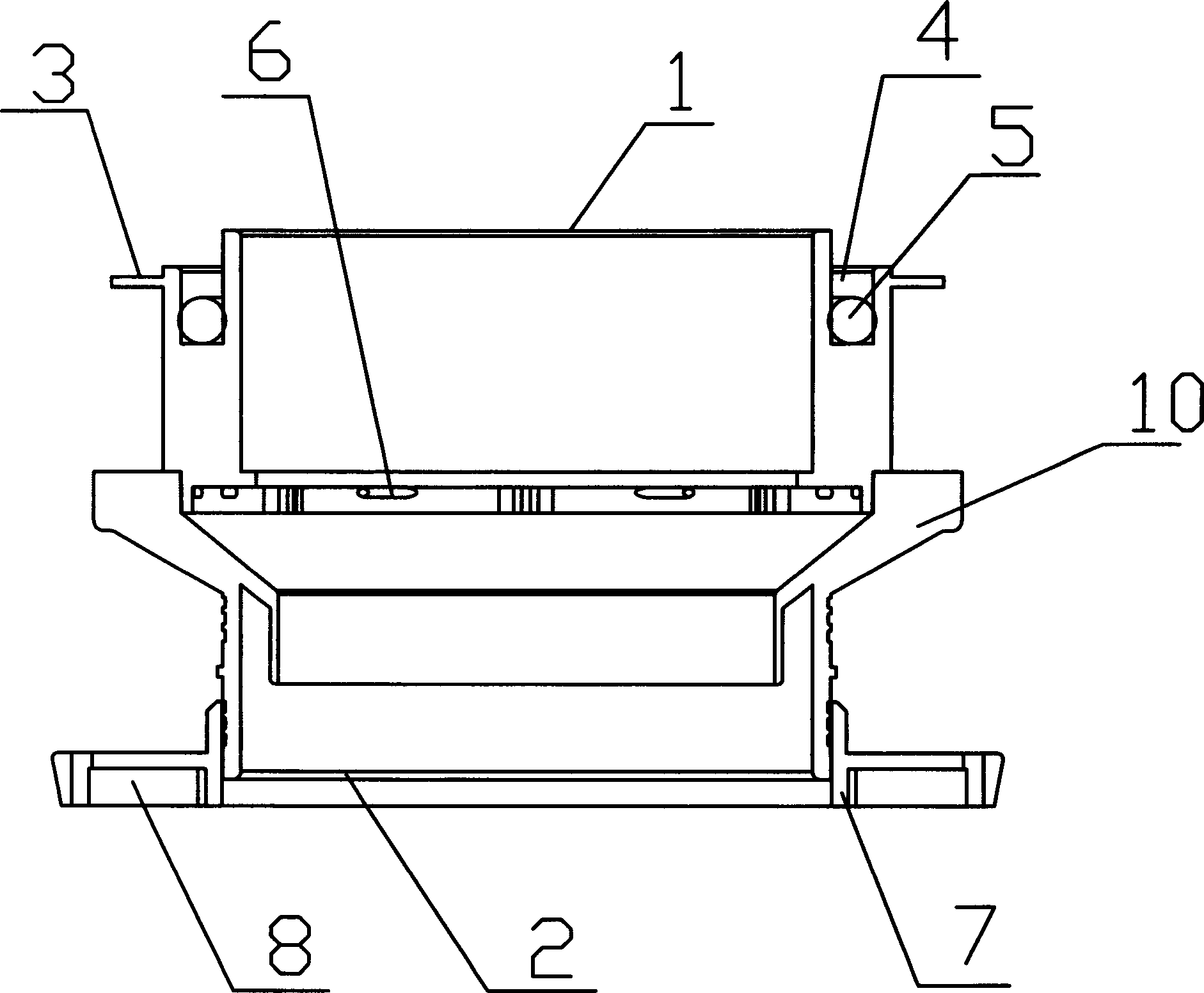
本實用新型公開了一種排水管積水處理器,包括積水處理器本體,積水處理器本體設置有上接管口和下接管口,積水處理器本體內設置有排漏孔,所述的上接管口外側設置有止水圈,止水圈與上接管口之間設置有排漏孔,排漏孔內設置有密封橡膠圈,下接管口外部通過螺紋設置有固定腳套圈,固定腳套圈7底部開設有阻火圈固定槽;所述的積水處理器本體中間外部設置有安裝固定盤,安裝固定盤上開設有止水凹槽;所述的固定腳套圈上設置有固定腳,固定腳上開設有安裝固定孔和阻火定位孔;本實用新型的有益效果:實用,生產成本低,使用、安裝方便,安全可靠,經濟實用,省鋼管材料,省工時,可以防止建筑過程中的沙石,水泥等從排水管道的孔位落入下層。
權利要求書
1.一種排水管積水處理器,包括積水處理器本體,積水處理器本體 設置有上接管口(1)和下接管口(2),積水處理器本體內設置有排 漏孔(6),其特征在于:所述的上接管口(1)外側設置有止水圈(3), 止水圈(3)與上接管口(1)之間設置有排漏孔(4),排漏孔(4) 內設置有密封橡膠圈(5),下接管口(2)外部通過螺紋設置有固定 腳套圈(7),固定腳套圈(7)底部開設有阻火圈固定槽(8)。
2.根據權利要求1所述的一種排水管積水處理器,其特征在于:所 述的積水處理器本體中間外部設置有接水盤(10),接水盤(10)上 開設有止水凹槽。
3.根據權利要求1所述的一種排水管積水處理器,其特征在于:所 述的固定腳套圈(7)上設置有固定腳(11),固定腳(11)上開設有 安裝固定孔(9)和阻火定位孔(12)。
4.根據權利要求1所述的一種排水管積水處理器,其特征在于:所 述的積水處理器(1)本體外表面設置有縱向或者是橫向的加強筋。
說明書
一種排水管積水處理器
技術領域
本實用新型涉及一種建筑裝修用材料,特別涉及一種排水管積 水處理器。
背景技術
眾所周知,所有工業及民用(住宅)建筑離不開排水管道,在 房屋(住宅)的每層樓房在建造過程中必然要預先留出安裝排水管的 位置。目前,預先留出安裝排水管道的孔位,沒有排水管孔的預埋裝 置。或者在孔位上預先埋上一段相應排水管外徑尺寸的鋼管,待安裝 排水管道時再拆除或不拆除。預埋一個普通的套管。這種傳統的做法: 對沒有排水管孔預埋裝置的,往往使上層樓房的沙石,水泥等從排水 管道的孔位落入下層樓房,造成對施工人員的安全隱患;預埋鋼管的, 既浪費了每段預埋鋼管的材料,又浪費修補預設排水管道孔的工時 等。普通的塑料套管容易和水泥分離造成漏水,后果不堪設想。特別 是現在我們全國很多城市都在推廣同層排水,同層排水好處多多,比 如說它能防堵,維修簡單方便,防漏水,隔音效果好等等,但是它唯 一的缺點就是不能排除去自己的沉箱里的積水。
實用新型內容
本實用所要解決的技術問題是針對現有技術的不足,提供一種新 型的排水管積水處理器。
為了實現上述目的,本實用新型所采取的措施:
一種排水管積水處理器,包括積水處理器本體,積水處理器本 體設置有上接管口和下接管口,積水處理器本體內設置有排漏孔,所 述的上接管口外側設置有止水圈,止水圈與上接管口之間設置有排漏 孔,排漏孔內設置有密封橡膠圈,下接管口外部通過螺紋設置有固定 腳套圈,固定腳套圈底部開設有阻火圈固定槽;
所述的積水處理器本體中間外部設置有止水盤,止水盤上開設 有止水凹槽;
所述的固定腳套圈上設置有固定腳,固定腳上開設有安裝固定 孔和阻火定位孔;
所述的積水處理器本體外表面設置有縱向或者是橫向的加強 筋。
本實用新型的有益效果:實用,生產成本低,使用、安裝方便, 安全可靠,經濟實用,省鋼管材料,省工時,可以防止建筑過程中的 沙石,水泥等從排水管道的孔位落入下層。







