申請日2013.09.18
公開(公告)日2014.03.26
IPC分類號E03C1/12
摘要
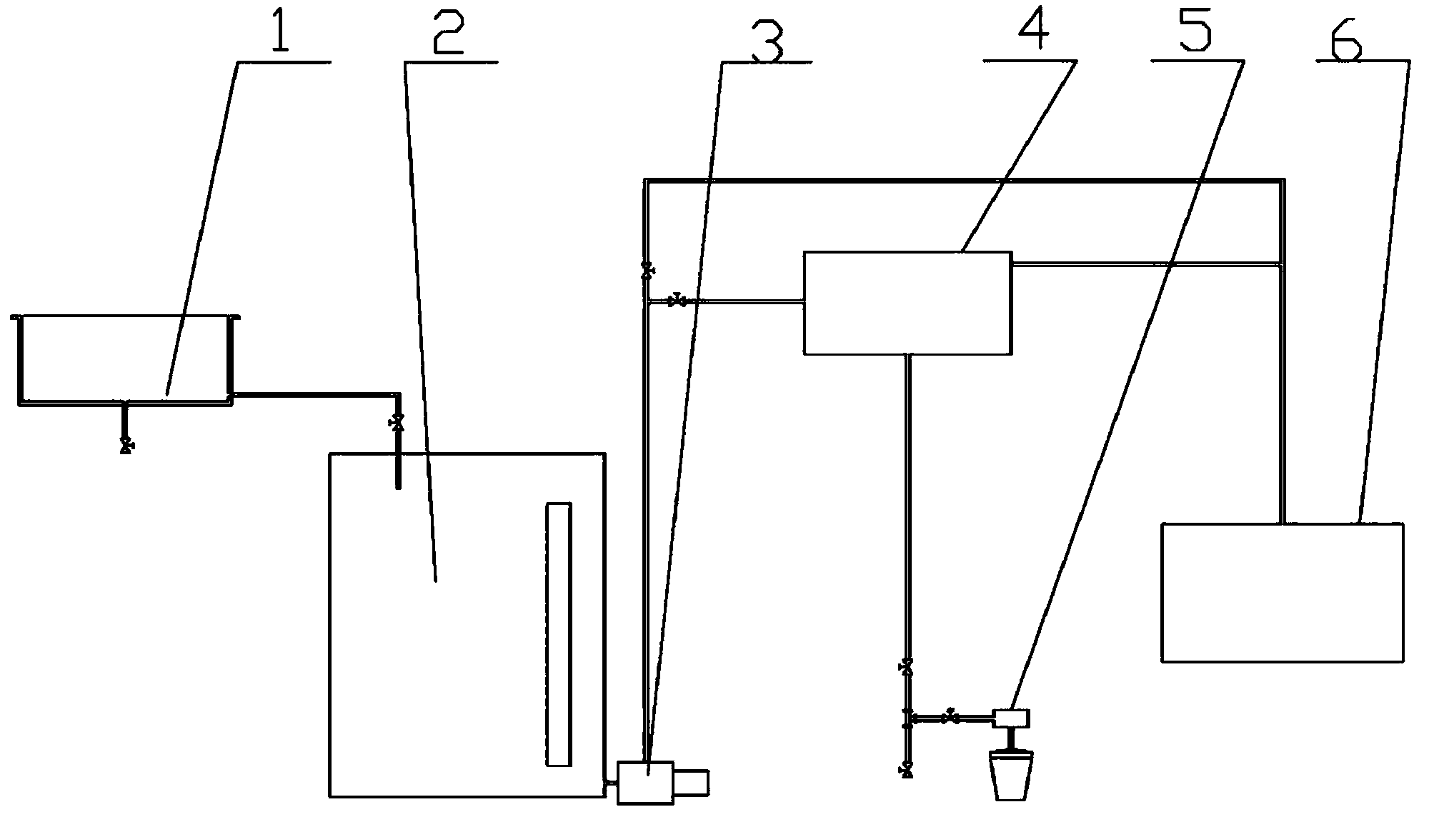
本申請公開了家用廢水采集和儲存裝置,其特征在于,包括:收集器(2),加壓裝置(3)和高位儲水箱(4),利用本申請高位儲水箱中的生活廢水沖洗馬桶,節省自來水及家庭用水費用,高位儲水箱中的水還可以直接儲存至社區儲水池,可用于灌溉和沖洗地面,節省了水資源。
權利要求書
1.家用廢水采集和儲存裝置,其特征在于,包括收集器(2),加壓裝置(3)和高位儲水箱(4),所述收集器(2)通過加壓裝置(3)與高位儲水箱(4)連接。
2.根據權利要求1所述的家用廢水采集和儲存裝置,其特征在于,所述加壓裝置(3)為水泵。
3.根據權利要求1所述的家用廢水采集和儲存裝置,其特征在于,所述收集器(2)與高位儲水箱(4)直接連接。
4.根據權利要求3所述的家用廢水采集和儲存裝置,其特征在于,所述加壓裝置(3)為手動加壓裝置。
5.根據權利要求1-4中任一項所述的家用廢水采集和儲存裝置,其特征在于,所述收集器(2)和高位儲水箱(4)上設置水位尺。
6.根據權利要求5所述的家用廢水采集和儲存裝置,其特征在于,所述高位儲水箱(4)和收集器(2)之間設置單向閥。
7.根據權利要求6所述的家用廢水采集和儲存裝置,其特征在于,所述收集器(2)的進水口設置過濾器。
說明書
家用廢水采集和儲存裝置
技術領域
本實用新型涉及水處理裝置,特別涉及家用廢水處理裝置。
背景技術
水并不是取之不盡、用之不竭的,北京市是嚴重缺水的城市,人均水資源占 有量不足400m3,相當于全國人均占有量的1/6,世界人均占有量的1/25。而 我國的西北部地區的水資源則更為稀缺。目前,我們比較關注的是控制工業用水 量和工業的處理及再利用,而往往忽視了家庭用水的再利用,更忽視了將整個社 區的生活廢水收集起來集中利用。
實用新型內容
鑒于現有技術中存在的問題,本實用新型提供一種家用廢水采集和儲存裝 置,可以收集家庭生活廢水,并將廢水用于沖洗廁所馬桶以及將社區生活廢水集 中起來,用于灌溉。
本實用新型的家用廢水采集和儲存裝置,包括:收集器,加壓裝置和高位儲 水箱。
在本實用新型的一些實施方式中,所述收集器通過加壓裝置與高位儲水箱連 接。
在本實用新型的一些實施方式中,所述加壓裝置為水泵。
在本實用新型的一些實施方式中,所述收集器與高位儲水箱直接連接。
在本實用新型的一些實施方式中,所述加壓裝置為手動加壓裝置。
在本實用新型的一些實施方式中,所述收集器和高位儲水箱上設置水位尺。
在本實用新型的一些實施方式中,所述高位儲水箱和收集器之間設置單向 閥。
在本實用新型的一些實施方式中,所述收集器的進水口設置過濾器。
本實用新型的有益效果:
1.利用本實用新型高位儲水箱中的生活廢水沖洗馬桶,節省自來水。
2.利用本實用新型將生活廢水直接儲存至社區儲水池,用于灌溉和沖洗地 面,節省了水資源。







