申請日2013.09.18
公開(公告)日2014.01.01
IPC分類號C02F11/14
摘要
本發明涉及一種污泥調質器及其污泥調質方法,污泥調質器主要由混料攪拌筒、轉軸、支撐座、多個攪拌葉、電機構成,所述攪拌葉設在混料攪拌筒內,攪拌葉的一端與轉軸的端部聯接且沿轉軸的周向分布,另一端為自由端,向著污泥入口的方向延伸。本發明設備是針對污泥處理專門設計的,其最大特點是在混料攪拌筒中省掉了攪拌軸,保證了污泥輸送的流暢性,減少了對設備的維護,尤其是使攪拌葉的延伸方向與污泥輸送的流向一致,減小了沿徑向對攪拌葉造成直接的沖擊,從而延長了調質器的使用壽命;本發明的污泥調質方法,主要利用污泥調質器對污泥和調質藥品混合攪拌,以加快調質藥品與污泥反應過程,從而使調質藥品得到充分利用,避免浪費及減少污染。
權利要求書
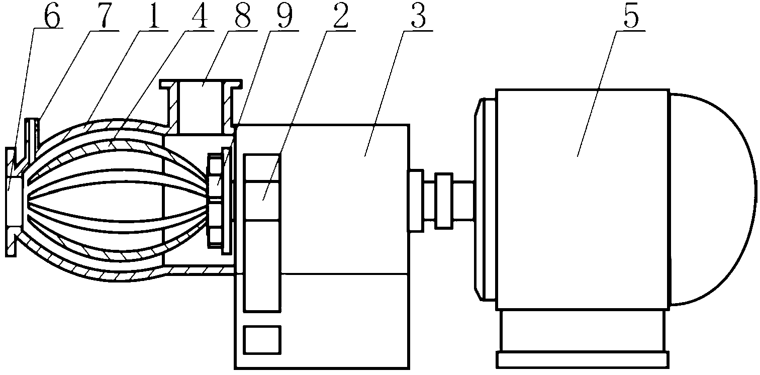
1.一種污泥調質器,其特征在于:它主要由混料攪拌筒、轉軸、支撐座、 多個攪拌葉、電機構成,所述轉軸和混料攪拌筒設在支撐座上,混料攪拌筒的 一端設有污泥入口,靠近該端的筒壁上設有藥品加入口,另一端為封閉端,靠 近該封閉端的筒壁上設有污泥排出口,所述轉軸的一端與電機聯接,另一端設 在混料攪拌筒的封閉端處,設在混料攪拌筒內的所述攪拌葉的一端與轉軸的端 部聯接且沿轉軸的周向分布,另一端為自由端,向著污泥入口的方向延伸。
2.根據權利要求1所述的污泥調質器,其特征在于:還包括撥料盤,所述 撥料盤套裝固定在轉軸上,撥料盤是由圓形擋板以及設在圓形擋板表面的多個 條形撥料塊構成,所述條形撥料塊沿圓形擋板的周向間隔分布且與污泥排出口 相對應。
3.根據權利要求1所述的污泥調質器,其特征在于:所述攪拌葉為弧形結 構,所有攪拌葉構成一個球形或橢球形結構,所述混料攪拌筒的內表面為與攪 拌葉形狀相適配的弧形面。
4.根據權利要求2所述的污泥調質器,其特征在于:所述攪拌葉的數量為 3~6根;所述條形撥料塊的數量為3~6根。
5.根據權利要求1所述的污泥調質器,其特征在于:所述污泥排出口的中 心線與所述污泥入口的中心線相垂直。
6.根據權利要求1所述的污泥調質器,其特征在于:所述混料攪拌筒的內 表面與攪拌葉之間的間隙為3~10mm。
7.根據權利要求1~6任一項所述的污泥調質器,其特征在于:所述電機 采用轉速可調的變頻電機。
8.根據權利要求1~7任一項所述污泥調質器的污泥調質方法,其特征在 于,
包括以下步驟:
A、進料:將污泥和調質藥品連續不斷地送入污泥調質器的混料攪拌筒中;
B、混合攪拌:轉軸帶動混料攪拌筒內的攪拌葉轉動,利用攪拌葉將污泥和 調質藥品充分混合;
C、排料:充分混合后的污泥和調質藥品從污泥排出口排出,完成污泥調質 工序。
9.根據權利要求8所述污泥調質方法,其特征在于:所述步驟B中,根據 污泥的含固率高低,來調節轉軸的轉速,對于含固率低于5%的污泥,設定轉速 為600轉/分,當含固率為5%~8%時,設定轉速為1000轉/分,當含固率大于 8%時,設定轉速為1500轉/分。
10.根據權利要求8所述污泥調質方法,其特征在于:所述步驟C中,所 述充分混合后的污泥和調質藥品經過轉動的撥料盤時,沿著撥料盤中圓形擋板 的表面向上推進,并在圓形擋板表面的條形撥料塊的撥動下,將污泥和調質藥 品推向污泥排出口,最后從污泥排出口排出。
說明書
污泥調質器及其污泥調質方法
技術領域
本發明涉及污泥處理領域,具體涉及一種污泥調質器及其污泥調質方法。
背景技術
污泥脫水是大部分污泥資源化利用技術的共性技術,而污泥脫水中,污泥 的調質決定了污泥脫水率和脫水成本的高低,污泥在調質過程中,污泥與調質 藥品的混合和反應過程,是影響調質藥品的使用量和使用效果的重要因素。現 在使用的技術中,普遍采用了污泥與藥品在管道中混合或者通過靜態混合器 (基本上采用的是文丘里的原理)混合。實際使用證明,現有調質藥品的混合 方法,由于污泥的流體特性,影響了調質藥品的混合,混合效果不佳,調質藥 品與污泥的混合均勻度低,造成污泥調質效果不均,而使用者為了達到調質要 求,往往采用的方法就是加大調質藥品的加入量,從而增加了調質成本,并造 成大量的調質藥品沒有發生反應而集聚成塊,對脫水設備的網部形成堵塞,多 余的藥品又被排放的濾水或隨污泥排出,對環境造成二次污泥。因此,解決污 泥與調質藥品的充分混合,對污泥調質是非常重要的,只有充分混合的基礎上, 才能加快調質藥品的反應速度,并使調質效果均勻和提高,減少調質藥品的浪 費。
國家知識產權局于2013年5月29日公開了公開號為CN202951479U,發 明名稱為強力攪拌型反應釜的實用新型專利,該專利涉及石油、化工、橡膠及 醫藥領域,它包括罐體、罐蓋以及攪拌裝置,攪拌裝置為四個,其中一個攪拌 裝置設置在罐體的中心位置,剩余三個攪拌裝置設置在罐體中心距離罐體邊緣 的中間位置處并且間隔距離相同。四個攪拌裝置的攪拌葉片高低錯開設置。上 述的攪拌裝置,在混料攪拌筒中設有攪拌軸以及分布在攪拌軸上的多個攪拌葉 構成,故攪拌軸設在混料攪拌筒中且位于中心線上,不僅占用了倉內的空間, 影響了污泥在倉內的流動性,而且還容易使污泥粘貼在攪拌軸上,增大了對設 備的清洗維護的成本,故該類攪拌設備不適合在污泥處理方面的應用。
國家知識產權局于2009年5月27日公開了公開號為CN201244862,發明 名稱為臥式混凝土攪拌裝置的實用新型專利,該專利包括機架、料斗、加水口、 驅動電機,在料斗的出料口下方橫向設置有螺旋推進裝置,在螺旋推進裝置的 端口設有攪拌裝置,螺旋推進裝置和攪拌裝置同軸心,它們的驅動軸通過聯軸 裝置連接,它們的外部設有殼體,出料口設在攪拌裝置的尾端。本實用新型解 決了在井下巷道內由于空間不夠,不能使用普通混凝土攪拌機的問題;輸送、 攪拌裝置能連續性工作,改變了以往的攪拌機按筒攪拌出料不連續的問題,在 原料供給充足的情況下,能連續、快速地進行混凝土攪拌。上述的攪拌設備, 不適合輸料壓力較大的環境,尤其是不適合對污泥的處理,因為當原料從原料 入口進入攪拌筒內后,會對筒內的攪拌軸及攪拌葉造成極大的直接沖擊,尤其 是攪拌軸受到較大的徑向壓力時,會使攪拌軸及攪拌葉產生較大的徑向跳動, 嚴重時會造成損毀。
發明內容
本發明的目的在于克服現有技術的不足,提供一種使污泥和調質藥品混合 更均勻、污泥流動更通暢、節能環保、抗原料輸入沖擊力的能力強的污泥調質 器。
本發明的另一目的在于提供一種上述污泥調質器的污泥調質方法,通過該 方法,可以加快調質藥品與污泥反應過程,從而使調質藥品得到充分利用,避 免浪費及減少污染。
本發明通過以下技術方案實現:污泥調質器,它主要由混料攪拌筒、轉軸、 支撐座、多個攪拌葉、電機構成,所述轉軸和混料攪拌筒設在支撐座上,混料 攪拌筒的一端設有污泥入口,靠近該端的筒壁上設有藥品加入口,另一端為封 閉端,靠近該封閉端的筒壁上設有污泥排出口,所述轉軸的一端與電機聯接, 另一端設在混料攪拌筒的封閉端處,設在混料攪拌筒內的所述攪拌葉的一端與 轉軸的端部聯接且沿轉軸的周向分布,另一端為自由端,向著污泥入口的方向 延伸。
上述結構形式有兩大特點:一、使攪拌葉的自由端向污泥入口的方向延伸, 故攪拌葉的延伸方向與污泥輸送的流向一致,當原料(污泥)從污泥入口輸入 時,大大減小了沿徑向對攪拌葉造成直接的沖擊,從而延長了調質器的使用壽 命,特別適合大流量或原料輸入壓力較大的場合,尤其適合對污泥的處理;二、 在混料攪拌筒內省掉了攪拌軸,故減少了攪拌組件在混料攪拌筒內的占用空 間,不僅降低了成本,并且不存在污泥粘貼攪拌軸的現象,減少了對設備清洗 維護的次數,而且還保障了污泥在混料攪拌筒內移動的流暢性。
所述污泥調質器還包括撥料盤,所述撥料盤套裝固定在轉軸上,撥料盤是 由圓形擋板以及設在圓形擋板表面的多個條形撥料塊構成,所述條形撥料塊沿 圓形擋板的周向間隔分布且與污泥排出口相對應。當然,圓形擋板除了上述套 裝的連接形式以外,還可以采用撥料盤與轉軸一體成型的結構形式。在混料攪 拌筒內增設轉動的撥料盤,是本發明的又一大特點,圓形擋板和條形撥料塊共 同作用,將污泥推向污泥排出口,具體工作方式:混料攪拌筒內的污泥向前推 進,當接觸到轉動的圓形擋板時被阻止,與此同時,跟隨圓形擋板一起轉動的 條形撥料塊將與之接觸的污泥沿圓形擋板的徑向向外推出,從而極大地促進了 污泥的排出,這樣不僅大大緩解了混料攪拌筒內的污泥壓力,而且還為連續化 生產作業提供了保障。
所述攪拌葉為弧形結構,所有攪拌葉構成一個球形或橢球形結構,所述混 料攪拌筒的內表面為與攪拌葉形狀相適配的弧形面。上述結構有以下兩方面的 特點:一是進一步減輕了原料移動對攪拌葉的直接沖擊,故能適應大流量或較 高輸入壓力的工作環境;二是與該攪拌葉相適配的攪拌筒也同樣會制成橢球形 結構,由于排料口設在靠近端部的位置,故方便了對污泥的排出。
所述攪拌葉的數量為3~6根;所述混料攪拌筒的內表面與攪拌葉之間的 間隙為3~10mm。攪拌葉的數量不能過多,過多則會增大設備制造和運行成本, 也不能過少,過少會降低攪拌的效果;同理,條形撥料塊的數量也有一個較佳 的范圍:所述條形撥料塊的數量為3~6根。
所述污泥排出口的中心線與所述污泥入口的中心線相垂直。
所述電機采用轉速可調的變頻電機,采用變頻電機可以根據污泥的不同粘 稠度,調節不同的轉速,充分體現了節能環保的性能。如果電機的轉速不可調, 就只能以最大轉速運轉,其好處是可處理各種污泥,但對粘稠度較低的污泥來 說,以這種運轉速度是沒有必要的,會造成能源的浪費,不符合節能環保的要 求。
污泥調質器的污泥調質方法,包括以下步驟:A、進料:將污泥和調質藥 品連續不斷地送入污泥調質器的混料攪拌筒中;B、混合攪拌:轉軸帶動混料 攪拌筒內的攪拌葉轉動,利用攪拌葉將污泥和調質藥品充分混合;C、排料: 充分混合后的污泥和調質藥品從污泥排出口排出,完成污泥調質工序。
所述步驟B中,根據污泥的含固率高低,來調節轉軸的轉速,對于含固率 低于5%的污泥,設定轉速為600轉/分,當含固率為5%~8%時,設定轉速為1000 轉/分,當含固率大于8%時,設定轉速為1500轉/分。
所謂的含固率指某一混合物中固體成分含量的百分比。含固率>8%是指, 當污泥的重量為100公斤時,其中水的含量應小于92公斤。
所述步驟C中,所述充分混合后的污泥和調質藥品經過轉動的撥料盤時, 沿著撥料盤中圓形擋板的表面向上推進,并在圓形擋板表面的條形撥料塊的撥 動下,將污泥和調質藥品推向污泥排出口,最后從污泥排出口排出。
本發明相對于現有技術,具有如下優點效果:
1.本發明設備是針對污泥處理專門設計的,其最大特點是在混料攪拌筒中省 掉了攪拌軸,而只有攪拌葉,換句話說,混料攪拌筒中沒有轉軸,這種結 構形式,保證了污泥輸送的流暢性,減少了對設備的維護;
2.本發明設備的另外一個特點是增設了撥料盤,可有效促進了污泥的排出, 減少了污泥在倉內的壓力,尤其是減少了混料攪拌筒封閉端的壓力;
3.本發明設備的電機采用了由變頻器控制的可調速的電機,可根據不同含固 率的污泥,調整不同的轉速,所以既能保證混料的均勻,又能實現節能環 保;
4.本發明提供了一種動態混合污泥與調質藥品的方法,與現有的靜態混合相 比,混合均勻度提高30%以上;
5.與現有混合調質藥品的技術相比,由于本發明的方法與裝置提供了調質藥 品與污泥充分反應的條件,也縮短了藥品的反應時間,達到了節省調質藥 品的目的,可節省調質藥品15%以上;
6.本發明方法也減少了藥品殘余,降低了殘余藥品對環境的二次污染,也減 少了殘余藥品團對脫水設備的損害。







