申請日2013.09.18
公開(公告)日2014.04.02
IPC分類號C02F11/14; B01F15/02; B01F7/18
摘要
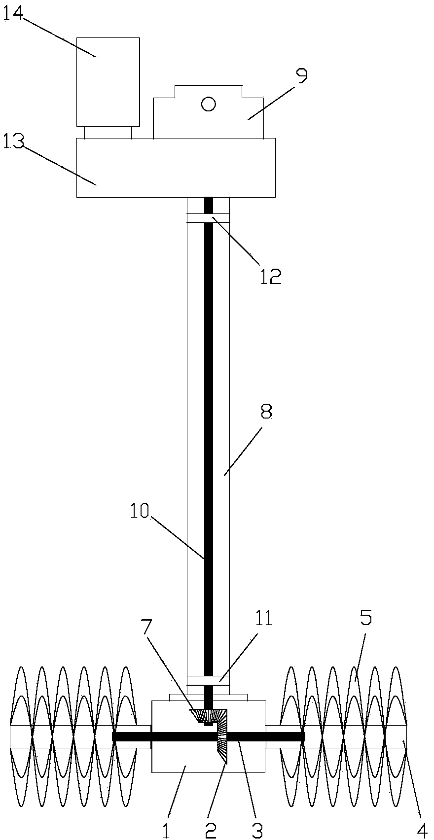
本實用新型涉及一種污泥堆場原位固化穩定化攪拌裝置,包括動力輸出機構(14)、傳動機構、攪拌機構(1)和固化劑輸送管(16);攪拌機構(1)包括攪拌軸(3)、攪拌槳葉(5)和攪拌套筒(4),所述攪拌套筒(4)與所述攪拌軸(3)連接,所述攪拌槳葉(5)設置在所述攪拌套筒(4)外側,所述動力輸出機構(14)通過傳動機構驅動所述攪拌軸(3)轉動;所述攪拌套筒(4)內設有與所述固化劑輸送管(16)連接的固化劑噴嘴(6)。本實用新型實現了市政污泥堆場在不對污泥進行遷移的情況下,進行原位處理,達到污泥固化穩定化要求,操作簡單,無二次污染,污泥固化后的產物可以被資源化利用,其占用的土地資源可以進行商業開發。
權利要求書
1.一種污泥堆場原位固化穩定化攪拌裝置,其特征在于,包括動力輸出 機構(14)、傳動機構、攪拌機構(1)和固化劑輸送管(16);所述攪拌機構 (1)包括攪拌軸(3)、攪拌槳葉(5)和攪拌套筒(4),所述攪拌套筒(4) 與所述攪拌軸(3)連接,所述攪拌槳葉(5)設置在所述攪拌套筒(4)外側, 所述動力輸出機構(14)通過傳動機構驅動所述攪拌軸(3)轉動;所述攪拌 套筒(4)內設有與所述固化劑輸送管(16)連接的固化劑噴嘴(6)。
2.根據權利要求1所述的污泥堆場原位固化穩定化攪拌裝置,其特征在 于,所述傳動機構包括與所述動力輸出機構(14)連接的傳動齒輪箱(13), 所述傳動齒輪箱(13)與傳動軸(10)連接,所述攪拌軸(3)上設有攪拌軸 齒輪(2),所述傳動軸(10)上設有與所述攪拌軸(3)嚙合的傳動軸齒輪(7)。
3.根據權利要求2所述的污泥堆場原位固化穩定化攪拌裝置,其特征在 于,所述傳動軸齒輪(7)和攪拌軸齒輪(2)為傘齒輪。
4.根據權利要求2所述的污泥堆場原位固化穩定化攪拌裝置,其特征在 于,所述傳動軸(10)的上下兩端分別設有上軸承(12)和下軸承(11)。
5.根據權利要求2所述的污泥堆場原位固化穩定化攪拌裝置,其特征在 于,所述傳動軸(10)外部設有護套(8),所述固化劑輸送管(16)位于所述 護套(8)內。
6.根據權利要求2所述的污泥堆場原位固化穩定化攪拌裝置,其特征在 于,所述傳動齒輪箱(13)內設有扭矩傳感器和調速裝置。
7.根據權利要求1所述的污泥堆場原位固化穩定化攪拌裝置,其特征在 于,攪拌裝置還包括外部連接機構(9)。
8.根據權利要求1所述的污泥堆場原位固化穩定化攪拌裝置,其特征在 于,所述攪拌槳葉(5)為雙螺旋攪拌葉片。
9.根據權利要求1所述的污泥堆場原位固化穩定化攪拌裝置,其特征在 于,所述固化劑輸送管(16)上設有計量裝置。
說明書
一種污泥堆場原位固化穩定化攪拌裝置
技術領域
本實用新型涉及污泥處理領域,更具體地說,涉及一種污泥堆場原位固化 穩定化攪拌裝置。
背景技術
隨著我國污水處理行業的發展,污水處理能力的提高造成污泥產量的急劇 增加,根據住建部資料,截至2010年底全國城鎮污泥產量接近2200萬噸,有 關人士估計,污泥產生量若以此速度增長,總量將在2015年達到3560萬噸。 據統計,目前全國城鎮污水處理廠的污泥只有少部分進行焚燒、填埋和再利用, 大量污泥未經任何處理就直接投棄,近上十年來,形成大量的堆泥場。污泥堆 場中污泥量的增加,由于其高含水率呈現流動狀態,不斷覆蓋地勢較低的區域, 并破壞覆蓋區域的地表植被;除此之外,這些富含有機質和微生物的污泥暴露 于環境中,在降雨的過程中,會產生大量的污水進入自然水體,形成重復污染; 其滋生的細菌會對人體、周邊生物以及周邊的生態環境產生疾病威脅;另外, 覆蓋了污泥的區域即為危險區域,大量的土地面積被占用無法得到利用,阻礙 了城市的規劃發展。
市政污泥的處置問題日益獲得關注,國家投入大量資金進行污泥處置的技 術開發,但大部分技術均是針對污水廠剛壓濾出來的新鮮污泥(含水率約 80%),鮮見有專門針對污泥堆場的技術被開發,若采用現有技術則成本太高, 因此,污泥堆場的處置問題日益突出。
實用新型內容
本實用新型要解決的技術問題在于,提供一種污泥堆場原位固化穩定化攪 拌裝置。
本實用新型解決其技術問題所采用的技術方案是:構造一種污泥堆場原位 固化穩定化攪拌裝置,包括動力輸出機構、傳動機構、攪拌機構和固化劑輸送 管;所述攪拌機構包括攪拌軸、攪拌槳葉和攪拌套筒,所述攪拌套筒與所述攪 拌軸連接,所述攪拌槳葉設置在所述攪拌套筒外側,所述動力輸出機構通過傳 動機構驅動所述攪拌軸轉動;所述攪拌套筒內設有與所述固化劑輸送管連接的 固化劑噴嘴。
在本實用新型所述的污泥堆場原位固化穩定化攪拌裝置中,所述傳動機構 包括與所述動力輸出機構連接的傳動齒輪箱,所述傳動齒輪箱與傳動軸連接, 所述攪拌軸上設有攪拌軸齒輪,所述傳動軸上設有與所述攪拌軸嚙合的傳動軸 齒輪。
在本實用新型所述的污泥堆場原位固化穩定化攪拌裝置中,所述傳動軸齒 輪和攪拌軸齒輪為傘齒輪。
在本實用新型所述的污泥堆場原位固化穩定化攪拌裝置中,所述傳動軸的 上下兩端分別設有上軸承和下軸承。
在本實用新型所述的污泥堆場原位固化穩定化攪拌裝置中,所述傳動軸外 部設有護套,所述固化劑輸送管位于所述護套內。
在本實用新型所述的污泥堆場原位固化穩定化攪拌裝置中,所述傳動齒輪 箱內設有扭矩傳感器和調速裝置。
在本實用新型所述的污泥堆場原位固化穩定化攪拌裝置中,攪拌裝置還包 括外部連接機構。
在本實用新型所述的污泥堆場原位固化穩定化攪拌裝置中,所述攪拌槳葉 為雙螺旋攪拌葉片。
在本實用新型所述的污泥堆場原位固化穩定化攪拌裝置中,所述固化劑輸 送管上設有計量裝置。
實施本實用新型的污泥堆場原位固化穩定化攪拌裝置,具有以下有益效 果:
1、本實用新型實現了市政污泥堆場在不對污泥進行遷移的情況下,進行 原位處理,達到污泥固化穩定化要求,操作簡單,無二次污染,污泥固化后的 產物可以被資源化利用,其占用的土地資源可以進行商業開發。
2、該裝置動力要求簡單,可采用液壓驅動,也可采用電力驅動。
3、該裝置結構簡單,重量小,便于和其他工程機械組合使用。
4、該裝置安裝傳感器,可以對動力機機械部件進行有效保護,使其使用 壽命更長。







