申請日2014.11.06
公開(公告)日2015.03.04
IPC分類號C02F1/02; C01D5/00; C01D3/04; C02F1/06
摘要
本發明提供一種從高鹽有機廢水中選擇性提取鹽分的方法,其包括:①加熱待處理廢水,使其處于過熱狀態;②使步驟①所得到的過熱廢水由循環水入口進入閃蒸罐內進行閃蒸;閃蒸所得到的廢水由循環水出口進入循環管道并重復步驟①,而結晶鹽粒則進入鹽洗滌腿;③由鹽洗滌腿的上部入水口向下噴入待處理廢水,對結晶鹽粒進行清洗;④由鹽洗滌腿的中部入水口噴入待處理廢水,使至少一部分被清洗后的結晶鹽粒作離心運動并由鹽洗滌腿的排鹽口排出;⑤分離由排鹽口排出的結晶鹽粒和廢水。該方法能夠在結晶鹽粒與廢水混合的狀態下對結晶鹽粒進行多次洗滌,廢水處理效率高、成本低,所得到的結晶鹽粒純度高。
權利要求書
1.一種從高鹽有機廢水中選擇性提取鹽分的方法,包括:
①加熱待處理廢水,使其處于過熱狀態;
②使步驟①所得到的過熱廢水由循環水入口進入閃蒸罐內進行閃蒸;閃蒸 所得到的廢水由循環水出口進入循環管道并重復步驟①,而結晶鹽粒則進入鹽 洗滌腿;
③由所述鹽洗滌腿的上部入水口向下噴入待處理廢水,對結晶鹽粒進行清 洗;
④由所述鹽洗滌腿的中部入水口噴入待處理廢水,使至少一部分被清洗后 的結晶鹽粒作離心運動并由所述鹽洗滌腿的排鹽口排出;
⑤分離由所述排鹽口排出的結晶鹽粒和廢水。
2.如權利要求1所述的方法,其還包括利用由所述鹽洗滌腿的底部入水口 噴入的待處理廢水使運動至所述鹽洗滌腿底部的結晶鹽粒向上運動。
3.如權利要求1所述的方法,其還包括首先對廢水進行濃縮的步驟。
4.如權利要求1所述的方法,其中,在步驟②中,至少一部分過熱廢水由 第二循環水入口進入所述閃蒸罐的底部和/或所述鹽洗滌腿的頂部,而其余過熱 廢水則由位于所述第二循環水入口之上的第一循環水入口進入所述閃蒸罐內。
5.如權利要求4所述的方法,其中,5-15%體積的過熱廢水由所述第二循 環水入口進入所述閃蒸罐的底部和/或所述鹽洗滌腿的頂部,85-95%體積的過熱 廢水由所述第一循環水入口進入所述閃蒸罐內。
6.如權利要求4所述的方法,其中,在所述第一循環水入口和所述循環水 出口之間設置阻擋二者直接相對的再循環擋板。
7.如權利要求1所述的方法,其中,提取鹽分后所得到的廢水母液由設置 在所述循環管道上的母液排放通道排出,所述母液排放通道具有母液入口和母 液出口,所述母液入口位于所述母液出口的下方。
8.如權利要求1所述的方法,其中,所述鹽洗滌腿內的上部設置有沿所述 鹽洗滌腿的縱向延伸的引流件,結晶鹽粒沿所述引流件的外周壁和所述鹽洗滌 腿的內周壁所限定出的環形流體通道向下運動。
9.如權利要求1所述的方法,其中,廢水沿所述鹽洗滌腿內壁的切線方向 由所述中部入水口進入所述鹽洗滌腿內。
10.如權利要求1所述的方法,其中,所述循環水入口的入水方向朝下, 且位于所述閃蒸罐的縱向軸線上。
說明書
從高鹽有機廢水中選擇性提取鹽分的方法
技術領域
本發明涉及一種含鹽有機廢水的處理方法;更具體地講,本發明涉及一種 從高鹽有機廢水中選擇性提取鹽分的方法。
背景技術
在各種大型工業生產中,如石油煉化、煤化工、電力、精細化工、印染及 制藥等,會產生大量的含鹽有機廢水。由于我國是水資源極度匱乏的國家,通 常這些廢水會被要求回用,但這些廢水在被回用后,會產生少量的高鹽有機廢 水,廢水中主要含有各種無機鹽分和有機物等污染物。由于這些高鹽廢水中含 有上述污染物,一般不能直接排放,而需要將廢水繼續濃縮,實現廢水的零排 放或近零排放。目前,實現廢水零排放的常見工藝流程如下:
工業廢水→預處理及生化→超濾→反滲透(RO)→RO濃水膜濃縮系統→蒸 發→結晶。
在以上工藝中,經反滲透處理和膜濃縮系統處理后,廢水中總含鹽量(TDS) 的質量分數提高到5%-8%,廢水量大大減少。非常少量的廢水則進入蒸發器中進 一步蒸發,使廢水濃縮至其中TDS的質量分數達到21%以上。最后,經蒸發器蒸 發后的高鹽水送至結晶器中進行再蒸發,形成結晶鹽,實現廢水的零排放。
例如,中國專利201310205628.0公開了一種濃鹽水蒸發液體零排放的工藝 方法,該方法包括如下步驟:(1)經過預處理的濃鹽水通過泵直接輸送到蒸發 裝置處理;(2)使用熱源介質通過空氣預熱裝置對常溫空氣加熱至50-100℃, 得熱空氣;(3)步驟(2)所得熱空氣輸送到蒸發裝置內,經過蒸發裝置內部設 置的導流板與經步驟(1)輸送至蒸發裝置內的濃鹽水進行熱交換,通過風量控 制,使蒸發裝置內部的氣、水溫度控制在60℃以下;熱空氣的流動使導流板上 所開的孔周圍產生負壓并加快水分蒸發,排出飽和熱空氣;在蒸發裝置內部, 濃鹽水通過循環泵以70倍的循環量在導流板上循環流動,并不斷濃縮;當濃鹽 水濃縮至設定TDS值時,得到的60℃以下的臨界結晶狀態的高濃度鹽泥通過鹽 泥泵排出,進入固液分離裝置進行鹽水分離,分別得到固態結晶鹽和上清液; (4)步驟(3)處理后,得到的固態結晶鹽做填埋或進一步回用處理,得到的 上清液回流到蒸發裝置繼續處理。
對于高鹽有機廢水來說,雖然經過預處理和生化處理,但是其中仍然含有 一定量的有機物,利用以上工藝方法所得到是包括較多有機物的結晶鹽,只能 進行特殊的填滿或進一步回用處理。以某一中大型煤化工企業為例,一年產20 億立方米煤制天然氣的企業,每小時產生的固體廢棄物超過3噸,按每噸危險 固體廢棄物填埋需3000元計算,每年的填埋費用為7200萬元(按每年運行8000 小時計)。這對于企業來說,已不能承受如此巨額的填埋費用。
通過對廢水零排放產生的固體廢棄物進行成分分析,我們發現,其中無機 鹽占絕對多數,特別是NaCl和Na2SO4組份,一般這兩種鹽的含量超過90%。因 此,如果將NaCl和Na2SO4與其他物質進行分離,則可以減少90%以上的固體廢 棄物,大大降低固體廢棄物填埋的費用,同時得到NaCl、Na2SO4混合鹽作為鹽硝 聯產工業的原料,變廢為寶,產生一定的經濟效益。要實現這一點,需要滿足 以下要求:1、分離出來的NaCl、Na2SO4必須非常純凈,達到國家及行業的有關 標準;2、控制其他污染物的濃度,不能與NaCl、Na2SO4同時結晶,而同時又必 須保證廢水母液的排出量很小,即其他污染物的濃度足夠濃。
中國專利201210525944.1公開了一種酮連氮法生產水合肼的廢水處理及提 鹽的方法,其順次包括以下步驟:1)含鹽廢水的回收和儲存;2)廢水預熱升 溫;3)廢水蒸發結晶,水蒸氣經冷凝成為冷凝水后進入冷水儲存罐,冷凝水換 熱降溫后進入生化處理站,結晶母液與氧化劑反應后作為含鹽廢水回收和儲存; 4)鹽漿離心分離,離心母液返回蒸發結晶循環利用;5)濕鹽送飽和鹽水洗滌, 得到純凈鹽漿;6)純凈鹽漿離心分離,離心母液重新送至飽和鹽水洗滌循環利 用。
中國專利201010590105.9公開了一種含甘油的高鹽工業廢水的處理方法, 其包括:將含有甘油和高含量氯化鈉的工業廢水經蒸發過程除去水分,分別收 集蒸發水和固體氯化鈉,該固體氯化鈉用鹽酸溶液洗滌以脫除甘油,然后分離 含甘油的鹽酸溶液,得到純化的固體氯化鈉。
上述技術方案通過對結晶鹽進行洗滌的方法而提高結晶鹽的純度,其缺點 是需要首先將蒸發所得到的結晶鹽與廢水進行固液分離,之后才能對結晶鹽進 行洗滌,導致廢水處理及提鹽的效率低下。
發明內容
針對現有技術的不足,本發明的目的是提供一種從高鹽有機廢水中選擇性 提取鹽分的方法,該方法能夠在結晶鹽粒與廢水混合的狀態下對結晶鹽粒進行 洗滌。
為實現上述目的,本發明提供了一種從高鹽有機廢水中選擇性提取鹽分的 方法,包括:
①加熱待處理廢水,使其處于過熱狀態;
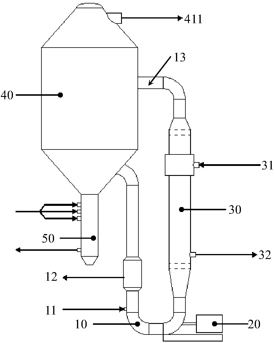
②使步驟①所得到的過熱廢水由循環水入口進入閃蒸罐內進行閃蒸;閃蒸 所得到的廢水由循環水出口進入循環管道并重復步驟①,而結晶鹽粒則進入鹽 洗滌腿;
③由鹽洗滌腿的上部入水口向下噴入待處理廢水,對結晶鹽粒進行清洗;
④由鹽洗滌腿的中部入水口噴入待處理廢水,使至少一部分被清洗后的結 晶鹽粒作離心運動并由鹽洗滌腿的排鹽口排出;
⑤分離由排鹽口排出的結晶鹽粒和廢水。
本發明中,高鹽有機廢水是指鈉鹽含量為其常溫下溶解度的50%以上、其他 污染物含量為其常溫下溶解度的5%以下的含鹽有機廢水。從提高效率、降低能 耗的角度考慮,本發明的方法優選用于處理鈉鹽含量為其常溫下溶解度的60% 以上的高鹽有機廢水,更優選用于處理鈉鹽含量為其常溫下溶解度的75%以上的 高鹽有機廢水。
本發明中,可以使用強制循環換熱器對廢水進行加熱,加熱得到的過熱廢 水經循環管道輸送至閃蒸罐中進行閃蒸,由于水分的蒸發,濃縮后的熱廢水中 NaCl和Na2SO4達到過飽和狀態,析出NaCl、Na2SO4晶粒。由于其密度要大于廢 水的密度,晶粒隨著熱廢水的流動和重力作用向下運動進入鹽洗滌腿內,在運 動過程中不斷相互碰撞、結合而“長大”。
由閃蒸罐進入的結晶鹽粒和熱廢水與由上部入水口噴入的待處理廢水在鹽 洗滌腿內充分混合。優選地,上部入水口位于鹽洗滌腿的縱向軸線上,形成圓 錐型水流噴入,使由閃蒸罐進入的結晶鹽粒和熱廢水與由上部入水口噴入的廢 水具有更為充分的混合效果。由于待處理廢水中NaCl、Na2SO4的含量較高,甚至 接近其飽和濃度,而其他污染物的濃度遠未達到飽和,因此NaCl、Na2SO4可基本 保持形成的晶粒,而達到飽和附著在晶粒表面的其他污染物可以重新溶解,也 就是說,由上部入水口噴入的廢水可以對初步形成的NaCl、Na2SO4晶粒起到洗滌 作用,從而得到純凈的NaCl、Na2SO4晶粒。因此,本發明的方法可以在結晶鹽粒 與廢水混合的狀態下對結晶鹽粒進行洗滌,廢水處理效率高。
本發明中,利用待處理的廢水對結晶鹽粒進行清洗,廢水處理成本低。此 外,用于清洗結晶鹽粒的廢水與結晶鹽粒分離后可以進入循環管道內以作提鹽 處理,因此本發明所得到的最終廢水量是非常少的。相反的,在現有技術中, 是引入待處理廢水以外的其他清洗液對結晶鹽粒進行清洗的,這不僅導致廢水 處理成本的增加,而且最終廢水量較多,因為這些含有污染物的清洗液也會成 為一種新的廢水。
本發明中,中部入水口可以是渦線形曲面入口、切線形入口、螺旋線形入 口、同心圓環形入口、漸開線形入口、弧線形入口或者阿基米德螺旋線形入口, 從而使由中部入水口噴入的廢水產生旋流帶動結晶鹽粒作離心運動。由于離心 作用,粒徑較大的結晶鹽粒運動到鹽洗滌腿的內壁,并作圓周運動到達排鹽口, 從而排出鹽洗滌腿,而較細的結晶鹽粒則繼續向鹽洗滌腿的底部運動。同時, 由中部入水口噴入的廢水也會對結晶鹽粒起到進一步的洗滌作用。
本發明中,可以利用設置在循環管道上的廢水入口向循環管道內補充廢水。 優選地,單位時間內循環管道中的廢水流量是補充入的廢水流量的至少100倍, 更優選地是至少150倍,因而對循環管道中廢水的組分影響較小。
根據本發明的一具體實施方式,本發明的方法還包括利用由鹽洗滌腿的底 部入水口噴入的待處理廢水使運動至鹽洗滌腿底部的結晶鹽粒向上運動。優選 地,底部入水口位于鹽洗滌腿的縱向軸線上,向下噴入廢水。
如上所述,未由排鹽口排出的較細結晶鹽粒向鹽洗滌腿的底部運動,而由 底部入水口噴入的廢水使結晶鹽粒向上運動,在向上運動的過程中,與向下運 動的結晶鹽粒碰撞、結合形成更大顆粒的結晶鹽粒,從而可從排鹽口排出,因 此,可以得到粒度較為均勻的結晶鹽粒。特別是當底部入水口向下噴入廢水時, 廢水首先推動較細的結晶鹽粒向下運動至鹽洗滌腿底部后再反向朝上運動,顯 著提升結晶鹽粒碰撞、結合的幾率,使結晶鹽粒更快地長大并從排鹽口排出。 同時,由底部入水口噴入的廢水同樣對結晶鹽粒具有清洗作用,更進一步降低 結晶鹽粒中有機物的含量。
根據本發明的另一具體實施方式,本發明的方法還包括首先對廢水進行濃 縮的步驟。濃縮后的大部分待提取鹽分的廢水輸送至循環管道,小部分待提取 鹽分的廢水則進入鹽洗滌腿內。例如,在廢水的鈉鹽含量不是足夠高的情況下, 利用上述方法雖然可以從廢水中提取鈉鹽,但是存在能耗和處理成本偏高的不 足。此時,可以利用降膜蒸發等鹽水蒸發器將廢水進一步濃縮。例如,將廢水 濃縮至鈉鹽含量為其常溫下溶解度的80%左右,即較為接近其常溫下的溶解度, 而其他污染物由于其在廢水中本身的濃度并不高,所以,其濃度相對還是非常 低的,遠低于其常溫下的溶解度。
根據本發明的另一具體實施方式,本發明方法的步驟②中,至少一部分過 熱廢水由第二循環水入口進入閃蒸罐的底部和/或鹽洗滌腿的頂部,而其余過熱 廢水則由位于第二循環水入口之上的第一循環水入口進入閃蒸罐內。
優選地,5-15%體積的過熱廢水由第二循環水入口進入閃蒸罐的底部和/或 鹽洗滌腿的頂部,85-95%體積的過熱廢水由第一循環水入口進入閃蒸罐內。
本發明中,第二循環水入口可以設置在閃蒸罐和鹽洗滌腿的交界處,也可 以設置在閃蒸罐的底部或者鹽洗滌腿的頂部。
本發明中,過熱廢水中的一部分進入閃蒸罐的底部和/或洗滌腿的頂部并在 此處釋放,形成的蒸汽透過熱廢水釋放至閃蒸罐的上部,蒸汽在上升的過程中, 形成氣泡,如“刷子”一樣對其上部熱廢水中形成的NaCl、Na2SO4晶粒進行擦洗, 使附著在NaCl、Na2SO4晶粒表面的有機物等其他污染物重新溶解于熱廢水中。擦 洗后的NaCl、Na2SO4晶粒則進入鹽洗滌腿內,并由上部入水口所噴入的廢水所洗 滌。當然,由第二循環水入口進入的廢水最好控制在恰當的范圍內,以更好地 起到擦洗晶粒的效果。
由上可見,本發明的方法中,結晶鹽粒在其長大的過程中多次得到清洗, 因此,即使結晶鹽粒內部的其他污染物也得到有效的清除。相反,在現有技術 中,結晶鹽粒是在與廢水分離之后才進行洗滌的,因此現有技術只能清洗結晶 鹽粒表面的其他污染物,而對包裹在其內部的其他污染物則無能為力。
根據本發明的另一具體實施方式,在第一循環水入口和循環水出口之間設 置阻擋二者直接相對的再循環擋板。再循環擋板引導結晶鹽粒向鹽洗滌腿運動, 減少向循環水出口運動的結晶鹽粒數量,以防止結晶鹽粒堵塞循環水出口和/或 循環管道,避免廢水循環時產生短路現象。
優選地,再循環擋板從循環水出口的上方遮蓋循環水出口且具有斜向下朝 鹽洗滌腿頂部傾斜的傾斜表面,使廢水從再循環擋板之下進入循環水出口,避 免結晶鹽粒隨廢水直接沉降到循環水出口處。
根據本發明的另一具體實施方式,提取鹽分后所得到的廢水母液由設置在 循環管道上的母液排放通道排出,母液排放通道具有母液入口和母液出口,母 液入口位于母液出口的下方。
閃蒸罐內的廢水進入循環管道時,或多或少地會夾帶部分結晶鹽粒進入到 循環管道內。本發明中將母液入口設置在母液出口的下方,由于結晶鹽粒的比 重大于廢水母液的比重,當排放廢水母液時,在重力作用下,結晶鹽粒向下運 動,而廢水母液則可從高點的母液出口排出,通過簡單的重力分離,可將結晶 鹽粒與廢水母液進行分離,有效防止結晶鹽粒隨母液排出。
根據本發明的另一具體實施方式,鹽洗滌腿內的上部設置有沿鹽洗滌腿的 縱向延伸的引流件,結晶鹽粒沿引流件的外周壁和鹽洗滌腿的內周壁所限定出 的環形流體通道向下運動。優選地,引流件由鹽洗滌腿的頂部延伸至與上部入 水口大致平齊的位置。環形流體通道的橫截面積為鹽洗滌腿內腔橫截面積的 1/8-7/8,優選為1/4-1/2。
本發明中,環形流體通道的橫截面積小于鹽洗滌腿內腔的橫截面積,因此, 與沒有設置引流件的情形相比,結晶鹽粒能夠由閃蒸罐更快地向鹽洗滌腿的下 部運動。此外,結晶鹽粒在環形流體通道內靠近鹽洗滌腿的內壁向下運動,可 以更快地由排鹽口排出,提高廢水的處理效率。
根據本發明的另一具體實施方式,廢水沿鹽洗滌腿內壁的切線方向由中部 入水口進入鹽洗滌腿內,通過簡單的切線形入口設計就可達到使鹽洗滌腿內的 結晶鹽粒與溶液混合物形成旋流的目的。
根據本發明的另一具體實施方式,循環水入口的入水方向朝下,且位于閃 蒸罐的縱向軸線上,使過熱廢水沿閃蒸罐的徑向均勻分布,充分利用閃蒸罐的 閃蒸面積,使閃蒸過程均勻穩定地進行而不發生劇烈的沸騰現象,降低磨蝕。
優選地,循環水入口在其入水方向上具有逐漸增大的橫截面積,使循環管 道內的過熱廢水經減速后進入閃蒸罐內,避免液沫夾帶和短路。
與現有技術相比,本發明的方法能夠在結晶鹽粒與廢水混合的狀態下對結 晶鹽粒進行多次洗滌,廢水處理效率高、成本低,所得到的結晶鹽粒純度高。
以下結合附圖和實施例對本發明作進一步的詳細說明。







