申請日2014.10.27
公開(公告)日2015.01.07
IPC分類號C02F11/00; C02F11/12; C02F11/10
摘要
本發明涉及一種太陽能高溫熱水解聯合閃蒸脫水污泥處理系統,包括加熱罐、常壓閃蒸罐、太陽能聚光集熱器、儲熱罐、輔助加熱器。加熱罐的內部設有表面式換熱器一,表面式換熱器一以導熱油為傳熱介質,太陽能聚光集熱器以導熱油為傳熱介質,儲熱罐的內部設有儲熱材料并以導熱油為傳熱介質,輔助加熱器以導熱油為傳熱介質。本發明公開的技術方案不僅實現了污泥高溫熱水解處理和污泥閃蒸脫水處理的工藝結合,而且有效利用太陽能聚光集熱器和輔助加熱器作為供熱裝置,并利用導熱油作為供熱裝置的傳熱介質,比現有的污泥高溫熱水解技術和污泥閃蒸脫水技術具有顯著的節能和環保優勢。
權利要求書
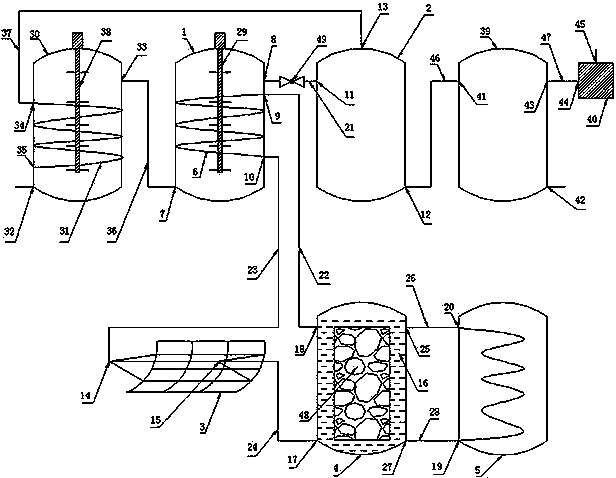
1. 太陽能高溫熱水解聯合閃蒸脫水污泥處理系統,包括加熱罐、常壓閃蒸罐、太陽能聚光集熱器、儲熱罐、輔助加熱器,其特征是:
所述的加熱罐為殼體,加熱罐的內部設有表面式換熱器一,加熱罐的罐壁上設有污泥入口一和污泥出口一;
所述的表面式換熱器一以導熱油為傳熱介質,表面式換熱器一在加熱罐的罐壁上設有導熱油入口一和導熱油出口一;
所述的常壓閃蒸罐為殼體,常壓閃蒸罐的罐壁上設有污泥入口二、污泥出口二和蒸汽出口一;
所述的太陽能聚光集熱器以導熱油為傳熱介質,太陽能聚光集熱器設有導熱油入口二和導熱油出口二;
所述的儲熱罐為殼體,儲熱罐的內部設有儲熱材料,儲熱罐以導熱油為傳熱介質,儲熱罐的罐壁上設有導熱油入口三和導熱油出口三;
所述的輔助加熱器以導熱油為傳熱介質,輔助加熱器設有導熱油入口四和導熱油出口四;
所述的污泥出口一通過污泥輸送管道一連接污泥入口二;
所述的導熱油入口一通過導熱油管道一連接導熱油出口三,導熱油出口一通過導熱油管道二連接導熱油入口二,導熱油出口二通過導熱油管道三連接導熱油入口三;
所述的導熱油出口四通過導熱油管道四連接導熱油管道一,或者,所述的儲熱罐的罐壁上還設有導熱油入口五,導熱油出口四通過導熱油管道五連接導熱油入口五;導熱油入口四通過導熱油管道六連接導熱油管道二,或者,所述的儲熱罐的罐壁上還設有導熱油出口五,導熱油入口四通過導熱油管道七連接導熱油出口五。
2.如權利要求1所述的 太陽能高溫熱水解聯合閃蒸脫水污泥處理系統,其特征是:所述的污泥入口一設于加熱罐的罐壁的底部或下部,所述的污泥出口一設于加熱罐的罐壁的中部或上部;所述的污泥入口二設于常壓閃蒸罐的罐壁的中部或上部,污泥出口二設于常壓閃蒸罐的罐壁的底部或下部,蒸汽出口一設于常壓閃蒸罐的罐壁的頂部或上部;所述的導熱油入口一設于加熱罐的罐壁的頂部或上部,導熱油出口一設于加熱罐的罐壁的底部或下部;所述的導熱油入口三設于儲熱罐的罐壁的底部或下部,導熱油出口三設于儲熱罐的罐壁的頂部或上部;所述的導熱油入口四設于輔助加熱器的底部或下部,導熱油出口四設于輔助加熱器的頂部或上部;所述的導熱油入口五設于儲熱罐的罐壁的頂部或上部,所述的導熱油出口五設于儲熱罐的罐壁的底部或下部。
3.如權利要求1所述的 太陽能高溫熱水解聯合閃蒸脫水污泥處理系統,其特征是:所述的加熱罐的內部還設有螺旋攪拌器一。
4.如權利要求1所述的太陽能高溫熱水解聯合閃蒸脫水污泥處理系統,其特征是:所述的輔助加熱器為導熱油鍋爐。
5.如權利要求1所述的太陽能高溫熱水解聯合閃蒸脫水污泥處理系統,其特征是:還包括預熱罐;
所述的預熱罐為殼體,預熱罐的內部設有表面式換熱器二,預熱罐的罐壁上設有污泥入口三和污泥出口三;
所述的表面式換熱器二以蒸汽為傳熱介質,表面式換熱器二在預熱罐的罐壁上設有蒸汽入口二和蒸汽出口二;
所述的污泥出口三通過污泥輸送管道二連接污泥入口一;
所述的蒸汽入口二通過蒸汽輸送管道連接蒸汽出口一。
6.如權利要求5所述的 太陽能高溫熱水解聯合閃蒸脫水污泥處理系統,其特征是:所述的預熱罐的內部還設有螺旋攪拌器二;所述的污泥入口三設于預熱罐的罐壁的底部或下部,所述的污泥出口三設于預熱罐的罐壁的中部或上部;所述的蒸汽入口二設于預熱罐的罐壁的頂部或上部,所述的蒸汽出口二設于預熱罐的罐壁的底部或下部。
7. 如權利要求1所述的太陽能高溫熱水解聯合閃蒸脫水污泥處理系統,其特征是:還包括真空閃蒸罐、抽真空裝置;
所述的真空閃蒸罐為殼體,真空閃蒸罐的罐壁的中部或上部設有污泥入口四,真空閃蒸罐的罐壁的底部或下部設有污泥出口四,真空閃蒸罐的罐壁的頂部或上部設有抽真空口;
所述的抽真空裝置設有抽氣口、排氣口;
所述的污泥入口四通過污泥輸送管道三連接污泥出口二;
所述的抽真空口通過真空管道連接抽氣口。
8.如權利要求1所述的太陽能高溫熱水解聯合閃蒸脫水污泥處理系統,其特征是:所述的太陽能聚光集熱器為拋物面槽式太陽能集熱器。
9.如權利要求1所述的太陽能高溫熱水解聯合閃蒸脫水污泥處理系統,其特征是:所述的儲熱罐的內部的儲熱材料包括導熱油或固體的無機物儲熱材料。
10.如權利要求1所述的太陽能高溫熱水解聯合閃蒸脫水污泥處理系統,其特征是:所述的污泥輸送管道一上還設有球閥。
說明書
太陽能高溫熱水解聯合閃蒸脫水污泥處理系統
技術領域
本發明涉及一種環保領域的污泥處理處置技術,尤其是一種太陽能高溫熱水解聯合閃蒸脫水污泥處理系統。
背景技術
污泥高溫熱水解處理技術和污泥閃蒸脫水處理技術是環保領域的新興技術。污泥經高溫熱水解處理后微生物細胞被破壞,污泥中的有機質被水解,病原菌被殺滅,污泥的脫水性和厭氧、好氧消化性得以提高。污泥閃蒸脫水處理技術利用了物質的沸點隨壓力增大而升高,壓力越低,沸點就越低的原理,讓高壓高溫污泥經過減壓,使其沸點降低,進行閃蒸蒸發,這時污泥的溫度高于該壓力下的沸點,污泥中的部分水分在閃蒸蒸發時迅速沸騰汽化,并進行兩相分離,從而實現污泥脫水。
在對污泥進行高溫熱水解處理的過程中能獲得高溫高壓且易于脫水的污泥,因此將污泥高溫熱水解處理技術與污泥閃蒸脫水處理技術相結合不僅能顯著提高污泥脫水的效果和效率,而且能顯著節省能源,是具有廣闊發展前景的節能環保新技術。
現有的污泥處理技術中,污泥高溫熱水解處理技術與污泥閃蒸脫水處理技術相結合的污泥處理技術已成為一個技術熱點,例如:發明人為靳志軍、謝非、周巍的中國專利201210044413.0公開了一種用于生物質固體廢棄物的熱水解處理工藝和設備技術;發明人為劉成林、崔靜的中國專利200920252082.3公開了一種污泥水解提取微生物蛋白質系統技術;發明人為唐激揚、劉傳斌、荀銳、勾宏圖、陳立剛的中國專利201110447876.7公開了一種污泥水熱干化處理裝置及其均質反應器技術;發明人為張曉輝的中國專利201110279705.8公開了一種基于水熱改性技術的污泥處理工藝技術;發明人為董濱、戴翎翎、段妮娜、戴曉虎的中國專利201110319442.9公開了一種高含固生物污泥連續熱水解裝置與方法技術;發明人為朱仁發、詹聞韶、費杰的中國專利201010247557.7公開了一種污泥管式熱水解處理方法及其裝置;發明人為王樹眾、錢黎黎、唐興穎、孫盼盼的中國專利申請201410133537.5公開了一種基于熱水解技術的污泥脫水系統及工藝技術;更早地,發明人為R·B·臧、M·R·卡恩的中國專利93103530.9公開了一種污水污泥的處理技術。
所有上述列舉的現有的污泥處理技術均包括了污泥高溫熱水解處理技術或污泥閃蒸脫水處理技術的內容,但這些現有技術所涉及的污泥高溫熱水解或閃蒸脫水技術,均未見涉及利用太陽能聚光集熱器以及輔助加熱器作為供熱設備并以導熱油作為傳熱介質進行污泥高溫熱水解及閃蒸脫水的聯合處理的內容,而現有的利用太陽能進行污泥處理的技術,主要集中在污泥干化和污泥堆肥的太陽能利用方面。
發明人認為,太陽能作為清潔環保的可再生新能源,是污泥高溫熱水解處理以及污泥閃蒸脫水處理的優質能源資源。利用太陽能進行污泥高溫熱水解和閃蒸脫水的聯合處理,比現有的污泥高溫熱水解或污泥閃蒸脫水處理技術具有顯著的節能和環保效果。
發明人正是基于以上思路公開了一種太陽能高溫熱水解聯合閃蒸脫水污泥處理系統的污泥處理處置創新技術。
發明內容
以下是本發明公開的技術方案。
1、太陽能高溫熱水解聯合閃蒸脫水污泥處理系統,包括加熱罐、常壓閃蒸罐、太陽能聚光集熱器、儲熱罐、輔助加熱器,其特征是:
所述的加熱罐為殼體,加熱罐的內部設有表面式換熱器一,加熱罐的罐壁上設有污泥入口一和污泥出口一;
所述的表面式換熱器一以導熱油為傳熱介質,表面式換熱器一在加熱罐的罐壁上設有導熱油入口一和導熱油出口一;
所述的常壓閃蒸罐為殼體,常壓閃蒸罐的罐壁上設有污泥入口二、污泥出口二和蒸汽出口一;
所述的太陽能聚光集熱器以導熱油為傳熱介質,太陽能聚光集熱器設有導熱油入口二和導熱油出口二;
所述的儲熱罐為殼體,儲熱罐的內部設有儲熱材料,儲熱罐以導熱油為傳熱介質,儲熱罐的罐壁上設有導熱油入口三和導熱油出口三;
所述的輔助加熱器以導熱油為傳熱介質,輔助加熱器設有導熱油入口四和導熱油出口四;
所述的污泥出口一通過污泥輸送管道一連接污泥入口二;
所述的導熱油入口一通過導熱油管道一連接導熱油出口三,導熱油出口一通過導熱油管道二連接導熱油入口二,導熱油出口二通過導熱油管道三連接導熱油入口三;
所述的導熱油出口四通過導熱油管道四連接導熱油管道一,或者,所述的儲熱罐的罐壁上還設有導熱油入口五,導熱油出口四通過導熱油管道五連接導熱油入口五;導熱油入口四通過導熱油管道六連接導熱油管道二,或者,所述的儲熱罐的罐壁上還設有導熱油出口五,導熱油入口四通過導熱油管道七連接導熱油出口五。
2、根據技術方案1所述的 太陽能高溫熱水解聯合閃蒸脫水污泥處理系統,一個優選的技術方案是:所述的污泥入口一設于加熱罐的罐壁的底部或下部,所述的污泥出口一設于加熱罐的罐壁的中部或上部;所述的污泥入口二設于常壓閃蒸罐的罐壁的中部或上部,污泥出口二設于常壓閃蒸罐的罐壁的底部或下部,蒸汽出口一設于常壓閃蒸罐的罐壁的頂部或上部;所述的導熱油入口一設于加熱罐的罐壁的頂部或上部,導熱油出口一設于加熱罐的罐壁的底部或下部;所述的導熱油入口三設于儲熱罐的罐壁的底部或下部,導熱油出口三設于儲熱罐的罐壁的頂部或上部;所述的導熱油入口四設于輔助加熱器的底部或下部,導熱油出口四設于輔助加熱器的頂部或上部;所述的導熱油入口五設于儲熱罐的罐壁的頂部或上部,所述的導熱油出口五設于儲熱罐的罐壁的底部或下部。
3、根據技術方案1所述的 太陽能高溫熱水解聯合閃蒸脫水污泥處理系統,一個優選的技術方案是:所述的加熱罐的內部還設有螺旋攪拌器一。
4、根據技術方案1所述的 太陽能高溫熱水解聯合閃蒸脫水污泥處理系統,一個優選的技術方案是:所述的輔助加熱器為導熱油鍋爐。
5、根據技術方案1所述的 太陽能高溫熱水解聯合閃蒸脫水污泥處理系統,一個優選的技術方案是:還包括預熱罐;
所述的預熱罐為殼體,預熱罐的內部設有表面式換熱器二,預熱罐的罐壁上設有污泥入口三和污泥出口三;
所述的表面式換熱器二以蒸汽為傳熱介質,表面式換熱器二在預熱罐的罐壁上設有蒸汽入口二和蒸汽出口二;
所述的污泥出口三通過污泥輸送管道二連接污泥入口一;
所述的蒸汽入口二通過蒸汽輸送管道連接蒸汽出口一。
6、根據技術方案5所述的 太陽能高溫熱水解聯合閃蒸脫水污泥處理系統,一個優選的技術方案是:所述的預熱罐的內部還設有螺旋攪拌器二;所述的污泥入口三設于預熱罐的罐壁的底部或下部,所述的污泥出口三設于預熱罐的罐壁的中部或上部;所述的蒸汽入口二設于預熱罐的罐壁的頂部或上部,所述的蒸汽出口二設于預熱罐的罐壁的底部或下部。
7、根據技術方案1所述的 太陽能高溫熱水解聯合閃蒸脫水污泥處理系統,一個優選的技術方案是:還包括真空閃蒸罐、抽真空裝置;
所述的真空閃蒸罐為殼體,真空閃蒸罐的罐壁的中部或上部設有污泥入口四,真空閃蒸罐的罐壁的底部或下部設有污泥出口四,真空閃蒸罐的罐壁的頂部或上部設有抽真空口;
所述的抽真空裝置設有抽氣口、排氣口;
所述的污泥入口四通過污泥輸送管道三連接污泥出口二;
所述的抽真空口通過真空管道連接抽氣口。
8、根據技術方案1所述的 太陽能高溫熱水解聯合閃蒸脫水污泥處理系統,一個優選的技術方案是:所述的太陽能聚光集熱器為拋物面槽式太陽能集熱器。
9、根據技術方案1所述的 太陽能高溫熱水解聯合閃蒸脫水污泥處理系統,一個優選的技術方案是:所述的儲熱罐的內部的儲熱材料包括導熱油或固體的無機物儲熱材料。
10、根據技術方案1所述的 太陽能高溫熱水解聯合閃蒸脫水污泥處理系統,一個優選的技術方案是:所述的污泥輸送管道一上還設有球閥。
本發明公開的技術方案不僅實現了污泥高溫熱水解處理和污泥閃蒸脫水處理的工藝結合,而且有效利用太陽能聚光集熱器和輔助加熱器作為供熱裝置,并利用導熱油作為供熱裝置的傳熱介質。本發明公開的技術方案能夠實現在陽光充足時完全利用太陽能聚光集熱器提供的熱能對污泥進行100℃—300℃的高溫熱水解和閃蒸脫水聯合處理,在陽光不足時能夠利用太陽能聚光集熱器和輔助加熱器同時進行供熱,在沒有陽光時能夠利用輔助加熱器進行獨立供熱。本發明公開的技術方案比現有的污泥高溫熱水解技術和污泥閃蒸脫水技術具有顯著的節能和環保優勢。
根據本發明的一個優選的技術方案,利用預熱罐對進入加熱罐前的污泥進行預熱處理,并且利用常壓閃蒸罐中排出的閃蒸蒸氣作為對預熱罐中的污泥進行換熱加熱的傳熱介質,能顯著提高能源利用的效率。
根據本發明的另一個優選的技術方案,利用真空閃蒸罐和抽真空裝置對在常壓閃蒸罐中進行閃蒸脫水后的污泥進一步地進行真空閃蒸脫水,能有效利用常壓閃蒸罐中進行閃蒸脫水后的污泥的顯熱,實現對污泥的二級閃蒸,能進一步提高能源利用效率以及污泥的脫水效果。







