申請日2014.11.06
公開(公告)日2015.03.04
IPC分類號C02F11/12
摘要
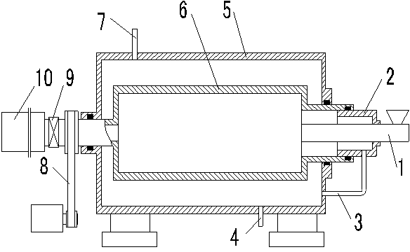
一種活性污泥脫水處理裝置,包括進料螺桿泵、外筒、內筒、內筒轉動機構和出料螺桿泵,內筒套裝在外筒中,內筒的進料端和出料端均伸出外筒,外筒和內筒之間的密閉空腔形成蒸汽夾套,進料螺桿泵通過套管與內筒的進料端連接,套管與螺桿泵的出口之間形成間隙,套管與蒸汽夾套之間連接有蒸汽回管,內筒的出料端與螺旋出料機連接,內筒與內筒轉動機構連接,內筒的出料端設置有出料閥,外筒的上部設有排空管,外筒的下部設有冷凝疏水管。該裝置能夠防止干燥過程中產生不凝性溫室氣體,同時合理控制干燥過程產生的水蒸汽,保證了蒸汽壓縮再循環過程的能效,加快了污泥干燥進程,提高了干燥效果。
權利要求書
1.一種活性污泥脫水處理裝置,包括進料螺桿泵、外筒、內筒、內筒轉動機構和出料螺桿泵,其特征是,內筒套裝在外筒中,內筒的進料端和出料端均伸出外筒,外筒和內筒之間的密閉空腔形成蒸汽夾套,進料螺桿泵通過套管與內筒的進料端連接,套管與螺桿泵的出口之間形成間隙,套管與蒸汽夾套之間連接有蒸汽回管,內筒的出料端與螺旋出料機連接,內筒與內筒轉動機構連接,內筒的出料端設置有出料閥,外筒的上部設有排空管,外筒的下部設有冷凝疏水管。
2.根據權利要求1所述的活性污泥脫水處理裝置,其特征是,所述內筒的進料端與外筒之間以及出料端與外筒之間均設置有密封裝置。
3.根據權利要求1所述的活性污泥脫水處理裝置,其特征是,所述內筒的進料端與套管之間設置有密封裝置。
4.根據權利要求1所述的活性污泥脫水處理裝置,其特征是,所述排空管上設有排空閥。
說明書
一種活性污泥脫水處理裝置
技術領域
本實用新型涉及一種用于對活性污泥脫水處理的裝置,屬于活性污泥處理技術領域。
背景技術
隨著生活廢水和工業廢水產生量的不斷增長,污水生化處理過程中帶來的活性污泥產 量也快速增長,因此污泥的最終處理受到了廣泛的關注,活性污泥是污水處理過程產生量 最大的一種污泥。
污泥處理過程中脫水是必不可少的過程,目前廣泛應用的是疊螺機,但是運行成本較 高。蒸汽機械再壓縮脫水是一種新方法,如CN103708702A公開的《一種蒸汽壓縮回收余熱 的節能污泥干燥裝置》,是利用了其它系統產生的廢蒸汽經過升壓后,加熱干空氣再用于回 轉窯污泥的干燥系統。CN103708697A公開的《機械蒸汽再壓縮熱泵MVR污泥干化系統》和 CN203212442U公開的《一種用于污泥干化的機械蒸汽再壓縮熱泵系統》則直接利用干燥過 程產生的水蒸氣,經壓縮機絕熱壓縮升溫后,直接用于系統的污泥干燥,可以達到污泥干 燥節能的目的。但蒸汽機械再壓縮脫水技術由于初始溫度對系統機械能消耗較大,使得尚 未大規模應用。
大部分污水處理過程的污泥含有大量的活性污泥,活性污泥在干燥升溫過程中,會迅速 地產生無氧狀態下的沼氣或有氧狀態下的二氧化碳,這些氣體均為不凝性溫室氣體,在蒸 汽機械壓縮系統的循環過程中,將嚴重影響蒸汽機械再壓縮系統的循環過程。
發明內容
本實用新型針對現有蒸汽機械壓縮干燥技術存在的不足,提供一種成本低、干燥效果 好的活性污泥脫水處理裝置。
本實用新型的活性污泥脫水處理裝置,采用以下技術方案:
該裝置,包括進料螺桿泵、外筒、內筒、內筒轉動機構和出料螺桿泵,內筒套裝在外 筒中,內筒的進料端和出料端均伸出外筒,外筒和內筒之間的密閉空腔形成蒸汽夾套,進 料螺桿泵通過套管與內筒的進料端連接,套管與螺桿泵的出口之間形成間隙,套管與蒸汽 夾套之間連接有蒸汽回管,內筒的出料端與螺旋出料機連接,內筒與內筒轉動機構連接, 內筒的出料端設置有出料閥,外筒的上部設有排空管,外筒的下部設有冷凝疏水管。
內筒的進料端與外筒之間以及出料端與外筒之間均設置有密封裝置,以防止外部空氣 進入蒸汽夾套。
內筒的進料端與套管之間設置有密封裝置,以防止外部空氣進入內筒。
排空管上設有排空閥。
本實用新型能夠防止干燥過程中產生不凝性溫室氣體,同時合理控制干燥過程產生的 水蒸汽,保證了蒸汽壓縮再循環過程的能效,加快了污泥干燥進程,提高了干燥效果。







