申請日2013.08.27
公開(公告)日2014.04.23
IPC分類號B01D46/00
摘要
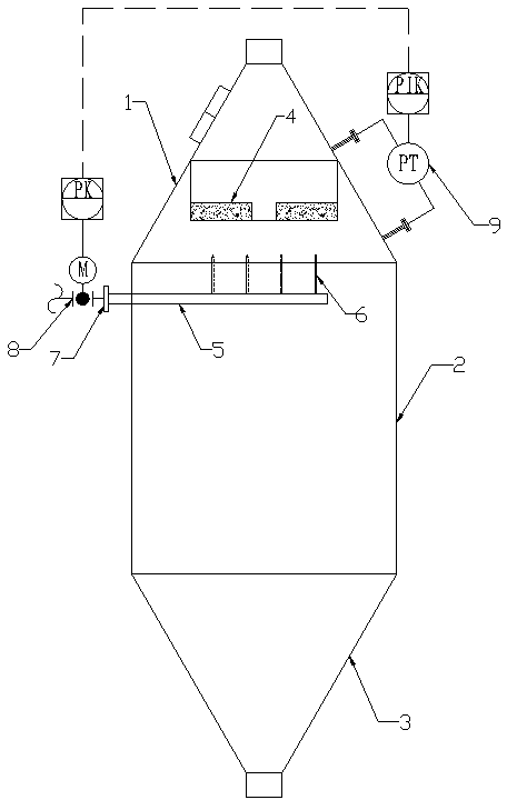
本實用新型公開了一種天然氣廢水處理分離器用氣液分離裝置,包括設置在分離器上錐段的絲網捕沫器,絲網捕沫器下方設置有沖洗水管,沖洗水管上設置有數個噴嘴,沖洗水管進水口設置電動開關閥,設置壓力變送器與電動開關閥連鎖,通過壓力變送器壓力變化控制沖洗水管進水口電動開關閥。本實用新型自動沖洗絲網捕沫器,確保捕沫器絲網清潔無堵塞,提高了氣液分離裝置的氣液分離效果,使分離器排出更加干凈的蒸汽,提高循環水的使用質量,減少外排氯離子量,降低對環境的污染。同時自動清洗降低了工人的清潔維修難度,提高了分離器的使用效率,經濟實用。
權利要求書
1.一種天然氣廢水處理分離器用氣液分離裝置,包括設置在蒸發罐上錐段的絲網捕沫器,其特征在于:絲網捕沫器下方設置有沖洗水管,沖洗水管上設置有數個噴嘴,沖洗水管進水口設置電動開關閥,設置壓力變送器與電動開關閥連鎖。
說明書
天然氣廢水處理分離器用氣液分離裝置
技術領域
本實用新型涉及一種氣液分離裝置。
背景技術
在化工廢水治理領域中常常用到分離技術來處理廢水,根據溶解度的不同而結晶分離得到需要的物質。天然氣開采過程中會產生大量廢水,這些廢水中含有高濃度的氯離子,可以采用分離技術回收利用天然氣廢水中的氯離子。化工系統常用的分離器其結構如圖1所示,包括上錐段1、直段2和下錐段3,待處理的廢水停留在直段和下錐段,蒸發出的蒸汽上升至上錐段1出口排出冷凝為循環水使用。但是在分離器中分離出的蒸汽都夾帶著含有氯離子的液沫,如果直接將其排出,增加了外排氯離子量,也影響了循環水的質量,污染環境。因此需要氣液分離裝置將蒸汽與液沫分離,凈化蒸汽,降低外排氯離子量。現有的氣液分離裝置在分離器上錐段設置一個絲網捕沫器,蒸發的蒸汽經過絲網捕沫器時液沫停留在絲網上從而將蒸汽與液沫分離,但是使用時間較長后,液沫很容易堵塞絲網捕沫器上的絲網,蒸汽排出時仍會帶出部分液沫,降低分離效果,需要人工將絲網捕沫器取出沖洗干凈后再裝入重新使用,不僅增加了工人的勞動時間和使用難度,也降低了分離器的使用效率,增加了工作成本。
實用新型內容
本實用新型的目的就在于針對現有技術的不足,提供一種經濟實用、能夠自動定時清洗的氣液分離裝置,降低使用成本,提高工作效率。
為了實現上述目的,本實用新型采用的技術方案是這樣的:一種天然氣廢水處理分離器用氣液分離裝置,包括設置在分離器上錐段的絲網捕沫器,絲網捕沫器下方設置有沖洗水管,沖洗水管上設置有數個噴嘴,沖洗水管進水口設置電動開關閥,設置壓力變送器與電動開關閥連鎖,電動開關閥控制沖洗水管進水口的開閉。
根據分離器尺寸和蒸汽流速來確定絲網捕沫器中絲網的孔隙率,使絲網捕沫器達到較好的捕沫效果。
與現有技術相比,本實用新型在絲網捕沫器下方設置有沖洗水管,并且其進水口設置有電動開關閥,由壓力變送器與電動開關閥連鎖,根據設定的壓差,電動開關閥自動打開沖洗水管進水口,噴嘴噴水自動沖洗絲網捕沫器,確保捕沫器絲網清潔無堵塞,提高了氣液分離裝置的氣液分離效果,使分離器排出更加干凈的蒸汽,提高循環水的使用質量,減少外排氯離子量,降低對環境的污染。同時自動清洗降低了工人的清潔維修難度,提高了分離器的使用效率,經濟實用。







