申請日2013.11.28
公開(公告)日2014.10.08
IPC分類號C02F9/04
摘要
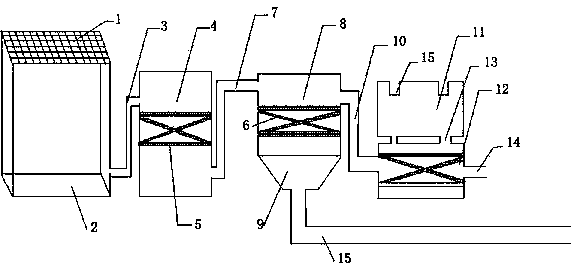
一種新型地埋式一體化污水處理設備,包括1格柵、4氧化池、8沉淀池、9污泥池、12消毒池、11風機房,4氧化池、8沉淀池、9污泥池、12消毒池內部設置有抗壓裝置,抗壓裝置由兩個5環形抗壓圈以上及兩個以上6條狀抗壓臂組成,5環形抗壓圈設置在4氧化池、8沉淀池、9污泥池、12消毒池的內側壁上,5環形抗壓圈之間通過6條狀抗壓臂加以固定,6條狀抗壓臂之間呈交叉型,其交匯點通過16固定裝置加以固定,本實用新型的有益效果是,通過在氧化池、沉淀池、污泥池、消毒池的內側壁上設置抗壓裝置顯著提高其抗壓效果,顯著的減少了氧化池、沉淀池、污泥池、消毒池在壓力較大的情況下而出現的變形、毀損情況的發生,從而延長其使用壽命并且增加了其處理效率,效率較高,適宜較大范圍推廣使用。
權利要求書
1.一種新型地埋式一體化污水處理設備,包括格柵、氧化池、沉淀池、污泥池、消毒池、風機房,其特征在于所述的氧化池、沉淀池、污泥池、消毒池內部設置有抗壓裝置。
2.根據權利要求1所述的一種新型地埋式一體化污水處理設備,其特征在于抗壓裝置由環形抗壓圈及條狀抗壓臂組成,條狀抗壓臂之間設有固定裝置,環形抗壓圈之間通過條狀抗壓臂加以固定。
3.根據權利要求1所述的一種新型地埋式一體化污水處理設備,其特征在于環形抗壓圈固定在氧化池、沉淀池、污泥池、消毒池的內側壁上。
4.根據權利要求1所述的一種新型地埋式一體化污水處理設備,其特征在于抗壓裝置為鋼材料。
說明書
一種新型地埋式一體化污水處理設備
技術領域
本實用新型涉及一種污水處理設備,尤其涉及一種能顯著增強抗壓能力的一種新型地埋式一體化污水處理設備。
背景技術
目前環境污染是全社會所面臨的共同問題,因環境污染所帶來的問題已給全社會帶來了多方面損失,水是人類畢不可少的物質,污水是造成水污染的主要污染源,現有污水處理設備大多采用埋于地下的方式,其主要意圖即為了方便、美觀實用,但是由于設備常年埋于地下,無時無刻不面臨來自地面的壓力如外部施工、重型貨車的碾壓等等,同時土地本身也會給設備帶來較大的壓力,因此因壓力較大導致的設備變形、毀損等問題層出不窮,因此迫切需要對設備本身進行加固,增強其抗壓能力,并且由于前述技術均為傳統技術,因此效率低下沒有發揮技術本身的功效。
發明內容
為解決上述問題本實用新型提供一種新型污水處理設備,其通過在設備內部設置抗壓裝置實現增加抗壓能力的效果,并且由于其采用了抗壓裝置,因此較傳統設備而言,本實用新型使用效率高,使用壽命長,處理效率高。
為實現上述目的,本實用新型提供一種新型地埋式一體化污水處理設備,包括1格柵、4氧化池、8沉淀池、9污泥池、12消毒池、11風機房,所述的4氧化池、8沉淀池、9污泥池、12消毒池內部設置有抗壓裝置。
進一步,所述的抗壓裝置由5環形抗壓圈及6條狀抗壓臂組成,6條狀抗壓臂之間設有16固定裝置,5環形抗壓圈之間通過6條狀抗壓臂加以固定。
進一步,所述的5環形抗壓圈固定在4氧化池、8沉淀池、9污泥池、12消毒池的內側壁上。
進一步,所述的5環形抗壓圈數量至少為兩個,根據所承受壓強的多少確定5環形抗壓圈的數量。
進一步,所述的抗壓裝置為鋼材料。
本實用新型的有益效果是,通過在氧化池、沉淀池、污泥池、消毒池的內側壁上設置抗壓裝置顯著提高其抗壓效果,顯著的減少了氧化池、沉淀池、污泥池、消毒池在壓力較大的情況下而出現的變形、毀損情況的發生,從而延長其使用壽命并且增加了其處理效率,效率較高,適宜較大范圍推廣使用。







