公布日:2023.10.13
申請日:2023.07.03
分類號:B01D36/02(2006.01)I
摘要
本申請涉及污水處理領域,特別是一種可固液分離的污水處理裝置,包括底座、支撐桿、支撐板、第一過濾箱、第二過濾箱以及升降機構;第一過濾箱套設于第二過濾箱上方,升降機構的升降方向與第一過濾箱上下滑動方向一致;第一過濾箱內部設有第一過濾桶,第二過濾箱內部設有第二過濾桶,第二過濾箱底部還設有儲液腔;通過控制升降機構上下往復運動可使第一過濾箱形成抖動,以抖散第一過濾箱內的固料,讓夾雜在固料之間的污水以及可過濾固料分離并從第一過濾箱底部流入到第二過濾箱;通過升降機構不斷下降,通過第一過濾箱的底部對第二過濾箱內部形成擠壓,適合第二過濾箱內主要為偏柔性的固料主體,從而擠壓出第二過濾箱內更多的污水。

權利要求書
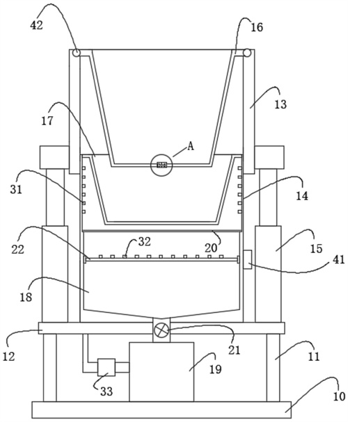
1.一種可固液分離的污水處理裝置,其特征在于,包括底座、支撐桿、支撐板、第一過濾箱、第二過濾箱以及升降機構;所述第一過濾箱上下滑動套設于所述第二過濾箱上方;所述第一過濾箱的外部兩側設有支撐塊,所述支撐板通過所述支撐桿設于所述底座上方,所述第二過濾箱設于所述支撐板上,所述升降機構的升降端與所述支撐塊連接,所述升降機構的升降方向與所述第一過濾箱上下滑動方向一致;所述第一過濾箱內部設有開口朝上的第一過濾桶,所述第二過濾箱內部對應所述第一過濾桶底部設有第二過濾桶,所述第二過濾箱在所述第二過濾桶的底部還設有儲液腔。
2.根據權利要求1所述的可固液分離的污水處理裝置,其特征在于,所述升降機構包括兩個升降氣缸,兩個所述升降氣缸分別設于所述支撐板的兩側,每一所述升降氣缸的伸縮端分別與一所述支撐塊連接。
3.根據權利要求1所述的可固液分離的污水處理裝置,其特征在于,所述儲液腔底部連通所述支撐板在所述底座上設有第三過濾箱,所述第三過濾箱與所述儲液腔通過過濾管道連接,所述過濾管道上設有閥門。
4.根據權利要求1所述的可固液分離的污水處理裝置,其特征在于,所述儲液腔頂部設有過濾網。
5.根據權利要求1所述的可固液分離的污水處理裝置,其特征在于,所述第二過濾箱在位于所述儲液腔上方的側壁上從上至下依次設有若干個第一噴頭,所述儲液腔內設有一橫桿,所述橫桿上從左至右依次設有若干個第二噴頭;所述第二過濾箱的側壁內部和所述橫桿內部預埋設有與所述第一噴頭、所述第二噴頭相互貫通的水路;所述第三過濾箱外部還連通設有一水泵,所述水泵通過水管與所述水路連通。
6.根據權利要求5所述的可固液分離的污水處理裝置,其特征在于,所述第二過濾桶外部設有驅動電機,所述第二過濾桶內壁對稱設有兩軸承,所述橫桿轉動設于兩所述軸承上,所述橫桿的其中一端延伸至所述第二過濾桶外部與所述驅動電機的動力輸出端連接。
7.根據權利要求1所述的可固液分離的污水處理裝置,其特征在于,所述第一過濾桶包括兩鏡像設置的過濾半桶,每一所述過濾半桶的頂部設有轉軸,所述轉軸與所述第一過濾箱的頂部轉動連接,所述第一過濾箱的外部設有轉動電機;所述轉動電機的動力輸出端與所述轉軸連接。
8.根據權利要求7所述的可固液分離的污水處理裝置,其特征在于,所述第二過濾箱的一側對應所述第二過濾桶設有密封門,所述第二過濾桶水平滑動設于所述第二過濾箱內。
9.根據權利要求7所述的可固液分離的污水處理裝置,其特征在于,所述過濾半桶的底部邊沿設有開口朝向另一過濾半桶的“T”型槽,所述第一過濾箱外部設有伸縮電機,所述第一過濾箱側壁對應所述“T”型槽貫穿滑動設有“工”字型擦塊,所述伸縮電機的動力輸出端與所述“工”字型擦塊連接。
發明內容
鑒于所述問題,提出了本申請以便提供克服所述問題或者至少部分地解決所述問題的一種可固液分離的污水處理裝置,包括:
一種可固液分離的污水處理裝置,包括底座、支撐桿、支撐板、第一過濾箱、第二過濾箱以及升降機構;所述第一過濾箱上下滑動套設于所述第二過濾箱上方;所述第一過濾箱的外部兩側設有支撐塊,所述支撐板通過所述支撐桿設于所述底座上方,所述第二過濾箱設于所述支撐板上,所述升降機構的升降端與所述支撐塊連接,所述升降機構的升降方向與所述第一過濾箱上下滑動方向一致;所述第一過濾箱內部設有開口朝上的第一過濾桶,所述第二過濾箱內部對應所述第一過濾桶底部設有第二過濾桶,所述第二過濾箱在所述第二過濾桶的底部還設有儲液腔。
優選的,所述升降機構包括兩個升降氣缸,兩個所述升降氣缸分別設于所述支撐板的兩側,每一所述升降氣缸的伸縮端分別與一所述支撐塊連接。
優選的,所述儲液腔底部連通所述支撐板在所述底座上設有第三過濾箱,所述第三過濾箱與所述儲液腔通過過濾管道連接,所述過濾管道上設有閥門。
優選的,所述儲液腔頂部設有過濾網。
優選的,所述第二過濾箱在位于所述儲液腔上方的側壁上從上至下依次設有若干個第一噴頭,所述儲液腔內設有一橫桿,所述橫桿上從左至右依次設有若干個第二噴頭;所述第二過濾箱的側壁內部和所述橫桿內部預埋設有與所述第一噴頭、所述第二噴頭相互貫通的水路;所述第三過濾箱外部還連通設有一水泵,所述水泵通過水管與所述水路連通。
優選的,所述第二過濾桶外部設有驅動電機,所述第二過濾桶內壁對稱設有兩軸承,所述橫桿轉動設于兩所述軸承上,所述橫桿的其中一端延伸至所述第二過濾桶外部與所述驅動電機的動力輸出端連接。
優選的,所述第一過濾桶包括兩鏡像設置的過濾半桶,每一所述過濾半桶的頂部設有轉軸,所述轉軸與所述第一過濾箱的頂部轉動連接,所述第一過濾箱的外部設有轉動電機;所述轉動電機的動力輸出端與所述轉軸連接。
優選的,所述第二過濾箱的一側對應所述第二過濾桶設有密封門,所述第二過濾桶水平滑動設于所述第二過濾箱內。
優選的,所述過濾半桶的底部邊沿設有開口朝向另一過濾半桶的“T”型槽,所述第一過濾箱外部設有伸縮電機,所述第一過濾箱側壁對應所述“T”型槽貫穿滑動設有“工”字型擦塊,所述伸縮電機的動力輸出端與所述“工”字型擦塊連接。
本申請具有以下優點:
在本申請的實施例中,通過可固液分離的污水處理裝置,包括底座、支撐桿、支撐板、第一過濾箱、第二過濾箱以及升降機構;所述第一過濾箱上下滑動套設于所述第二過濾箱上方;所述第一過濾箱的外部兩側設有支撐塊,所述支撐板通過所述支撐桿設于所述底座上方,所述第二過濾箱設于所述支撐板上,所述升降機構的升降端與所述支撐塊連接,所述升降機構的升降方向與所述第一過濾箱上下滑動方向一致;所述第一過濾箱內部設有開口朝上的第一過濾桶,所述第二過濾箱內部對應所述第一過濾桶底部設有第二過濾桶,所述第二過濾箱在所述第二過濾桶的底部還設有儲液腔;通過控制升降機構上下往復運動可使第一過濾箱形成抖動,以抖散第一過濾箱內的固料,讓夾雜在固料之間的污水以及可過濾固料分離并從第一過濾箱底部流入到第二過濾箱;通過升降機構不斷下降,通過第一過濾箱的底部對第二過濾箱內部形成擠壓,適合第二過濾箱內主要為偏柔性的固料主體,從而擠壓出第二過濾箱內更多的污水。
(發明人:解志強)






