公布日:2023.04.21
申請日:2023.03.13
分類號:C02F1/00(2023.01)I
摘要
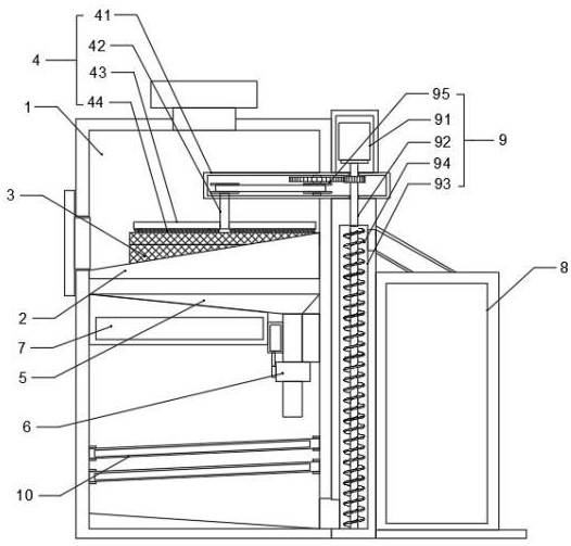
本發明公開了一種組合式污水處理濾清設備,包括過濾箱和處理機構,所述處理機構包括:支撐板、過濾網、導流框、輸送組件、藥劑箱、凈化箱和提升組件所述過濾箱內側安裝有支撐板和過濾網,方便對污水進行初步過濾,通過清理組件可將過濾網表面的雜質移動到支撐板表面,避免過濾網堵塞,通過輸送組件可使藥劑在污水流動的過程中與污水進行混合,并通過提升組件流入凈化箱中,進行污水凈化操作;操作便捷,能夠有效提高污水處理的工作效率和工作效果。

權利要求書
1.一種組合式污水處理濾清設備,包括過濾箱和處理機構,其特征在于,所述處理機構包括:支撐板,所述支撐板固定安裝在所述過濾箱內側,所述支撐板的剖面形狀為直角三角形,所述支撐板上安裝有過濾網,所述過濾網的形狀為圓筒狀,并與所述支撐板固定連接,所述過濾網上表面設有清理組件;所述支撐板底側設有導流框,所述導流框內側安裝有輸送組件,所述輸送組件側面設有藥劑箱,用于在對污水輸送過程中使污水與藥劑混合均勻;所述過濾網側面設有凈化箱,所述凈化箱和過濾箱之間安裝有提升組件,用于將過濾后與藥劑混合的污水輸送到凈化箱內側,所述提升組件與所述清理組件連接,用于在提升組件進行工作時,驅動所述清理組件對過濾網上表面進行清理。
2.根據權利要求1所述的組合式污水處理濾清設備,其特征在于,所述清理組件包括:固定框,固定安裝在所述過濾箱上,并為水平狀,所述固定框位于過濾箱內側一端底側固定安裝有固定桿,所述固定桿與所述固定框轉動連接,所述固定桿底端外側固定安裝有清理板,所述清理板底側固定安裝有清潔刷。
3.根據權利要求2所述的組合式污水處理濾清設備,其特征在于,所述輸送組件包括:第一輸送筒,固定安裝在所述導流框底端,并與導流框連通,所述第一輸送筒底端安裝有混合框,所述混合框底端安裝有第二輸送筒,所述混合框與藥劑箱之間安裝有控制閥和連接管,用于將藥劑輸送到混合箱內側;所述第一輸送筒、混合框和第二輸送筒之間安裝有旋轉組件,用于在污水通過時在第一輸送筒、混合框和第二輸送筒內側進行旋轉,并對污水和藥劑進行混合。
4.根據權利要求3所述的組合式污水處理濾清設備,其特征在于,所述旋轉組件包括:固定架,固定安裝在所述第一輸送筒內側,所述固定架中部安裝有長桿,所述長桿位于固定架內側一端外壁固上安裝有旋轉葉,用于在污水通過時在固定架內側帶動長桿進行旋轉,所述長桿位于混合框內側一段外壁上安裝有攪拌葉,用于對污水和藥劑進混合;所述長桿位于第二輸送筒內側一端外壁上安裝有第一螺旋葉,用于旋轉使污水與藥劑進一步的混合,并可在污水通過時使長桿進行旋轉。
5.根據權利要求1所述的組合式污水處理濾清設備,其特征在于,所述提升組件包括:驅動件,固定安裝在所述固定框伸出過濾箱一端頂側,所述驅動件輸出端安裝還有驅動桿,所述過濾箱外壁固定安裝有豎直狀的連接筒,所述驅動桿伸入連接筒內側,所述驅動桿位于連接筒內側一端外壁固定安裝有第二螺旋葉;所述驅動桿和固定框上的固定桿之間安裝有連接組件,用于在驅動桿進行旋轉時,使固定桿在固定框上進行旋轉。
6.根據權利要求5所述的組合式污水處理濾清設備,其特征在于,所述連接組件包括:驅動齒,固定安裝在所述驅動桿外側,并位于固定框內側,所述固定框內側安裝有定位桿,所述定位桿兩端與所述固定框內壁轉動連接,所述定位桿為豎直狀,所述定位桿一端安裝有連接齒,所述連接齒與所述驅動齒嚙合連接,所述定位桿另一端安裝有第一帶輪,所述固定桿伸入固定框一端安裝有第二帶輪,所述第一帶輪和第二帶輪之間安裝有皮帶。
7.根據權利要求1所述的組合式污水處理濾清設備,其特征在于,所述輸送組件底側設有篩網,用于對與藥劑混合后的污水進行過濾,所述篩網固定安裝在過濾網內壁上,并為傾斜狀。
發明內容
本發明的目的在于提供一種組合式污水處理濾清設備,以解決上述背景技術中提出的問題。
為實現上述目的,本發明提供如下技術方案:一種組合式污水處理濾清設備,包括過濾箱和處理機構,所述處理機構包括:支撐板,所述支撐板固定安裝在所述過濾箱內側,所述支撐板的剖面形狀為直角三角形,所述支撐板上安裝有過濾網,所述過濾網的形狀為圓筒狀,并與所述支撐板固定連接,所述過濾網上表面設有清理組件;所述支撐板底側設有導流框,所述導流框內側安裝有輸送組件,所述輸送組件側面設有藥劑箱,用于在對污水輸送過程中使污水與藥劑混合均勻;所述過濾網側面設有凈化箱,所述凈化箱和過濾箱之間安裝有提升組件,用于將過濾后與藥劑混合的污水輸送到凈化箱內側,所述提升組件與所述清理組件連接,用于在提升組件進行工作時,驅動所述清理組件對過濾網上表面進行清理。
作為本發明進一步的技術方案:所述清理組件包括:固定框,固定安裝在所述過濾箱上,并為水平狀,所述固定框位于過濾箱內側一端底側固定安裝有固定桿,所述固定桿與所述固定框轉動連接,所述固定桿底端外側固定安裝有清理板,所述清理板底側固定安裝有清潔刷。
作為本發明進一步的技術方案:所述輸送組件包括:第一輸送筒,固定安裝在所述導流框底端,并與導流框連通,所述第一輸送筒底端安裝有混合框,所述混合框底端安裝有第二輸送筒,所述混合框與藥劑箱之間安裝有控制閥和連接管,用于將藥劑輸送到混合箱內側;所述第一輸送筒、混合框和第二輸送筒之間安裝有旋轉組件,用于在污水通過時在第一輸送筒、混合框和第二輸送筒內側進行旋轉,并對污水和藥劑進行混合。
作為本發明進一步的技術方案:所述旋轉組件包括:固定架,固定安裝在所述第一輸送筒內側,所述固定架中部安裝有長桿,所述長桿位于固定架內側一端外壁固上安裝有旋轉葉,用于在污水通過時在固定架內側帶動長桿進行旋轉,所述長桿位于混合框內側一段外壁上安裝有攪拌葉,用于對污水和藥劑進混合;所述長桿位于第二輸送筒內側一端外壁上安裝有第一螺旋葉,用于旋轉使污水與藥劑進一步的混合,并可在污水通過時使長桿進行旋轉。
作為本發明進一步的技術方案:所述提升組件包括:驅動件,固定安裝在所述固定框伸出過濾箱一端頂側,所述驅動件輸出端安裝還有驅動桿,所述過濾箱外壁固定安裝有豎直狀的連接筒,所述驅動桿伸入連接筒內側,所述驅動桿位于連接筒內側一端外壁固定安裝有第二螺旋葉;所述驅動桿和固定框上的固定桿之間安裝有連接組件,用于在驅動桿進行旋轉時,使固定桿在固定框上進行旋轉。
作為本發明進一步的技術方案:所述連接組件包括:驅動齒,固定安裝在所述驅動桿外側,并位于固定框內側,所述固定框內側安裝有定位桿,所述定位桿兩端與所述固定框內壁轉動連接,所述定位桿為豎直狀,所述定位桿一端安裝有連接齒,所述連接齒與所述驅動齒嚙合連接,所述定位桿另一端安裝有第一帶輪,所述固定桿伸入固定框一端安裝有第二帶輪,所述第一帶輪和第二帶輪之間安裝有皮帶。
作為本發明進一步的技術方案:所述輸送組件底側設有篩網,用于對與藥劑混合后的污水進行過濾,所述篩網固定安裝在過濾網內壁上,并為傾斜狀。
相較于現有技術,本發明的有益效果如下:本發明提供的一種組合式污水處理濾清設備,所述過濾箱內側安裝有支撐板和過濾網,方便對污水進行初步過濾,通過清理組件可將過濾網表面的雜質移動到支撐板表面,避免過濾網堵塞,通過輸送組件可使藥劑在污水流動的過程中與污水進行混合,并通過提升組件流入凈化箱中,進行污水凈化操作;操作便捷,能夠有效提高污水處理的工作效率和工作效果。
(發明人:王緒寅;計為龍;何起利;施猛猛;謝俊宇;陳璐;陳萍)






