公布日:2023.11.10
申請日:2023.09.08
分類號:B01D33/03(2006.01)I;B01D33/76(2006.01)I;B01D33/74(2006.01)I
摘要
本發明公開了一種工業污水處理用除雜設備,屬于污水處理設備領域,包括處理箱,處理箱的頂部固定連接有進料管,還包括:分離機構,分離機構包括滑動安裝在處理箱內的固定框,固定框內固定安裝有過濾網,固定框的一側轉動連接有轉動板,固定框的底部一側固定連接有推板,轉動板與推板之間固定安裝有兩組第二氣囊,處理箱的內壁上固定連接有儲料框,儲料框的一側固定連接有固定板,推板的一側固定連接有滑桿;可以實現避免雜質堆積影響到污水過濾的情況,可使得對污水與雜質更好的分離,并避免出現堆積的雜質中會殘留大量水分的情況,而且在分離過程中不會阻斷工作的進程,并避免造成二次污染和環境風險的情況。

權利要求書
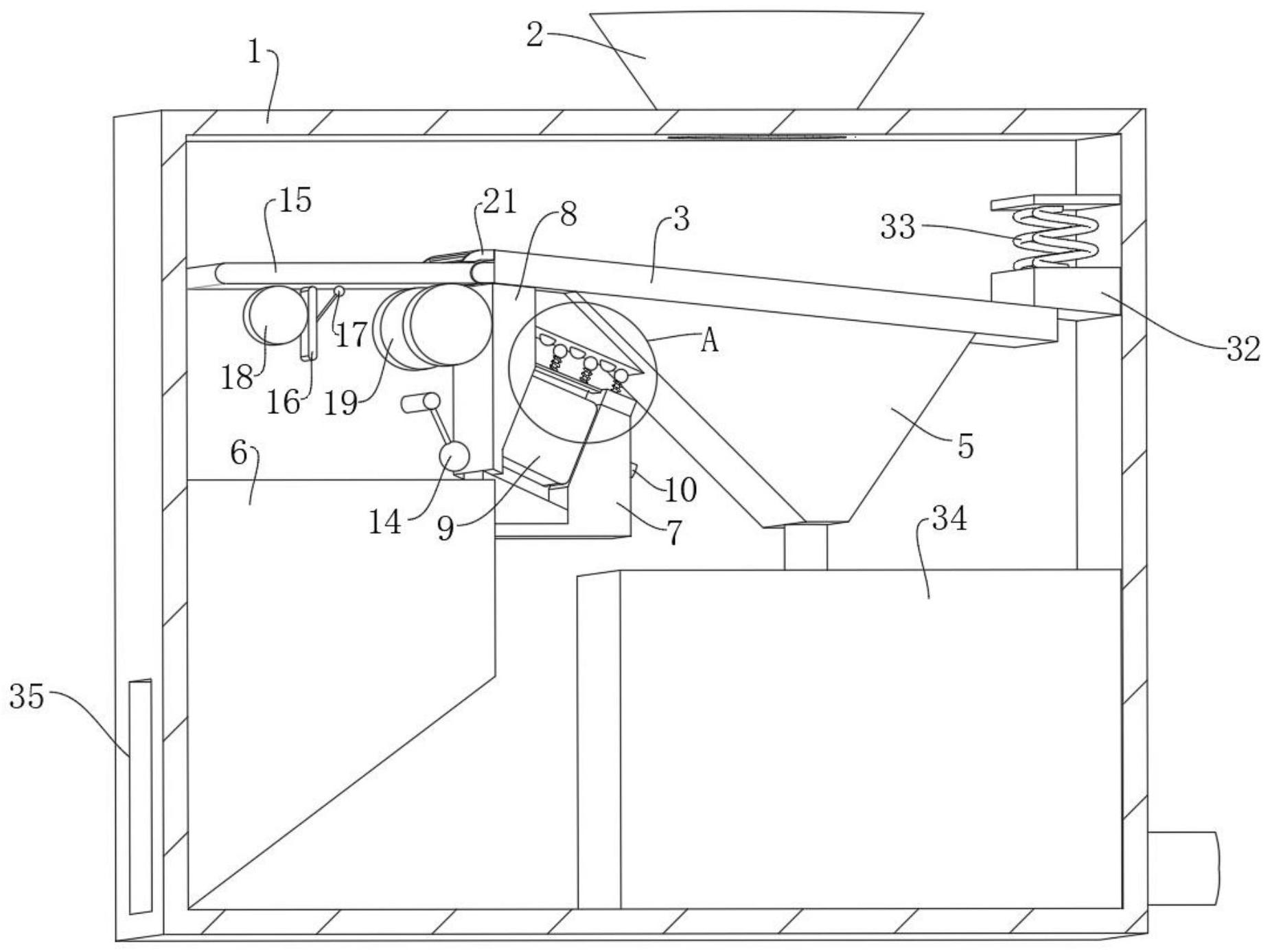
1.一種工業污水處理用除雜設備,包括處理箱(1),所述處理箱(1)的頂部固定連接有進料管(2),其特征在于:還包括:分離機構,所述分離機構包括滑動安裝在所述處理箱(1)內的固定框(3),所述固定框(3)內固定安裝有過濾網(4),所述固定框(3)的一側轉動連接有轉動板(15),所述固定框(3)的底部一側固定連接有推板(8),所述轉動板(15)與所述推板(8)之間固定安裝有兩組第二氣囊(19),所述處理箱(1)的內壁上固定連接有儲料框(6),所述儲料框(6)的一側固定連接有固定板(7),所述推板(8)的一側固定連接有滑桿(10),所述滑桿(10)與所述固定板(7)滑動連接,所述滑桿(10)的外側設置有第一氣囊(9),所述第一氣囊(9)固定安裝在所述推板(8)與所述固定板(7)之間;供氣機構,所述供氣機構包括開設在所述固定板(7)內的固定腔(11),所述固定腔(11)內安裝有彈性膜(12),所述第一氣囊(9)的輸出端與所述彈性膜(12)的進氣端相連通,所述彈性膜(12)的出氣端與所述固定腔(11)相連通,所述處理箱(1)的后壁上固定安裝有步進電機(13),所述步進電機(13)的輸出軸上固定連接有抵桿(14)。
2.根據權利要求1所述的一種工業污水處理用除雜設備,其特征在于:所述固定框(3)的底部固定連接有漏斗(5),所述漏斗(5)與所述推板(8)之間固定連接有斜板(27),所述斜板(27)的底部斜面上均勻固定連接有弧形塊(28),所述固定板(7)靠近所述第一氣囊(9)的一側壁上固定連接有安裝板(26),所述安裝板(26)上均勻滑動連接有撞擊球(29),各組所述撞擊球(29)與所述安裝板(26)之間均固定安裝有第一彈簧(30),各組所述撞擊球(29)均與所述斜板(27)相接觸。
3.根據權利要求2所述的一種工業污水處理用除雜設備,其特征在于:所述固定框(3)和所述推板(8)內開設有儲氣腔(20),所述固定框(3)靠近所述轉動板(15)的一側固定連接有弧形板(21),所述弧形板(21)位于所述轉動板(15)的上方,所述弧形板(21)與所述固定框(3)內開設有吹氣槽(22),所述吹氣槽(22)的一端靠近所述轉動板(15)的一端與外界相連通,所述吹氣槽(22)的另一端與所述儲氣腔(20)相連通,兩組所述第二氣囊(19)的出氣端均固定安裝有供氣管(23),兩組所述供氣管(23)的另一端均貫穿所述推板(8)與所述儲氣腔(20)相連通。
4.根據權利要求3所述的一種工業污水處理用除雜設備,其特征在于:所述轉動板(15)的底部一側轉動連接有豎板(16),所述豎板(16)靠近所述第二氣囊(19)的一側固定連接有撞擊桿(17),所述撞擊桿(17)與所述轉動板(15)的底部相接觸,所述豎板(16)的另一側與所述轉動板(15)之間固定安裝有第三氣囊(18)。
5.根據權利要求4所述的一種工業污水處理用除雜設備,其特征在于:所述第三氣囊(18)的出氣端固定連接有進氣管(31),所述進氣管(31)的另一端貫穿所述轉動板(15)和所述推板(8)與所述儲氣腔(20)相連通。
6.根據權利要求3所述的一種工業污水處理用除雜設備,其特征在于:所述儲氣腔(20)內滑動安裝有密封板(24),所述密封板(24)的底部與所述儲氣腔(20)的內腔底壁之間固定安裝有第二彈簧(25)。
7.根據權利要求4所述的一種工業污水處理用除雜設備,其特征在于:各組所述第一彈簧(30)與所述第三氣囊(18)均為壓縮狀態。
8.根據權利要求1所述的一種工業污水處理用除雜設備,其特征在于:所述固定框(3)遠離所述轉動板(15)的頂部一側處相接觸有擋板(32),所述擋板(32)與所述處理箱(1)的內壁滑動連接,所述擋板(32)的頂部與所述處理箱(1)的內壁上之間固定安裝有第三彈簧(33)。
9.根據權利要求1所述的一種工業污水處理用除雜設備,其特征在于:所述轉動板(15)的正下方設置有儲料框(6),所述儲料框(6)與所述處理箱(1)的內壁固定連接,所述處理箱(1)靠近所述儲料框(6)的一側壁上開設有開口(35)。
10.根據權利要求2所述的一種工業污水處理用除雜設備,其特征在于:所述處理箱(1)的內腔底壁一側固定連接有儲水框(34),所述儲水框(34)位于所述漏斗(5)的正下方。
發明內容
針對現有技術中存在的問題,本發明的目的在于提供一種工業污水處理用除雜設備,可以實現避免雜質堆積影響到污水過濾的情況,可使得對污水與雜質更好的分離,并避免出現堆積的雜質中會殘留大量水分的情況,而且在分離過程中不會阻斷工作的進程,并避免造成二次污染和環境風險的情況。
為解決上述問題,本發明采用如下的技術方案。
一種工業污水處理用除雜設備,其設備占地面積約2平方米,其中長為2米,寬為1米,高為2米,包括處理箱,處理箱的頂部固定連接有進料管,
還包括:
分離機構,分離機構包括滑動安裝在處理箱內的固定框,固定框內固定安裝有過濾網,固定框的一側轉動連接有轉動板,固定框的底部一側固定連接有推板,轉動板與推板之間固定安裝有兩組第二氣囊,處理箱的內壁上固定連接有儲料框,儲料框的一側固定連接有固定板,推板的一側固定連接有滑桿,滑桿與固定板滑動連接,滑桿的外側設置有第一氣囊,第一氣囊固定安裝在推板與固定板之間;
供氣機構,供氣機構包括開設在固定板內的固定腔,固定腔內安裝有彈性膜,第一氣囊的輸出端與彈性膜的進氣端相連通,彈性膜的出氣端與固定腔相連通,處理箱的后壁上固定安裝有步進電機,步進電機的輸出軸上固定連接有抵桿。
進一步地,固定框的底部固定連接有漏斗,漏斗與推板之間固定連接有斜板,斜板的底部斜面上均勻固定連接有弧形塊,固定板靠近第一氣囊的一側壁上固定連接有安裝板,安裝板上均勻滑動連接有撞擊球,各組撞擊球與安裝板之間均固定安裝有第一彈簧,各組撞擊球均與斜板相接觸。
進一步地,固定框和推板內開設有儲氣腔,固定框靠近轉動板的一側固定連接有弧形板,弧形板位于轉動板的上方,弧形板與固定框內開設有吹氣槽,吹氣槽的一端靠近轉動板的一端與外界相連通,吹氣槽的另一端與儲氣腔相連通,兩組第二氣囊的出氣端均固定安裝有供氣管,兩組供氣管的另一端均貫穿推板與儲氣腔相連通。
進一步地,轉動板的底部一側轉動連接有豎板,豎板靠近第二氣囊的一側固定連接有撞擊桿,撞擊桿與轉動板的底部相接觸,豎板的另一側與轉動板之間固定安裝有第三氣囊。
進一步地,第三氣囊的出氣端固定連接有進氣管,進氣管的另一端貫穿轉動板和推板與儲氣腔相連通。
進一步地,儲氣腔內滑動安裝有密封板,密封板的底部與儲氣腔的內腔底壁之間固定安裝有第二彈簧。
進一步地,各組第一彈簧與第三氣囊均為壓縮狀態。
進一步地,固定框遠離轉動板的頂部一側處相接觸有擋板,擋板與處理箱的內壁滑動連接,擋板的頂部與處理箱的內壁上之間固定安裝有第三彈簧。
進一步地,轉動板的正下方設置有儲料框,儲料框與處理箱的內壁固定連接,處理箱靠近儲料框的一側壁上開設有開口。
進一步地,處理箱的內腔底壁一側固定連接有儲水框,儲水框位于漏斗的正下方。
相比于現有技術,本發明的有益效果在于:
(1)本方案通過抵桿推動推板在第一氣囊的配合下,固定框帶動過濾網往復運動,然后將過濾網上過濾后的雜質向左顛簸推動至轉動板上,可實現將污水與雜質快速分離,可有效的避免雜質堆積導致影響到污水過濾效果的情況,而且在分離過程中不會阻斷工作的進程。
(2)本方案通過抵桿推動推板往復擠壓第一氣囊,可實現增大彈性膜內的壓強,起到增大壓強的作用,可有效的提高彈性膜的吹氣速度并延長彈性膜的吹氣時間,可有效的避免雜質落入固定板與滑桿之間的情況,起到減小摩擦的作用,可有效的提高滑桿的滑動效果。
(3)本方案通過抵桿推動推板帶動斜板往復運動,可實現增加撞擊球撞擊斜板的撞擊頻率,從而可提高斜板的震動頻率,可實現對固定框和過濾網產生震動,將過濾雜質中的水分震落,提高污水與雜質的分離效果,可避免出現污水的殘留導致造成二次污染和環境風險的情況。
(4)本方案在堆積雜質的壓持下可實現壓動轉動板向下偏轉,轉動板上的雜質會滑落至儲料框內來實現自動排料,轉動板偏轉時擠壓第二氣囊向儲氣腔內進行吹氣,通過吹氣槽對轉動板的頂部進行吹氣,可將轉動板頂部殘留的雜質吹落,可有效的提高清理效果,避免出現雜質殘留的情況。
(5)本方案通過抵桿推動豎板在第三氣囊的配合下,使得撞擊桿撞擊轉動板的底部,可使得將轉動板頂部殘留的雜質震散并與轉動板的頂部脫離,便于雜質滑落,并在吹氣槽吹氣的夾持下,可有效的提高對轉動板頂部雜質的清除效果,從而可有效的提高清除效率。
(6)本方案通過第三氣囊和第二氣囊的配合對儲氣腔內進行供氣,可實現增大儲氣腔內的壓強,可實現儲氣腔內的氣體推動密封板向下運動并擠壓第二彈簧,此時可實現提高吹氣槽的吹氣速度的同時并延長了吹氣槽的吹氣時間,可有效的提高吹氣槽的吹氣效率。
(發明人:王進;江雷;付聳;朱明月;陳曦;萬思媛)






