公布日:2022.06.24
申請日:2022.03.31
分類號:C02F9/10(2006.01)I
摘要
本發明涉及工業廢水技術領域,尤其涉及一種帶除垢機構的高濃度工業廢水蒸發干燥裝置,解決了現有技術中由于母液成分復雜,在干燥過程中非常容易發生結垢、結焦、結晶并附著于蒸發器傳熱面,造成干燥設備的處理能力下降甚至發生故障停機的問題。一種帶除垢機構的高濃度工業廢水蒸發干燥裝置,包括進料機構、蒸發干燥機構、氣相凈化機構和冷凝機構,蒸發干燥機構包含有殼體、端板、加熱夾套、驅動減速設備和自控模塊,殼體的內部豎直設置有一端通過軸套貫穿端板的主軸。本發明具有除垢功能,可有效對干燥過程中的結垢、結焦、結晶進行清理,保證干燥設備的高效處理能力,同時保證干燥設備的正常運行。

權利要求書
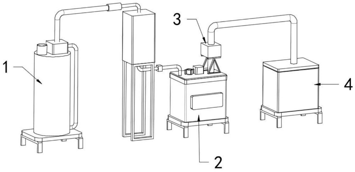
1.一種帶除垢機構的高濃度工業廢水蒸發干燥裝置,其特征在于,包括:進料機構(1)、蒸發干燥機構(2)、氣相凈化機構(3)和冷凝機構(4);所述蒸發干燥機構(2)包含有殼體(201)、端板(203)、加熱夾套(204)、驅動減速設備(205)和自控模塊(206),殼體(201)的內部豎直設置有一端通過軸套貫穿端板(203)的主軸(5),所述主軸(5)的一端與驅動減速設備(205)的輸出軸傳動連接,所述自控模塊(206)的輸出端與進料機構(1)、蒸發干燥機構(2)、氣相凈化機構(3)和冷凝機構(4)的輸入端電連接,所述主軸(5)的外圈設置有除垢機構(6);所述除垢機構(6)包含有若干個沿主軸(5)的圓周方向環形陣列的刮刀(602)以及若干個固定連接在主軸(5)外圈的支架(604),每個所述刮刀(602)的一側均通過鉸鏈(601)轉動連接有與支架(604)端部連接的彈性件(603),所述殼體(201)的內部為圓形,且刮刀(602)的一側與殼體(201)的內部貼合。
2.根據權利要求1所述的一種帶除垢機構的高濃度工業廢水蒸發干燥裝置,其特征在于,所述進料機構(1)的輸出端與殼體(201)的內部連通,所述氣相凈化機構(3)的輸入端與殼體(201)的內部連通,所述冷凝機構(4)的輸入端與氣相凈化機構(3)的輸出端連通。
3.根據權利要求1所述的一種帶除垢機構的高濃度工業廢水蒸發干燥裝置,其特征在于,所述端板(203)通過密封件(202)與殼體(201)的端部連接,所述加熱夾套(204)的輸入端與殼體(201)的內部連通。
4.根據權利要求1所述的一種帶除垢機構的高濃度工業廢水蒸發干燥裝置,其特征在于,所述進料機構(1)包含有儲料罐(101)、水泵(102)、進料流量計(103)、稱重模塊(104)和管體(105)。
5.根據權利要求4所述的一種帶除垢機構的高濃度工業廢水蒸發干燥裝置,其特征在于,水泵(102)螺栓固定連接在儲料罐(101)的頂部一側,稱重模塊(104)設置在儲料罐(101)的一側,進料流量計(103)設置在儲料罐(101)和稱重模塊(104)之間頂部位置,稱重模塊(104)的一側底部設置有自動開關閥(106),稱重模塊(104)的底部固定連接有支撐架。
6.根據權利要求5所述的一種帶除垢機構的高濃度工業廢水蒸發干燥裝置,其特征在于,水泵(102)的輸入端通過管體(105)與儲料罐(101)的一側底部連通,水泵(102)的輸出端通過管體(105)與進料流量計(103)的輸入端連通,進料流量計(103)的輸出端通過管體(105)與稱重模塊(104)的輸入端連通,稱重模塊(104)的輸出端通過管體(105)與自動開關閥(106)的輸入端連通,自動開關閥(106)的輸出端通過管體(105)與殼體(201)的內部連通。
7.根據權利要求1所述的一種帶除垢機構的高濃度工業廢水蒸發干燥裝置,其特征在于,氣相凈化機構(3)包含有蒸汽凈化器(301),所述蒸汽凈化器(301)包含有除沫分離器和安裝于除沫分離器內部的折流除沫器。
8.根據權利要求1所述的一種帶除垢機構的高濃度工業廢水蒸發干燥裝置,其特征在于,冷凝機構(4)包含有冷凝部(401),冷凝部(401)包含有冷凝器、凝水泵、真空泵、凝水罐和工作液冷卻板。
發明內容
本發明的目的是提供一種帶除垢機構的高濃度工業廢水蒸發干燥裝置,解決了現有技術中由于母液成分復雜,在干燥過程中非常容易發生結垢、結焦、結晶并附著于蒸發器傳熱面,造成干燥設備的處理能力下降甚至發生故障停機的問題。
為了實現上述目的,本發明采用了如下技術方案:
一種帶除垢機構的高濃度工業廢水蒸發干燥裝置,包括進料機構、蒸發干燥機構、氣相凈化機構和冷凝機構;
所述蒸發干燥機構包含有殼體、端板、加熱夾套、驅動減速設備和自控模塊,殼體的內部豎直設置有一端通過軸套貫穿端板的主軸,所述主軸的一端與驅動減速設備的輸出軸傳動連接,所述自控模塊的輸出端與進料機構、蒸發干燥機構、氣相凈化機構和冷凝機構的輸入端電連接,所述主軸的外圈設置有除垢機構;
所述除垢機構包含有若干個沿主軸的圓周方向環形陣列的刮刀以及若干個固定連接在主軸外圈的支架,每個所述刮刀的一側均通過鉸鏈轉動連接有與支架端部連接的彈性件,所述殼體的內部為圓形,且刮刀的一側與殼體的內部貼合。
優選的,所述進料機構的輸出端與殼體的內部連通,所述氣相凈化機構的輸入端與殼體的內部連通,所述冷凝機構的輸入端與氣相凈化機構的輸出端連通。
優選的,所述端板通過密封件與殼體的端部連接,所述加熱夾套的輸入端與殼體的內部連通。
優選的,所述進料機構包含有儲料罐、水泵、進料流量計、稱重模塊和管體。
優選的,水泵螺栓固定連接在儲料罐的頂部一側,稱重模塊設置在儲料罐的一側,進料流量計設置在儲料罐和稱重模塊之間頂部位置,稱重模塊的一側底部設置有自動開關閥,稱重模塊的底部固定連接有支撐架。
優選的,水泵的輸入端通過管體與儲料罐的一側底部連通,水泵的輸出端通過管體與進料流量計的輸入端連通,進料流量計的輸出端通過管體與稱重模塊的輸入端連通,稱重模塊的輸出端通過管體與自動開關閥的輸入端連通,自動開關閥的輸出端通過管體與殼體的內部連通
優選的,氣相凈化機構包含有蒸汽凈化器,所述蒸汽凈化器包含有除沫分離器和安裝于除沫分離器內部的折流除沫器。
優選的,冷凝機構包含有冷凝部,冷凝部包含有冷凝器、凝水泵、真空泵、凝水罐和工作液冷卻板。
本發明至少具備以下有益效果:
具有除垢功能,可有效對干燥過程中的結垢、結焦、結晶進行清理,保證干燥設備的高效處理能力,同時保證干燥設備的正常運行。
(發明人:馬恩祿;倪治國;葛偉杰;馬昌明;張愛華)






