申請日2013.09.17
公開(公告)日2014.04.02
IPC分類號C02F11/02; C02F11/00
摘要
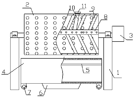
本實用新型公開了一種蚯蚓處理城市污泥的回收裝置,包括支架、表面設置若干個篩孔的轉筒、振動泵和連接管、所述轉筒的兩端分別固定在所述支架上,電機固定在所述支架上且與所述轉筒的其中一端固定連接,其中所述轉筒的下方設置收集框,所述收集框的底部固定所述振動泵且所述收集框內固定一層篩網;其中所述轉筒固定支撐軸,所述支撐軸的表面設置若干個通孔,所述連接管的一端與所述支撐軸固定連接且另一端穿過所述轉筒與封蓋通過螺紋旋緊固定連接。本實用新型的有益效果:設計合理,制作簡單,能夠將城市污泥轉化為的蚯蚓糞中的蚯蚓回收再利用,節約成本,避免造成浪費。
權利要求書
1.一種蚯蚓處理城市污泥的回收裝置,其特征在于:包括支架(1)、表面設置若干個篩孔的轉筒(2)、振動泵(6)和連接管(10),所述轉筒(2)的兩端分別固定在所述支架(1)上,電機(3)固定在所述支架(1)上且與所述轉筒(2)的其中一端固定連接,其中所述轉筒(2)的下方設置收集框(4),所述收集框(4)的底部固定所述振動泵(6)且所述收集框(4)內固定一層篩網(5);其中所述轉筒(2)固定支撐軸(8),所述支撐軸(8)的表面設置若干個通孔,所述連接管(10)的一端與所述支撐軸(8)固定連接且另一端穿過所述轉筒(2)與封蓋(11)通過螺紋旋緊固定連接。
2.根據權利要求1所述的一種蚯蚓處理城市污泥的回收裝置,其特征在于:所述收集框(4)的底部固定設置滾輪(7)。
3.根據權利要求1所述的一種蚯蚓處理城市污泥的回收裝置,其特征在于:其中沿所述支撐軸(8)的外圓周面固定設置若干個加強筋(9),每個所述加強筋(9)的一端固定在所述支撐軸(8)上一端與所述轉筒(2)的內側固定連接。
說明書
一種蚯蚓處理城市污泥的回收裝置
技術領域
本實用新型涉及一種蚯蚓處理城市污泥的回收裝置。
背景技術
隨著現代化的急劇發展城市污泥的產量也急劇增加。大多都是通過焚燒和填埋城市污泥,但由于污泥中含有重金屬物質影響了土壤質量。目前可以通過蚯蚓可以富集污泥中的重金屬,在微生物的協同作用下,蚯蚓利用自身豐富的酶系統將有機廢棄物迅速分解、轉化成蚯蚓糞。蚯蚓糞是一種均一且有自然泥土味的細碎類物質,具有很好的通氣性、排水性和高持水量,并具有良好的吸收和保持營養物質的能力能夠優化土壤結構,增加土壤的有機質,促進作物發育。
目前城市污泥通過蚯蚓轉化為蚯蚓糞成為有機肥,但由于蚯蚓糞內還參雜很多蚯蚓,如果不回收利用的話就會造成浪費,增加城市污泥的處理成本。
實用新型內容
本實用新型提供一種蚯蚓處理城市污泥的回收裝置,設計合理,制作簡單,能夠將城市污泥轉化為的蚯蚓糞中的蚯蚓回收再利用,節約成本,避免造成浪費。
本實用新型是通過以下技術方案實現的:一種蚯蚓處理城市污泥的回收裝置,包括支架、表面設置若干個篩孔的轉筒、振動泵和連接管、所述轉筒的兩端分別固定在所述支架上,電機固定在所述支架上且與所述轉筒的其中一端固定連接,其中所述轉筒的下方設置收集框,所述收集框的底部固定所述振動泵且所述收集框內固定一層篩網;其中所述轉筒固定支撐軸,所述支撐軸的表面設置若干個通孔,所述連接管的一端與所述支撐軸固定連接且另一端穿過所述轉筒與封蓋通過螺紋旋緊固定連接。
作為本實用新型的進一步改進在于:所述收集框的底部固定設置滾輪,通過設置滾輪便于移動和運輸。
作為本實用新型的進一步改進在于:其中沿所述支撐軸的外圓周面固定設置若干個加強筋,每個所述加強筋的一端固定在所述支撐軸上一端與所述轉筒的內側固定連接。
本實用新型操作時:通過電機帶動轉筒轉動將轉筒內的蚯蚓糞通過篩孔直接掉落到收集框內,回收的蚯蚓就在轉筒內,由于掉入收集框內的蚯蚓糞可能還會參雜一些蚯蚓就利用振動泵工作,通過篩網進行再一次的回收,保證將蚯蚓糞內的蚯蚓能夠全部回收;等全部回收結束后打開封蓋通過連接管向支撐軸內進行送水,通過支撐軸表面的通孔進行灑水對轉筒進行清洗。
本實用新型的有益效果:設計合理,制作簡單,能夠將城市污泥轉化為的蚯蚓糞中的蚯蚓回收再利用,節約成本,避免造成浪費。







