申請日2013.09.17
公開(公告)日2014.03.19
IPC分類號C02F3/34; C02F3/02
摘要
本實用新型公開了一種水處理微生物菌種活化及小試應用雙功能自動化設備,通過簡單的浮球開關選擇、排水管道的選擇,來方便切換設備的功能選擇;集合了活化菌種和小試應用兩個功能,即能方便的輸入溫度、時間參數,調整曝氣量,來專業化的精準控制不同菌種的活化,又能方便的輸入溫度、時間參數,調整曝氣量,調整排水液位來專業化的模擬現場水處理系統,形成了一個微生物菌種現場使用的整體的技術解決方案,本實用新型的設備能自動化運行、設備穩固、帶滑輪搬運方便。
權利要求書
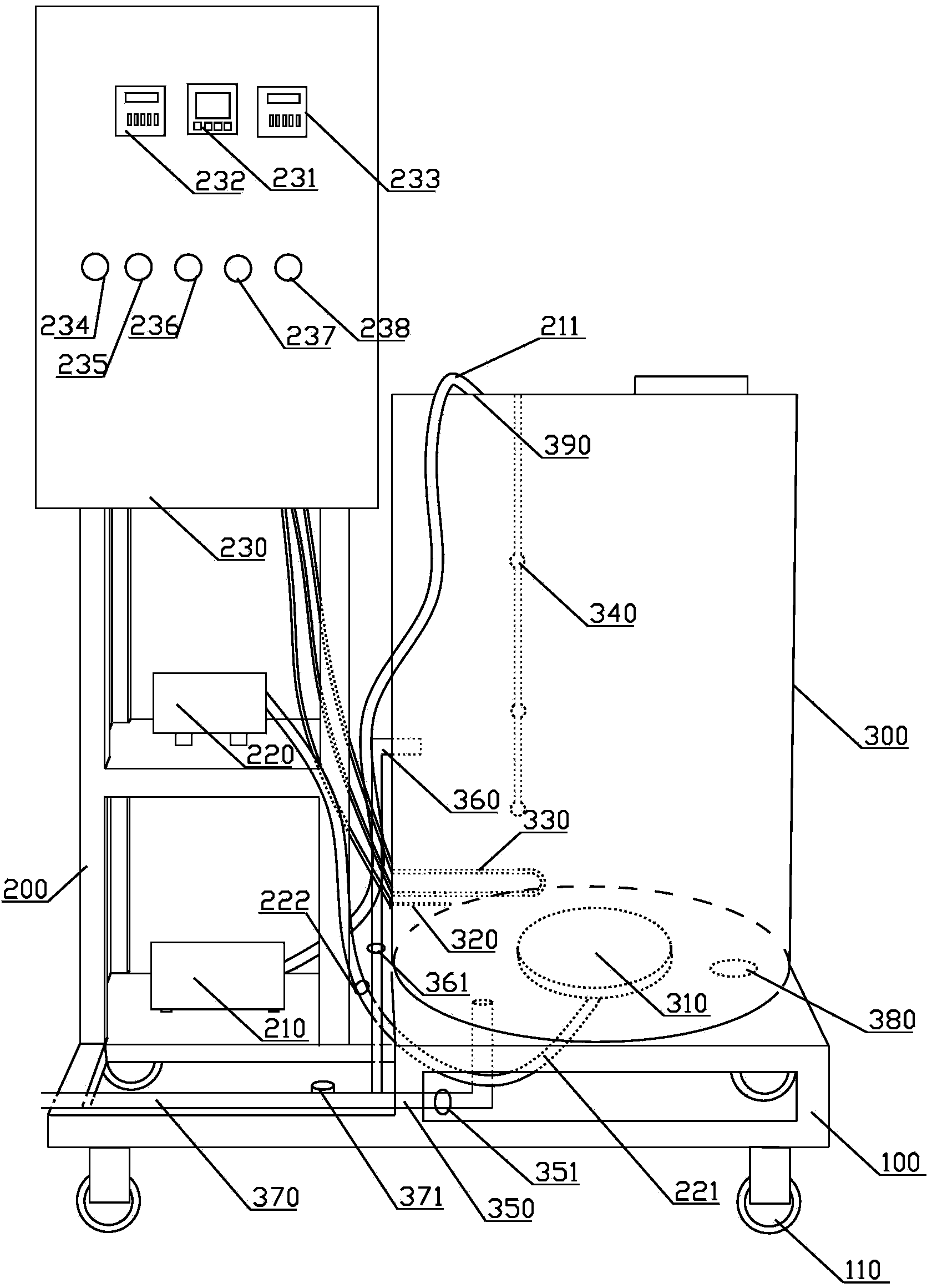
1.一種水處理微生物菌種活化及小試應用雙功能自動化設備,包括下 部安裝有滑輪的底座及安裝在底座上部的支架,底座上還安裝有桶狀容器, 其特征在于:
桶狀容器內從下向上依次安裝曝氣盤、溫度感應器、加熱棒和三浮球 液位計;桶狀容器上設有兩條出水支路,一條由桶底接出,一條由桶壁中 部接出,兩條支路上分別安裝一個球閥,兩條支路匯合成總出水管路,總 出水管路上安裝電磁閥;桶狀容器底部安裝有一液體放空閥;
支架上從下向上依次安裝有進水泵、氣泵和電控箱,進水泵出水口通 過管道連接至桶狀容器上部設置的進水口,氣泵出氣口通過出氣管道穿過 桶狀容器底部連接至曝氣盤,出氣管道上設置有氣體放空閥;電控箱內裝 有一溫度控制器,兩個時間控制器,自動手動模式選擇開關、自動模式啟 動開關、進水泵、氣泵和加熱器的手動運行開關;
進水泵、電磁閥分別與三浮球液位計聯動;溫度控制器連接加熱棒并 與溫度感應器聯動。
說明書
一種水處理微生物菌種活化及小試應用雙功能自動化設備
技術領域
本實用新型屬于環保水處理設備,具體涉及一種水處理微生物菌種活 化及小試應用雙功能自動化設備。
背景技術
社會的快速發展,導致環境污染的加劇,特別水污染更嚴重,而人民 生活水平的提高,又訴求更良好的生存環境,兩者的矛盾日益突出。
上游產品生產線的延長、產品的多元化,導致污水廠來水水質越來越 復雜,而水體污染物排放標準卻在不斷提高,所以必需加強現有水處理設 施的利用效率。向現場生化池投加具有針對性的微生物菌種是目前有效的 技術手段之一。但工業廢水的復雜性、不可重復性,往往導致菌種直接使 用效果不佳,且不同污水廠之間的使用效果不盡相同。
目前國外已有一些微生物菌種產品的配套活化設備,也比較精密及自 動化,而國內設備基本上比較粗糙。菌種在現場小試應用基本上都是現場 組合的設備,即使是成套的設備也還沒有與后期使用很好的結合,往往需 要在不同污水處理廠之間搬運。
因此,需要研究出一種新的技術方案來解決上述不足。
實用新型內容
工業廢水的復雜性、不可重復性,往往導致菌種直接使用效果不佳, 這就需要配套的專業活化設備。且不同污水廠之間的使用效果不盡相同, 這就需要在現場做菌種產品的小試應用,以確定菌種對該種廢水處理的有 效性,以及收集控制參數。本實用新型的目的就在于將上述兩者有機結合, 以提高本設備的利用率,減少設備的搬運,最終通過嚴謹的小試試驗及專 業活化控制來保證微生物菌種的使用效果。
本實用新型的技術方案如下:
一種水處理微生物菌種活化及小試應用雙功能自動化設備,包括下部 安裝有滑輪的底座及安裝在底座上部的支架,底座上還安裝有桶狀容器;
桶狀容器內從下向上依次安裝曝氣盤、溫度感應器、加熱棒和三浮球 液位計;桶狀容器上設有兩條出水支路,一條由桶底接出,一條由桶壁中 部接出,兩條支路上分別安裝一個球閥,兩條支路匯合成總出水管路,總 出水管路上安裝電磁閥;桶狀容器底部安裝有一液體放空閥;
支架上從下向上依次安裝有進水泵、氣泵和電控箱,進水泵出水口通 過管道連接至桶狀容器上部設置的進水口,氣泵出氣口通過出氣管道穿過 桶狀容器底部連接至曝氣盤,出氣管道上設置有氣體放空閥;電控箱內裝 有一溫度控制器,兩個時間控制器,自動手動模式選擇開關、自動模式啟 動開關、進水泵、氣泵和加熱器的手動運行開關;
進水泵、電磁閥分別與三浮球液位計聯動;溫度控制器連接加熱棒并 與溫度感應器聯動。
本實用新型的設備有以下運行模式:
1.自動運行模式,包括菌種活化和小試運行:
1.1菌種活化:
出水支路1閥門打開,2閥門關閉;三浮球液位計功能選擇上、下液位。
打開自動啟動開關,進水泵啟動,開始進水,液位到達三浮球液位計 上液位時,啟動氣泵,開始曝氣,時間控制器設定時間到達后,氣泵停止 工作,曝氣停止,另一時間控制器設定的時間到達后(該模式下設為0h), 啟動電磁閥,開始排水,液位低至三浮球液位計下液位時,電磁閥關閉, 停止排水,啟動進水泵,再次開始進水。
1.2小試運行:
出水支路1閥門關閉,2閥門打開;三浮球液位計功能選擇上、中液位。
打開自動啟動開關,進水泵啟動,開始進水,液位到達三浮球液位計 上液位時,氣泵啟動,開始曝氣,時間控制器設定時間到達后,氣泵停止 工作,曝氣停止,另一時間控制器設定的時間到達后,電磁閥啟動,開始 排水,液位低至三浮球液位計中液位時,電磁閥關閉,停止排水,啟動進 水泵,再次開始進水。
2.手動模式:
按下進水泵手動開關,啟動進水泵,開始進水;滿液位后,將進水泵 手動開關復位,停止進水。
按下氣泵手動開關,啟動氣泵,開始曝氣;到時間后將氣泵手動開關 復位,停止曝氣;
按下電磁閥手動開關,啟動電磁閥,開始排水;將電磁閥手動開關復 位,關閉電磁閥,停止排水。
3.溫控模式(單獨運行):
通過溫度控制器設定運行溫度,按下溫度控制器開關,低于設定溫度 (聯動溫度感應器),加熱開啟;高于設定溫度,加熱關閉;溫度控制器 開關復位,聯動停止。
本實用新型的設備具有以下優點:通過簡單的浮球開關選擇、排水管 道的選擇,來方便切換設備的功能選擇;集合兩個功能,形成一個微生物 菌種現場使用的整體的技術解決方案;先小試試驗效果,后活化菌種,保 證現場菌種的使用效果;活化功能中能方便的輸入溫度、時間參數,調整 曝氣量,來專業化的精準控制不同菌種的活化;小試功能中能方便的輸入 溫度、時間參數,調整曝氣量,調整排水液位來專業化的模擬現場水處理 系統,特別是SBR系統的運行參數,進行小試,模擬體現菌種在現場系統 內的試用效果;設備能自動化運行、設備穩固、帶滑輪搬運方便。







