申請日2013.09.17
公開(公告)日2014.03.19
IPC分類號C02F11/12
摘要
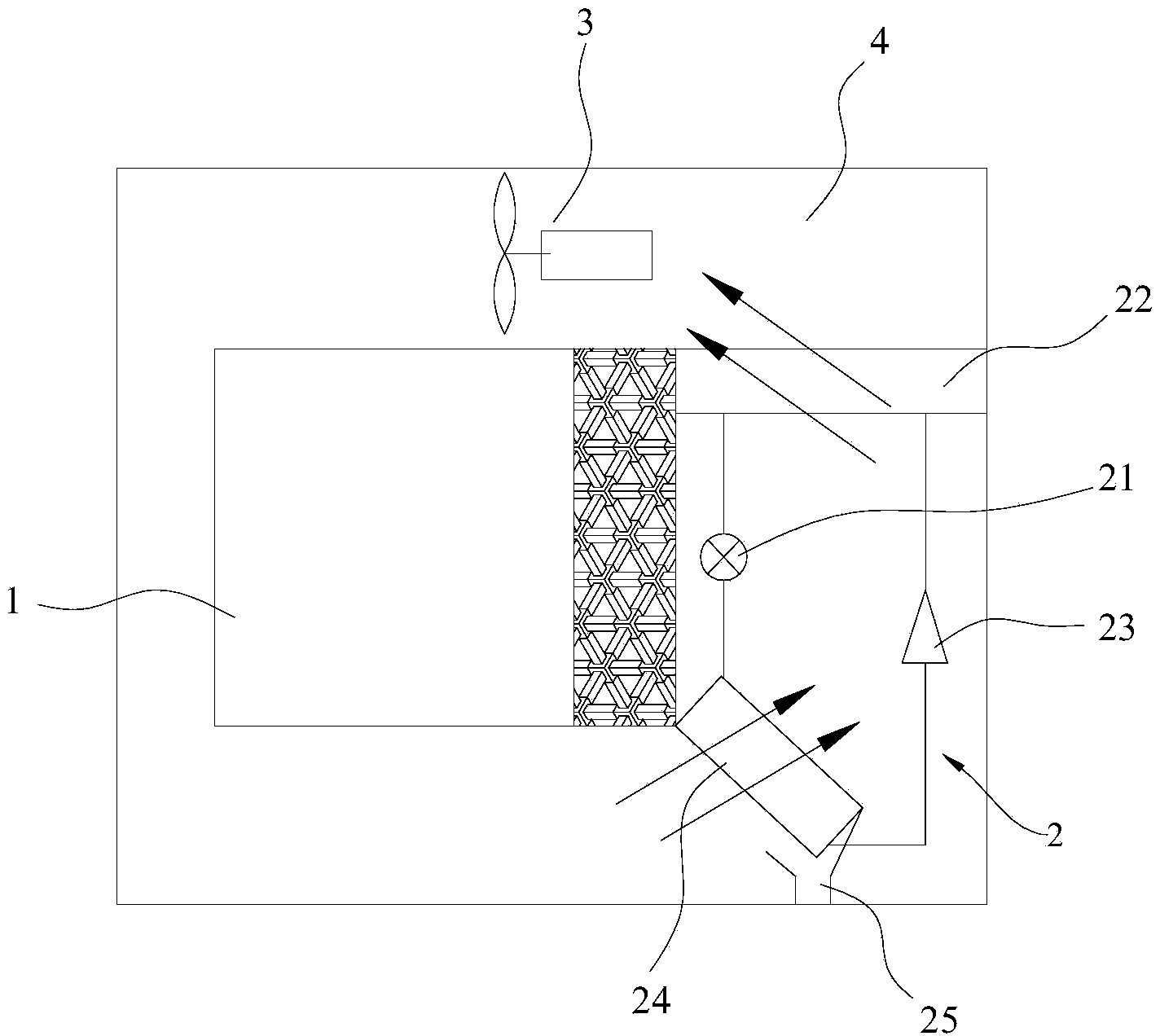
本實用新型公開了一種熱泵低溫污泥干化處理系統,用于污泥干化處理領域,包括干燥室、熱泵單元和內部設有循環風機的送風管道。干燥室上設有進料口和出料口,熱泵單元包括設有壓縮機、冷凝器、節流裝置和蒸發器的冷媒回路,送風管道的進氣口和出氣口均與干燥室接通,蒸發器和冷凝器沿氣體的流動方向依次設在送風管道內。本熱泵低溫污泥干化處理系統中,采用熱泵單元作為干化污泥的熱源,干化過程中不需要消耗任何的燃料,從而可以節省運輸和儲存燃料費用的同時,避免燃料對環境的污染,此外,由于熱泵單元高能效比的特性,則可降低30%以上的能耗,節約電能的同時,安全性能好。
權利要求書
1.一種熱泵低溫污泥干化處理系統,其特征在于:包括干燥室、熱泵單元和內部設有循環風機的送風管道,所述干燥室上設有進料口和出料口,所述熱泵單元包括設有壓縮機、冷凝器、節流裝置和蒸發器的冷媒回路,所述送風管道的進氣口和出氣口均與所述干燥室接通,所述蒸發器和冷凝器沿氣體的流動方向依次設在所述送風管道內。
2.根據權利要求1所述的熱泵低溫污泥干化處理系統,其特征在于:與所述進料口接通設有進料泵,所述干燥室內設有將進料口的污泥傳送至出料口的傳送裝置。
3.根據權利要求2所述的熱泵低溫污泥干化處理系統,其特征在于:所述進料口和出料口分別位于所述干燥室的頂部和底部,所述傳送裝置包括若干傳送帶,各所述傳送帶在所述干燥室內沿豎向分層設置。
4.根據權利要求3所述的熱泵低溫污泥干化處理系統,其特征在于:所述送風管道的進氣口和出氣孔分別位于所述干燥室的底部和頂部。
5.根據權利要求1~4任一項所述的熱泵低溫污泥干化處理系統,其特征在于:所述蒸發器的下方設有冷凝水排放口。
說明書
一種熱泵低溫污泥干化處理系統
技術領域
本實用新型用于污泥干化處理領域,特別是涉及一種熱泵低溫污泥干化處理系統。
背景技術
隨著工業發展及生活水平的提高,產生了越來越多的生活污水與工業廢水,這些廢、污水經水質凈化處理后會產生大量的含水率約99%的污泥,經常規的污泥脫水設備脫水后成為含水率約為80~85%的污泥。隨著污水處理量的增加,污泥年產量也極速增大。根據調研結果顯示,廢水處理站及污水處理廠所產生的污泥有近80%沒有得到妥善的減量化與資源化處理。如何將產量巨大、成分復雜的污泥進行減量化與資源化,已成為急待解決的問題。污泥的進一步干化是一種非常可行的污泥減量化的方法,這類經預脫水后的污泥可通過常規的干燥設備進一步干燥,以達到減量及方便運輸的目的。而當今污泥干化設備普遍存在能耗較高、能源利用率較低的問題,將這類預脫水后的污泥進一步干化又不產生二次廢氣污染,以及如何高效地降低能耗是環保領域中的一項技術難題。
目前對于進一步干化含水率在80~85%的污泥的方法,國內外應用較多的污泥干化工藝設備主要為熱干化技術,包括流化床干化、帶式干化、臥式轉盤式干化、槳葉式干化、立式圓盤式干化、噴霧干化等工藝設備。干化工藝和設備在綜合考慮技術成熟性和投資運行成本的同時,需結合不同污泥處理處置項目的要求進行選擇,同時,在污泥干化過程中產生的粉塵、臭氣排放等問題需另外增加處理設施進行防治。
目前市場上常用的污泥干化設備能耗較高,并且一般需在有廢熱源加熱的條件下使用。若直接使用常用能源(如天然氣、煤、蒸汽等)則處理費用極高,很難維持正常運行。而污水處理廠多無余熱熱源,缺乏可直接回收利用的熱量,若采用常規熱干化技術,必將投入大量的資金用于熱源的建設與能源消耗,性價比太低。此外,現有的污泥干化技術多以單性能設備實施干化處理,在干化污泥的同時不可避免地存在粉塵、臭氣排放的問題,如不另外增加處理防治設施,勢必會對環境造成二次污染。
目前常規的污泥干化設備的主要缺點有:
流化床干化:主要利用天然氣、燃油、蒸汽等作為能源,投資、能耗高、運行與維修成本高污泥含沙量高時注意防磨。
帶式干化:可利用各種能源,使用風量大,能耗高,動力消耗中等,排出干化污泥中少量的不凝氣體和部分廢氣,如不設置除塵、除臭系統會產生二次污染。
臥式轉盤式干化:主要利用飽和蒸汽、導熱油作為能源,能耗高,動力消耗中等,存在污泥粘結現象,國內暫無工程應用,全干化時需干泥返混,排出干化污泥中少量的不凝氣體和部分廢氣,如不設置除塵、除臭系統會產生二次污染。
槳葉式干化:主要利用飽和蒸汽、導熱油作為能源,能耗高,動力消耗中等,存在污泥粘結現象污泥需返混,排出干化污泥中少量的不凝氣體和部分廢氣,如不設置除塵、除臭系統會產生二次污染。
立式圓盤式:主要利用導熱油(燃燒燃料加熱)作為能源,能耗高,動力消耗中等,需干泥返混,另外,導熱油要求高、國內暫無應用。
噴霧式:主要利用高溫煙氣或過熱蒸汽作為能源,能耗、動力消耗高,需干泥返混,排出干化污泥中少量的不凝氣體和煙氣,如不設置除塵、除臭系統會產生二次污染。
實用新型內容
為解決上述問題,本實用新型提供一種高效節能、安全環保的熱泵低溫污泥干化處理系統。
本實用新型解決其技術問題所采用的技術方案是:一種熱泵低溫污泥干化處理系統,包括干燥室、熱泵單元和內部設有循環風機的送風管道。干燥室上設有進料口和出料口,熱泵單元包括設有壓縮機、冷凝器、節流裝置和蒸發器的冷媒回路,送風管道的進氣口和出氣口均與干燥室接通,蒸發器和冷凝器沿氣體的流動方向依次設在送風管道內。
進一步作為本實用新型技術方案的改進,與進料口接通設有進料泵,干燥室內設有將進料口的污泥傳送至出料口的傳送裝置。
進一步作為本實用新型技術方案的改進,進料口和出料口分別位于干燥室的頂部和底部,傳送裝置包括若干傳送帶,各傳送帶在干燥室內沿豎向分層設置。
進一步作為本實用新型技術方案的改進,送風管道的進氣口和出氣孔分別位于干燥室的底部和頂部。
進一步作為本實用新型技術方案的改進,蒸發器的下方設有冷凝水排放口。
本實用新型的有益效果:本熱泵低溫污泥干化處理系統中,采用熱泵單元作為干化污泥的熱源,干化過程中不需要消耗任何的燃料,從而可以節省運輸和儲存燃料費用的同時,避免燃料對環境的污染,此外,由于熱泵單元高能效比的特性,則可降低30%以上的能耗,節約電能的同時,安全性能好。







