申請日2013.08.29
公開(公告)日2015.10.14
IPC分類號C02F1/32; C02F1/78; C02F1/46
摘要
本發明提供了一種介質阻擋放電水處理裝置,屬于水處理裝置技術領域。本發明的裝置包括:高壓高頻脈沖電源、反應器殼體、柱式高壓電極、筒式液下低壓電極、蛭石負載二氧化鈦催化劑、介質阻擋層和微孔曝氣膜片。方法是加入待處理溶液,向柱式高壓電極和筒式液下低壓電極之間施加高壓脈沖電壓,其峰值電壓為1~100kV,頻率1~50kHz;調節進入空氣量,調整處理廢水在反應器內部和活性粒子接觸時間。水處理裝置引入了曝氣裝置,介質阻擋等離子體放電產生的中活性物質能夠通過曝氣裝置全部進入待處理溶液里,傳質效率高,所需時間短;方法運行穩定、操作簡單,在大氣壓下即可運行,設備易于管理,具有較強的實用性和經濟性。
權利要求書
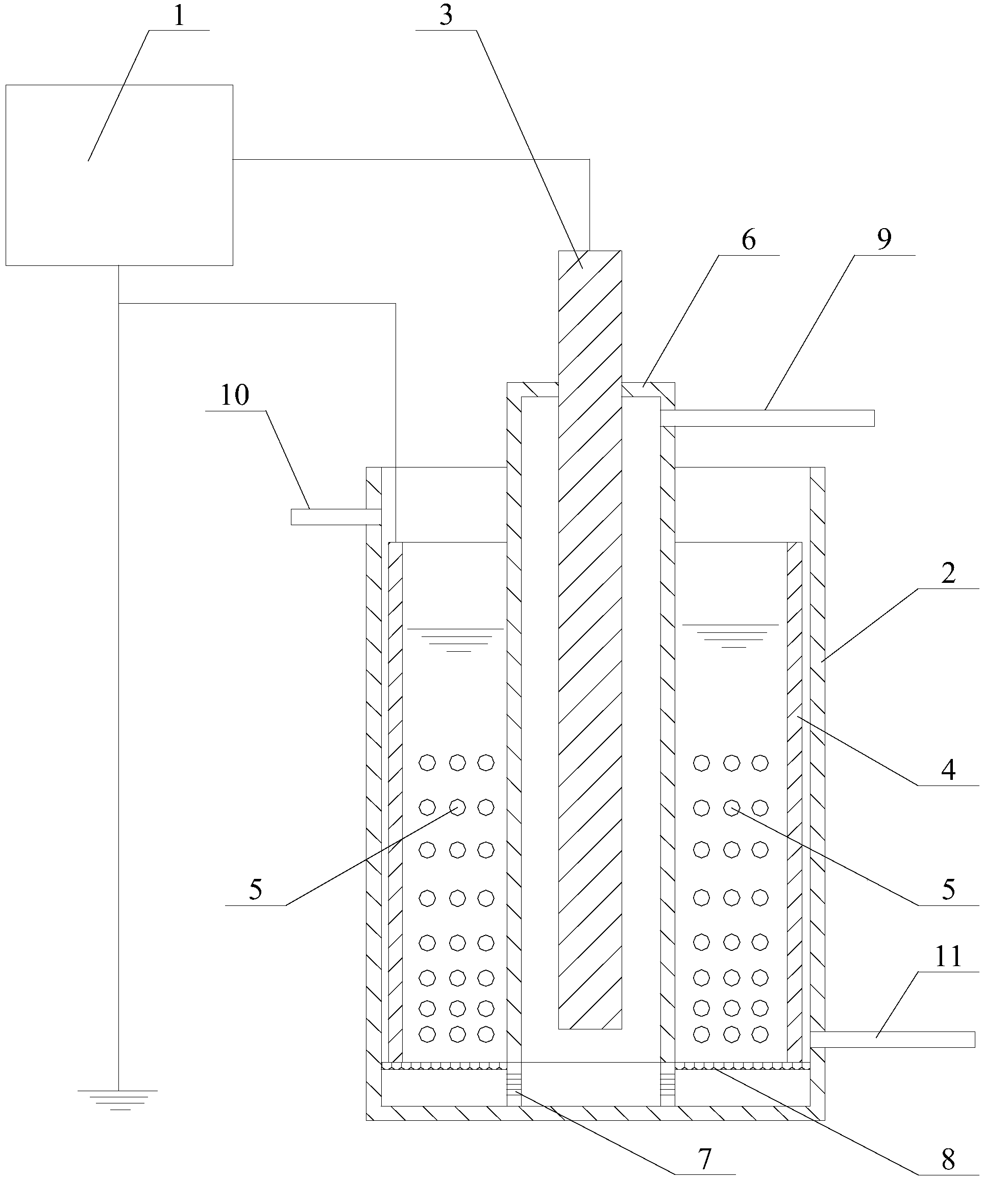
1.一種介質阻擋放電水處理裝置,包括:高壓高頻脈沖電源(1)、反應器殼體 (2)、柱式高壓電極(3)、筒式液下低壓電極(4)、蛭石負載二氧化鈦催化劑 (5)、介質阻擋層(6)和微孔曝氣膜片(8),所述介質阻擋層(6)固定在反應器殼 體(2)內的中心處,介質阻擋層(6)的下端與反應器殼體(2)內的底部相連接,介 質阻擋層(6)的下部設有通氣孔(7),微孔曝氣膜片(8)固定在反應器殼體(2)內 的下部介質阻擋層(6)的外壁和反應器殼體(2)的內壁之間,筒式液下低壓電極 (4)設置在反應器殼體(2)內的微孔曝氣膜片(8)的上部,反應器殼體(2)和介質 阻擋層(6)之間的環形空間內分布有蛭石負載二氧化鈦催化劑(5),柱式高壓電極 (3)固定在介質阻擋層(6)內,高壓高頻脈沖電源(1)的正極與柱式高壓電極(3) 相連接,高壓高頻脈沖電源(1)的地電極與筒式液下低壓電極(4)相連接;其特征在 于,所述反應器殼體(2)的尺寸為φ30X250mm;所述反應器殼體(2)為有機玻璃 制成;所述介質阻擋層(6)為石英筒,尺寸為φ15X3000X3mm;所述柱式高壓電極 (3)為φ4mm鎢棒;所述筒式液下低壓電極(4)為白鋼板,尺寸為φ25X200mm; 所述蛭石負載二氧化鈦催化劑(5)的粒徑為φ5~φ8mm。
說明書
一種介質阻擋放電水處理裝置
技術領域
本發明涉及一種介質阻擋放電水處理裝置及方法,屬于水處理裝置技術領域。
背景技術
工業廢水水質濃度高,水質成分復雜,具有傳統的生物化學處理技術難以降解的特 點。國內外研究者在工業廢水處理技術方面進行了有益探索,越來越多的廢水處理技 術已經被研究和推廣應用。在眾多的廢水處理方法中,等離子體技術作為一種集光、 電、化學氧化于一體的新型水處理技術,因其適用范圍廣、處理效果好等優點,成為當 前水處理技術中的研究熱點。
等離子體廢水處理技術是兼具高能電子輻射、臭氧氧化、紫外光分解等作用于一體 的高級水處理氧化技術。等離子體放電過程中,非平衡等離子體產生電子、自由基、正 負離子、激發態的原子、分子等高活性粒子,放電等離子體通道中富含的活性粒子是放 電誘發污染物質降解反應的主體;此外,放電過程產生的紫外線、沖擊波等,可同時與 污染物相作用,使污染物降解。等離子體根據其放電類型的不同,分為電暈放電、介質 阻擋放電(DBD)、火花放電、弧光放電、輝光放電以及上述兩種放電形式以上的混 合放電;其中介質阻擋放電具有均勻、漫散和穩定的特點,放電過程中產生的電子能量 遠高于電暈放電、火花放電的平均電子能量值,可以充分使有機物分子、水分子、氧氣 分子產生電離,從而激發出許多活性更高的粒子,如·OH、O3、·O、H2O2等,這些活 性粒子和廢水中有機物作用使其降解。近年來,介質阻擋放電在低溫等離子體處理廢水 領域發展起來的新方法。根據放電參與介質的不同,可以分成單純液相放電(液電效 應)、氣相放電和氣液兩相混合放電。
國內外利用等離子體放電技術處理對不同污染物降解進行了研究,例如苯環類有機 物苯酚、制藥廢水和有機染料(如甲基藍和甲基橙等)等,其中還包括表面活性劑。但是 單獨使用等離子體降解廢水存在著處理時間長,活性物質不能被充分利用,能量利用率 低等缺點。
光催化降解水中有機污染物具有能耗低、操作簡便、反應條件溫和、減少二次污染 等優點,因而得到人們的重視。目前,以人工光源或太陽光光源的光催化反應體系,已 在染料廢水、酚類物質、藥廢水、制藥廢水、表面活性劑、含油廢水、鹵代烴等廢水處 理中得到應用。
TiO2半導體光催化劑以無毒、催化活性高、氧化能力強和穩定性好等優點,受到人 們普遍關注。然而TiO2半導體光催化劑在實際應用中存在量子效率低、太陽能利用率較 低、負載后其光催化活性降低等關鍵問題,而制約其大規模的工業應用。近年來,許多 研究者針對TiO2半導體光催化劑存在的問題,提出將TiO2納米化提高催化劑光催化性 能;但是與之矛盾的是催化劑顆粒越小,催化劑越難分離。為解決這個問題,通常采用 負載的方法,利用載體(玻璃珠、活性炭、多孔硅膠和天然礦物等多孔材料)比表面積 大、吸附性強性等特點制備復合催化劑,與單一TiO2懸浮體系相比,這種復合催化劑具 有吸附性、易回收、且能重復使用等優點,成為當前光催化材料研究領域的熱點。
曝氣是生物處理廢水泥系統的一個重要環節,也是環境工程水處理中一個重要環 節,它的作用是向池內充氧,保證微生物生化作用所需之氧量,同時保持池內微生物、 有機物、溶解氧,即泥、水、氣三者的充分混合,為微生物降解雜質創造有利條件。微 孔曝氣器是目前最常用曝氣裝置,該曝氣裝置氣泡直徑小,氣液界面直徑小,氣液接觸 界面積大,氣泡擴散均勻,不會產生孔眼堵塞氧轉移效果好的特點。
構建介質阻擋放電等離子體反應裝置,在裝置中引入微孔曝氣裝置,提高活性粒子 傳質速率;實現將等離子體與催化劑、吸附劑等其它處理手段的協同效應,希望實現高 濃度有機廢水快速降解。
綜上,現有的水處理裝置協同效果不好、有機廢水的降解處理能效不高、反應器設 計復雜,不能適應有機廢水的處理。
發明內容
本發明的目的是為了解決上述現有技術存在的問題,即現有的水處理裝置協同效果 不好、有機廢水的降解處理能效不高、反應器設計復雜,不能適應有機廢水的處理。進 而提供一種介質阻擋放電水處理裝置及方法。
本發明的目的是通過以下技術方案實現的:
一種介質阻擋放電水處理裝置,包括:高壓高頻脈沖電源、反應器殼體、柱式高壓 電極、筒式液下低壓電極、蛭石負載二氧化鈦催化劑、介質阻擋層和微孔曝氣膜片,所 述介質阻擋層固定在反應器殼體內的中心處,介質阻擋層的下端與反應器殼體內的底部 相連接,介質阻擋層的下部設有通氣孔,微孔曝氣膜片固定在反應器殼體內的下部介質 阻擋層的外壁和反應器殼體的內壁之間,筒式液下低壓電極設置在反應器殼體內的微孔 曝氣膜片的上部,反應器殼體和介質阻擋層之間的環形空間內分布有蛭石負載二氧化鈦 催化劑,柱式高壓電極固定在介質阻擋層內,高壓高頻脈沖電源的正極與柱式高壓電極 相連接,高壓高頻脈沖電源的地電極與筒式液下低壓電極相連接。所述反應器殼體的尺 寸為φ30X 250mm;所述反應器殼體為有機玻璃制成;所述介質阻擋層為石英筒,尺 寸為φ15X 3000X 3mm;所述柱式高壓電極為φ4mm鎢棒;所述筒式液下低壓電極為 白鋼板,尺寸為φ25X 200mm;所述蛭石負載二氧化鈦催化劑的粒徑為φ5~φ8mm。
一種使用介質阻擋放電水處理裝置的水處理方法,包括如下步驟:
A、加入待處理溶液:向反應容器中加入500mg/l苯酚理溶液;
B、接通電源:接通高壓高頻脈沖電源,向柱式高壓電極和筒式液下低壓電極之間 施加高壓脈沖電壓,其峰值電壓為1-100kV,頻率1-50kHz;調節電壓,使放電間隙放 電并產生放電通道,形成活性粒子;
C、調節空氣量:調節進入空氣量,進而調整曝氣強度,調整活性粒子的傳質速 率;
D、調整待處理廢水水力停留時間,通過調整液體入口流量計,調整處理廢水在反 應器內部和活性粒子接觸時間。
本發明的技術效果:1、本發明的水處理裝置引入了曝氣裝置,介質阻擋等離子體 放電產生的中活性物質能夠通過曝氣裝置全部進入待處理溶液里,傳質效率高,所需時 間短,其他氣相等離子體技術產生的活性不能有效進入待處理溶液,從而造成活性粒子 的流失。2、本發明引入曝氣裝置,通過微孔產生的氣泡對待處理溶液進行攪動,增加 活性粒子與污染物接觸幾率,傳質效率高,所需時間短。3、半導體材料(過渡金屬 TiO2、NiO、Ag2O等)等催化劑置于反應器,利用等離子體的高能量和非熱力學平衡 特性,借助等離子體中體相均勻分布的紫外光,實現等離子放電和光催化協同作用降解 污染物。4、以蛭石作為載體負載型半導體材料(過渡金屬TiO2、NiO、Ag2O等)等光 催化劑,解決廢水動態處理光催化劑流失問題,同時蛭石以多孔、大比表面積、吸附能 力強的特點作為廢水處理中常用的吸附劑。5、該處理方法能動態連續處理廢水,靜態 處理廢水,等離子放電產生活性粒子隨時間的持續不斷進入廢水中,水中污染物隨著時 間降解越來越少,而廢水中活性粒子的量越來越多,從而靜態處理往往處理效率很高, 但是相應能耗較大;動態處理廢水能實現工業化應用。6、本發明工藝先進、運行穩 定、操作簡單,在大氣壓下即可運行,設備易于管理,具有較強的實用性和經濟性。







