申請日2013.08.29
公開(公告)日2014.03.26
IPC分類號C02F5/00; F22D5/34
摘要
本實用新型涉及一種給水處理及調節裝置,尤其是涉及一種水泥窯低溫余熱發電系統給水處理及調節裝置,包括清水箱(2)、清水泵(3)、軟化水裝置(4)、軟水箱(5)、軟水泵(6)、控制器(10);清水液位傳感器(13)、軟水液位傳感器(15)、窯頭余熱鍋爐液位傳感器(19)、窯尾余熱鍋爐液位傳感器(22)、熱水井液位傳感器(25)與控制器(10)相連,控制器(10)與清水泵(3)、軟水泵(6)、進水閥(12)、窯頭余熱鍋爐補水閥(18)、窯尾余熱鍋爐補水閥(21)、冷凝器補水閥(24)相連。本實用新型通過傳感器檢測反饋信號來控制各水泵和閥門運行,保證水泥窯低溫余熱發電系統運行穩定,安全可靠。
權利要求書
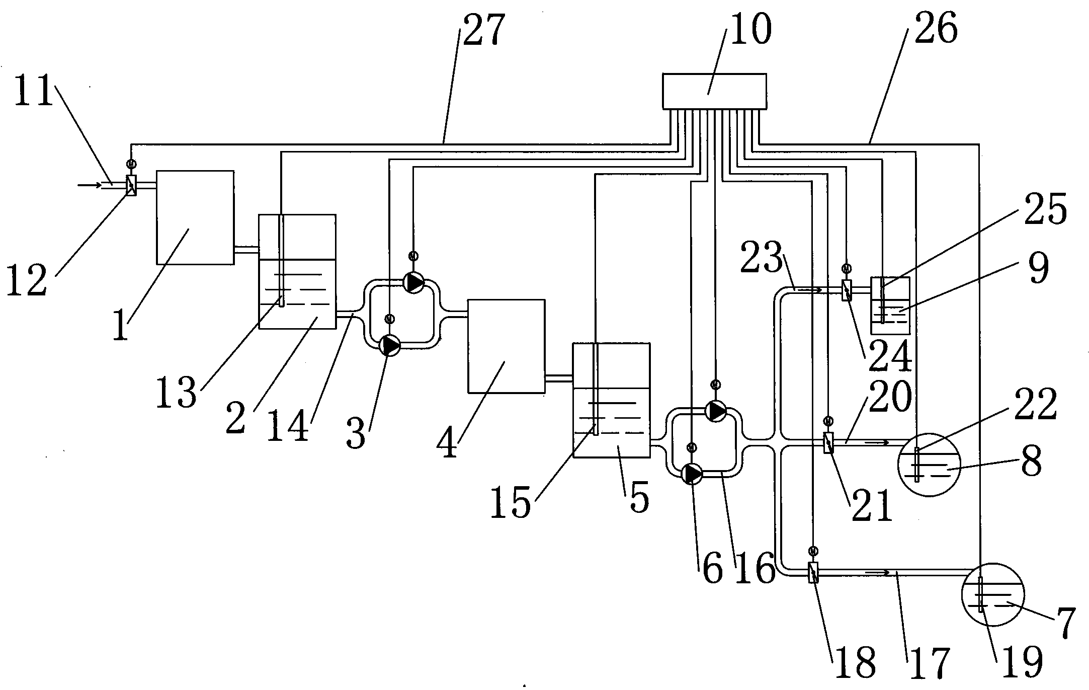
1.水泥窯低溫余熱發電系統給水處理及調節裝置,其特征在于,包括機械過濾器(1)、清水箱(2)、清水泵(3)、軟化水裝置(4)、軟水箱(5)、軟水泵(6)、窯頭余熱鍋爐汽包(7)、窯尾余熱鍋爐汽包(8)、冷凝器熱水井(9)、控制器(10);機械過濾器(1)的進水管(11)上有進水閥(12),機械過濾器(1)的出水口通過管道與清水箱(2)的進水口相連,清水箱(2)內設有清水液位傳感器(13);清水箱(2)的出水口通過上水管(14)和軟化水裝置(4)的進水口相連,上水管(14)上設有清水泵(3),并且清水泵(3)冗余配置;軟化水裝置(4)的出水口通過管道與軟水箱(5)的進水口相連,軟水箱(5)內設有軟水液位傳感器(15);軟水箱(5)的出水口與軟水出水管(16)相連,軟水出水管(16)上設有軟水泵(6),并且軟水泵(6)冗余配置;軟水出水管(16)與窯頭余熱鍋爐補水管(17)、窯尾余熱鍋爐補水管(20)和冷凝器補水管(23)相連;窯頭余熱鍋爐補水管(17)與窯頭余熱鍋爐汽包(7)相連,窯頭余熱鍋爐補水管(17)上設有窯頭余熱鍋爐補水閥(18),窯頭余熱鍋爐汽包(7)內設有窯頭余熱鍋爐液位傳感器(19);窯尾余熱鍋爐補水管(20)與窯尾余熱鍋爐汽包(8)相連,窯尾余熱鍋爐補水管(20)上設有窯尾余熱鍋爐補水閥(21),窯尾余熱鍋爐汽包(8)內設有窯尾余熱鍋爐液位傳感器(22);冷凝器補水管(23)與冷凝器熱水井(9)相連,冷凝器補水管(23)上設有冷凝器補水閥(24),冷凝器熱水井(9)內設有熱水井液位傳感器(25);清水液位傳感器(13)、軟水液位傳感器(15)、窯頭余熱鍋爐液位傳感器(19)、窯尾余熱鍋爐液位傳感器(22)、熱水井液位傳感器(25)通過信號線(26)與控制器(10)相連,控制器(10)通過控制線(27)與清水泵(3)、軟水泵(6)、進水閥(12)、窯頭余熱鍋爐補水閥(18)、窯尾余熱鍋爐補水閥(21)、冷凝器補水閥(24)相連。
2.根據權利要求1所述水泥窯低溫余熱發電系統給水處理及調節裝置,其特征在于,所述控制器(10)為DCS主機。
3.根據權利要求1或2所述水泥窯低溫余熱發電系統給水處理及調節裝置,其特征在于,所述進水閥(12)、窯頭余熱鍋爐補水閥(18)、窯尾余熱鍋爐補水閥(21)和冷凝器補水閥(24)為電動閥。
4.根據權利要求1或2所述水泥窯低溫余熱發電系統給水處理及調節裝置,其特征在于,所述信號線(26)和控制線(27)為屏蔽線。
5.根據權利要求3所述水泥窯低溫余熱發電系統給水處理及調節裝置,其特征在于,所述信號線(26)和控制線(27)為屏蔽線。
說明書
水泥窯低溫余熱發電系統給水處理及調節裝置
技術領域
本實用新型涉及一種給水處理及調節裝置,尤其是涉及一種水泥窯低溫余熱發電系統給水處理及調節裝置。
背景技術
由于水泥窯低溫余熱發電系統內部存在設備本身和系統造成的蒸汽和凝結水的損失以及系統對外有供熱設備,因此存在著蒸汽和凝結水的損失(汽水損失),它直接影響著水泥窯低溫余熱發電系統的安全經濟運行。為補充工質的損失必須加入補充水。為保證蒸汽的品質,補充水必須經過嚴格處理,可以進行化學處理和熱處理,通常采用化學處理;瘜W處理是將生水經過化學除鹽設備除去水中的鈣離子、鎂離子、鈉鹽變成軟水。如果進入水泥窯低溫余熱發電系統的水質不良,則經過一段時間運行后,在和水接觸的受熱面上,會生成一些固體附著物這種現象稱為結垢,這些固體附著物稱為水垢。因為水垢的導熱性比金屬差幾百倍,而這些水垢又極易在熱負荷很高的鍋爐爐管中生成,所以結垢對鍋爐(或熱交換器)的危害性很大;它可使結垢部位的金屬管壁溫度過高,引起金屬強度下降,這樣在管內壓力的作用下,就會發生管道局部變形、產生鼓包,甚至引起爆管等嚴重事故。結垢不僅危害安全運行,而且還會大大降低發電的經濟性。另外,循環水的水質不良,在汽輪機凝汽器內結垢會導致凝汽器真空度降低,從而使汽輪機的熱效率和出力下降;過熱器的結垢會使蒸汽溫度達不到設計值,使整個熱力系統的經濟性降低。熱力設備結垢以后必須及時進行清洗工作,這就要停運設備,減少了設備的年利用小時數;此外,還要增加檢修工作量和費用等。
而現在水泥窯低溫余熱發電系統中窯頭余熱鍋爐汽包、窯尾余熱鍋爐汽包和冷凝器熱水井補充水時是通過改變給水流量來實現水位調節的。在水泥窯低溫余熱發電系統運行過程中,由于負荷、熱風量頻繁變動,水位調節一般采用人工手動調節。浪費人力并且不能實時進行,對水泥窯低溫余熱發電系統的安全生產有一定隱患。
發明內容
為了解決上述技術問題,本實用新型提供了一種水泥窯低溫余熱發電系統給水處理及調節裝置,目的是使水泥窯低溫余熱發電系統的補水水質達到系統要求,又能根據水泥窯低溫余熱發電系統中窯頭余熱鍋爐汽包、窯尾余熱鍋爐汽包和冷凝器熱水井的水位自動補水的水泥窯低溫余熱發電系統給水處理及調節裝置,保證水泥窯低溫余熱發電系統運行穩定安全可靠。
為實現上述目的,本實用新型所采用的技術解決方案是:
水泥窯低溫余熱發電系統給水處理及調節裝置,包括機械過濾器、清水箱、清水泵、軟化水裝置、軟水箱、軟水泵、窯頭余熱鍋爐汽包、窯尾余熱鍋爐汽包、冷凝器熱水井、控制器;機械過濾器的進水管上有進水閥,機械過濾器的出水口通過管道與清水箱的進水口相連,清水箱內設有清水液位傳感器;清水箱的出水口通過上水管和軟化水裝置的進水口相連,上水管上設有清水泵,并且清水泵冗余配置;軟化水裝置的出水口通過管道與軟水箱的進水口相連,軟水箱內設有軟水液位傳感器;軟水箱的出水口與軟水出水管相連,軟水出水管上設有軟水泵,并且軟水泵冗余配置;軟水出水管與窯頭余熱鍋爐補水管、窯尾余熱鍋爐補水管和冷凝器補水管相連;窯頭余熱鍋爐補水管與窯頭余熱鍋爐汽包相連,窯頭余熱鍋爐補水管上設有窯頭余熱鍋爐補水閥,窯頭余熱鍋爐汽包內設有窯頭余熱鍋爐液位傳感器;窯尾余熱鍋爐補水管與窯尾余熱鍋爐汽包相連,窯尾余熱鍋爐補水管上設有窯尾余熱鍋爐補水閥,窯尾余熱鍋爐汽包內設有窯尾余熱鍋爐液位傳感器;冷凝器補水管與冷凝器熱水井相連,冷凝器補水管上設有冷凝器補水閥,冷凝器熱水井內設有熱水井液位傳感器;清水液位傳感器、軟水液位傳感器、窯頭余熱鍋爐液位傳感器、窯尾余熱鍋爐液位傳感器、熱水井液位傳感器通過信號線與控制器相連,控制器通過控制線與清水泵、軟水泵、進水閥、窯頭余熱鍋爐補水閥、窯尾余熱鍋爐補水閥、冷凝器補水閥相連。
所述控制器為DCS主機。
所述進水閥、窯頭余熱鍋爐補水閥、窯尾余熱鍋爐補水閥和冷凝器補水閥為電動閥。
所述信號線和控制線為屏蔽線。
工作時,自廠區生活、消防管網送來的水經過機械過濾器,過濾后進入清水箱,由清水泵將水送至軟化水裝置,出水達標后進入軟水箱,再由軟水泵將軟化水送至窯頭余熱鍋爐汽包、窯尾余熱鍋爐汽包和冷凝器熱水井使用。控制器根據清水液位傳感器傳來的清水箱的水位信號控制進水閥的開閉大小;控制器根據軟水液位傳感器傳來的軟水箱的水位信號控制清水泵的啟停;控制器根據窯頭余熱鍋爐液位傳感器、窯尾余熱鍋爐液位傳感器和熱水井液位傳感器傳來的窯頭余熱鍋爐汽包、窯尾余熱鍋爐汽包和冷凝器熱水井的水位信號控制軟水泵的啟停和窯頭余熱鍋爐補水閥、窯尾余熱鍋爐補水閥、冷凝器補水閥的開閉大小;使水泥窯低溫余熱發電系統的給水水質達到生產要求并滿足系統內各處的給水要求,保證水泥窯低溫余熱發電系統的正常運行。
本實用新型的有益效果:
本實用新型通過精確的傳感器檢測反饋信號來控制各水泵和閥門的運行,保證水泥窯低溫余熱發電系統運行穩定,安全可靠,能有效阻止系統循環水經常出現的結垢問題,替代人工操作,彌補了人工操作無法及時、準確及連續性等對系統不利的影響。控制線采用屏蔽線,具有較高的傳輸速率和良好的抗電磁干擾能力。清水泵和軟水泵分別冗余配置,其中一臺發生故障時,另一臺還能進行工作,不會影響系統的正常工作。







