申請日2013.09.26
公開(公告)日2014.01.08
IPC分類號C02F1/48
摘要
本發明是一種基于組合式磁場的磁式水處理方法,其特征是:步驟如下:將一段非導磁材料制成的水管接入換熱器入口;在一段非導磁材料制成的水管上建立具有交變磁場和可調永磁場相結合的組合式磁場的磁式水處理管路;設定工質的流速和交變磁場的頻率、功率,可調永磁場的磁場強度;將工質送至具有所述組合式磁場的磁式水處理管段進行加磁水處理,同時在線監測水質參數、污垢熱阻等參數,以確定所處理工質的最佳永磁場的磁場強度、交變磁場的頻率、功率等參數。使用時,啟動在線監測系統采集水質參數、溫度、流速等信號,輸入計算機計算得換熱器污垢熱阻,通過對比分析得出該流速下最佳磁處理效果所對應的磁場參數。
權利要求書
1.一種基于組合式磁場的磁式水處理方法,其特征包括:一段非導磁材料制成的水管, 一由交變磁場和可調永磁場構成的組合式磁場裝置,交變磁場的磁場方向與工質流動方向相垂 直,或交變磁場的磁場方向與工質流動方向相平行,可調永磁場與工質流動方向相垂直,其方 法步驟包括:
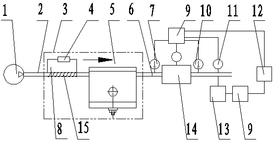
1)將一段非導磁材料制成的水管接入換熱器管道入口;
2)將組合式磁場裝置裝設于一段非導磁材料制成的水管四周或兩側,以建立用于水處理 的組合式磁場;
a)在組合式磁場裝置的交變磁場上接入信號發生器;
b)將組合式磁場裝置的可調永磁場體裝設于一段非導磁材料制成的水管兩側,以建立可 調永磁場;
3)啟動水泵,使工質以一定的流速依次流經組合式磁場裝置的交變磁場和可調永磁場, 之后進入換熱器進行熱交換,吸收熱量;
4)啟動在線監測系統,采集水質參數、溫度、流速等信號,計算污垢熱阻;
5)將步驟4)所采集到的參數輸入西門子SIMATIC IPC547C工控機數據采集處理系統, 進行數據的記錄、保存及處理;
6)改變交變磁場頻率、功率及可調永磁場的磁場強度,重復以上步驟1)~5),最后通過 對比分析,得出一定流速下最佳水處理效果所對應的磁場參數。
2.根據權利1所述的基于組合式磁場的磁式水處理方法,其特征是,步驟1)所述一段 非導磁材料制成的水管,其材質為非導磁材料,用以增強作用于工質的磁場強度,同時減小電 磁干擾;其管徑應與換熱器接入部位管徑相同,以減小節流損失;其長度應保證組合式磁場裝 置的接入,組合式磁場裝置內的相互間磁場的干擾可忽略不計。
3.根據權利1所述的基于組合式磁場的磁式水處理方法,其特征是,步驟2)所述的組 合式磁場由交變磁場和可調永磁場組成,交變磁場由裝設于一段非導磁材料制成的水管兩側的 螺線管線圈構成,其磁場方向與工質流動方向相垂直,或由纏繞在該水管上的螺線管線圈構成, 其磁場方向與工質流動方向相平行;可調永磁場由兩塊平行的N極、S極相向布置的永久磁體 構成;其結構包括導磁材料制成的連接板、固定永磁體和活動永磁體;導磁材料制成的連接板 的上面設置導磁材料制成的固定磁軛和移動磁軛,固定磁軛與導磁材料制成的連接板固連,移 動磁軛與導磁材料制成的連接板滑動連接,固定永磁體固連在固定磁軛上,活動永磁體固連在 移動磁軛上,不導磁材料制成的螺釘穿裝在移動磁軛上設置的螺紋孔內與其螺紋連接,螺釘的 端頭與固定磁軛接觸。
4.根據權利1所述的基于組合式磁場的磁式水處理方法,其特征是,步驟2所述的螺線管 線圈,其所產生的磁場強度為0~0.5T,且平滑可調;其磁場方向與工質流動方向垂直或平行; 自制的信號發生器具有連續信號、掃頻信號、函數信號、脈沖信號等多種輸出信號并具有多種 調制方式和外部測頻功能,其所產生的交變信號的頻率范圍為0~1M Hz,且平滑可調。
5.根據權利1所述的基于組合式磁場的磁式水處理方法,其特征是,步驟2)所述的可 調永磁場,其所產生的磁場強度為0~1.0T,且平滑可調;永磁體寬度相同且大于一段非導磁 材料制成的水管的直徑,以達到使整個水管置于該可調永磁場的目的;
所述可調永磁場方向與一段非導磁材料制成的水管內工質的流動方向垂直;通過調節固定 磁軛和移動磁軛的距離,可以改變所述永磁場的磁場強度。
6.根據權利1所述的基于組合式磁場的磁式水處理方法,其特征是,步驟3)所述的工 質,其流速范圍為0.1~2.0m/s,且可以實現平滑調節;工質進入換熱器,是吸熱過程;換熱器 為管式換熱器。
7.根據權利1所述的基于組合式磁場的磁式水處理方法,其特征是,步驟4)所述的監 測系統,
(1)采用DS18B20測量溫度;其溫度測點分別置于換熱器入水口、換熱器的出水口、換 熱器的管壁;所測得溫度參數包括,換熱器入水口溫度,換熱器出水口溫度及換熱器的壁溫;
(2)為防止污垢的生成影響測量精度,在此采用采用智能SCL-61D超聲波流量計測量工 質流速,其測點布置于換熱器的出水口;
(3)采用SC200多功能水質分析儀在線測量pH值、電導率、溶解氧及濁度;采用CLU-S 型液晶屏顯氯離子含量快速測定儀測定氯離子含量;采用IC7685系列離子濃度計在線測量鈣 離子濃度;
(4)將所采集到的參數輸入西門子SIMATIC IPC547C工控機數據采集處理系統,進行數 據的記錄、保存及處理,其中將所采集的試驗管入水口溫度Tfi、出水口溫度Tfo及試驗管長度l、 直徑d代入如下公式計算污垢與介質間界面溫度:
(1)
式中:St—斯坦頓數;
采用如下公式計算熱流密度:
式中:cP—為介質比熱容,J/(kg·K);
ρ—為介質密度,kg/m3;
V—為介質平均流速,m/s;
再將公式(1)和公式(2)代入如下公式計算污垢熱阻:
式中:Twf—為管壁與污垢間的界面實測溫度,℃;
(5)西門子SIMATIC IPC547C工控機數據采集處理系統具有數據存儲、讀取、顯示及查 詢功能,采樣時間為1s~5min,還具有數據庫數據導出至Excel表功能,以方便用戶查詢和進 一步數據處理。
說明書
基于組合式磁場的磁式水處理方法
技術領域
本發明涉及高耗能行業換熱設備污垢抑垢對策,尤其涉及磁式水處理方法。是一種 基于組合式磁場的磁式水處理方法。
背景技術
現有技術的各種換熱過程中,90%以上的換熱設備都存在污垢問題。換熱設備結垢, 一方面會降低傳熱率,增加燃料消費,另一方面,還常常會引起局部過熱或超溫而導致 設備的機械性能下降,嚴重時還會引發生產事故。電廠換熱設備結垢問題一直受業內人 士關注,常用的物理法抑垢中的電磁處理法因其具有應用方便、投資小、運行費用低、 無污染等優點而倍受業內人士青睞。最初的水處理方法多采用永久性磁體,該方法的優 點是簡單方便,且易于實現,缺點是由于永久性磁體磁場強度恒定,而且隨著長時間的 運行,磁場強度會逐漸降低,其抑垢效果大打折扣,因此,電磁水處理方法應運而生, 這種方法是通過包含或者包圍一段管道或一個容器的電磁場對流經的或盛放的水進行處 理,無論永久性磁體水處理還是電磁水處理,其最初的設計都是靜態的,且頻率是恒定 的,之后,又出現了變頻電磁水處理方法。由于水中的雜質各有不同,其最佳水處理效 果所對應的頻率和磁感應強度也是不同的。然而,到目前為止,未見有報道給出最佳的 電磁水處理效果所對應的磁場強度及其頻率等參數。再加上電磁場抑垢技術的作用機理 尚不明確,抑垢效果尚不穩定,這些因素都阻礙了電磁抑垢技術的進一步發展。
發明內容
本發明所要解決的技術問題是:提出一種基于組合式磁場的磁式水處理方法,該方 法能夠根據不同水質的離子種類和含量、污垢熱阻等參數,利用組合式磁場裝置,通過 改變磁場強度及頻率等相關參數,找到與水質參數對應的最佳水處理效果所需要的磁場 頻率、磁場強度等參數。
本發明解決技術問題的方案是:一種基于組合式磁場的磁式水處理方法,其特征是, 它包含如下步驟:
1)將一段非導磁材料制成的水管接入換熱器管道入口;一段非導磁材料制成的水管, 用以增強作用于工質的磁場強度,同時減小電磁干擾;其管徑與換熱器接入部位管徑相 同,以減小節流損失;其長度應保證組合式磁場裝置的接入,組合式磁場裝置內的相互 間磁場的干擾可忽略不計;
2)將組合式磁場裝置裝設于一段非導磁材料制成的水管兩側或四周,以建立用于水 處理的組合式磁場;
所述組合式磁場由交變磁場和可調永磁場組成,交變磁場由裝設于一段非導磁材料 制成的水管兩側的螺線管線圈構成,其磁場方向與工質流動方向相垂直,或由纏繞在該 水管上的螺線管線圈構成,其磁場方向與工質流動方向相平行;可調永磁場由兩塊平行 的N極、S極相向布置的永久磁體構成,其結構包括導磁材料制成的連接板、固定永磁 體和活動永磁體;導磁材料制成的連接板的上面設置導磁材料制成的固定磁軛和移動磁 軛,固定磁軛與導磁材料制成的連接板固連,移動磁軛與導磁材料制成的連接板滑動連 接,固定永磁體固連在固定磁軛上,活動永磁體固連在移動磁軛上,不導磁材料制成的 螺釘穿裝在移動磁軛上設置的螺紋孔內與其螺紋連接,螺釘的端頭與固定磁軛接觸;
a)在所述組合式磁場裝置的交變磁場上接入信號發生器,通過交變磁場控制裝置, 設定初始交變磁場頻率、功率,建立交變磁場;所述磁場所產生的磁場強度為0~0.5T, 且平滑可調;其磁場方向與工質流動方向垂直或平行;信號發生器具有連續信號、掃頻 信號、函數信號、脈沖信號等多種輸出信號并具有多種調制方式和外部測頻功能,其所 產生的交變信號的頻率范圍為0~1M Hz,且平滑可調;
b)將所述組合式磁場裝置的可調永磁場體裝設于一段非導磁材料制成的水管兩側, 以建立可調永磁場;
所述可調永磁場所產生的磁場強度為0~1.0T,且平滑可調;磁體寬度相同且大于一 段非導磁材料制成的水管的直徑,以達到使整個水管完全置于該可調永磁場的目的。所 述可調永磁場方向與一段非導磁材料制成的水管內工質的流動方向垂直;通過調節固定 磁軛和移動磁軛的距離,可以改變所述可調永磁場的磁場強度;
3)啟動水泵,使工質以一定的流速依次流經所述組合式磁場裝置的交變磁場和可調 永磁場,之后進入換熱器進行熱交換,吸收熱量;工質流速范圍為0.1~2.0m/s,且可以 實現平滑調節;工質進入換熱器,是吸熱過程;換熱器為管式換熱器;
4)啟動在線監測系統,采集水質參數、溫度、流速等信號,計算污垢熱阻;
該監測系統采用DS18B20測量溫度;其溫度測點分別置于換熱器入水口、換熱器的 出水口及換熱器的管壁;所測得溫度參數包括換熱器入水口溫度、換熱器出水口溫度及 換熱器的壁溫;采用智能SCL-61D超聲波流量計測量工質流速,其測點布置于換熱器 的出口;采用SC200多功能水質分析儀在線測量pH值、電導率、溶解氧及濁度;采用 CLU-S型液晶屏顯氯離子含量快速測定儀測定氯離子含量;采用IC7685系列離子濃度計 在線測量鈣離子濃度。所述監測系統采樣時間為1s~5min,可根據實驗要求靈活設定;兼 具有數據存儲、讀取、顯示及查詢功能;此外,系統還具有數據導出至Excel表功能,以 方便用戶查詢和進一步數據處理;
5)將所采集到的參數輸入西門子SIMATIC IPC547C工控機數據采集處理系統,進 行數據的記錄、保存及處理;其中將所采集的換熱器入水口溫度Tfi、出水口溫度Tfo及換 熱器長度l、直徑d代入如下公式計算污垢與介質間界面溫度Ts:
式中:St—斯坦頓數;
采用如下公式計算熱流密度q:
式中:cP—為介質比熱容,J/(kg·K);
ρ—為介質密度,kg/m3;
V—為介質平均流速,m/s;
再將公式(1)和公式(2)代入如下公式計算污垢熱阻:
式中:Twf—為管壁與污垢間的界面實測溫度,℃;
6)平滑調節所述交變磁場的頻率、功率,以獲得不同頻率下的水質參數及污垢熱阻 數據;
7)利用螺釘調節固定永磁體和活動永磁體間的間隙,平滑調節該可調永磁場的磁場 強度,以獲得不同磁場強度下的水質參數及污垢熱阻數據;
8)對上述所有工況所得數據進行對比分析,評定出最佳水處理效果所對應的工況, 確定該工況下所對應的工質流速、磁場強度、頻率等參數。
本發明基于組合式磁場的磁式水處理方法,工質依次通過組合式磁場裝置的螺線管 線圈建立的垂直或平行于工質流動方向的交變磁場和垂直于工質流動方向的永磁體建立 的可調永磁場,進行磁式水處理,通過改變交變磁場的強弱和調整固定永磁體和活動永 磁體間的間隙,達到最佳水處理效果。試驗過程中,在線監測水質參數、溫度、流速、 污垢熱阻等參數,并通過數據采集器輸入計算機以對整個過程的水處理效果進行記錄、 監測、評定,以確定最佳水處理效果所對應的磁場強度、頻率等參數。使用時,選定工 質,設定工質的流速、組合式磁場裝置的頻率、永磁體的數量和可調永磁場的磁場強度, 啟動水泵,將工質送至裝設有組合式磁場裝置的一段非導磁材料制成的水管,之后進入 管式換熱器進行熱交換,吸收熱量;同時,啟動在線監測系統,采集水質參數、溫度、 流速等信號,將信號輸入計算機計算污垢熱阻。調整變交變磁場的強弱和固定永磁體與 活動永磁體間的間隙,重復以上步驟,最終確定該工況下最佳抑垢效果所對應的可調永 磁場的強度、交變磁場頻率、功率等參數。具有針對性強、水處理參數確定快捷、效率 高、成本低的優點。







