申請日2013.08.29
公開(公告)日2015.03.18
IPC分類號B09B3/00; C02F11/00
摘要
一種污泥與有機廢棄物除臭及分解之處理劑及處理方法,是由一活化基質與一液體溶液混合而成處理劑,該活化基質的成分至少包含米糠、黃豆粉、蔗渣粉、苦茶粉、米酒、米醋、糖蜜,及至少包含鐵、鋁、鎂、硅四種微量礦物質的混合物,將上述各項成分依特定比例混合成為該活化基質;該液體溶液是將水液經以至少含乳酸菌、酵母菌及放射線菌等菌群活化后形成該液體溶液;將該活化基質與該液體溶液混合成為水溶液混合物即為處理劑;使用時,將該處理劑添加于20~300倍的水液中充分攪拌稀釋成為一稀釋處理劑,再將該稀釋處理劑充分施灑于一污泥或有機廢棄物堆上,以消除污泥或有機廢棄物的臭味及分解黏著狀物質,以提升脫水率。
權利要求書
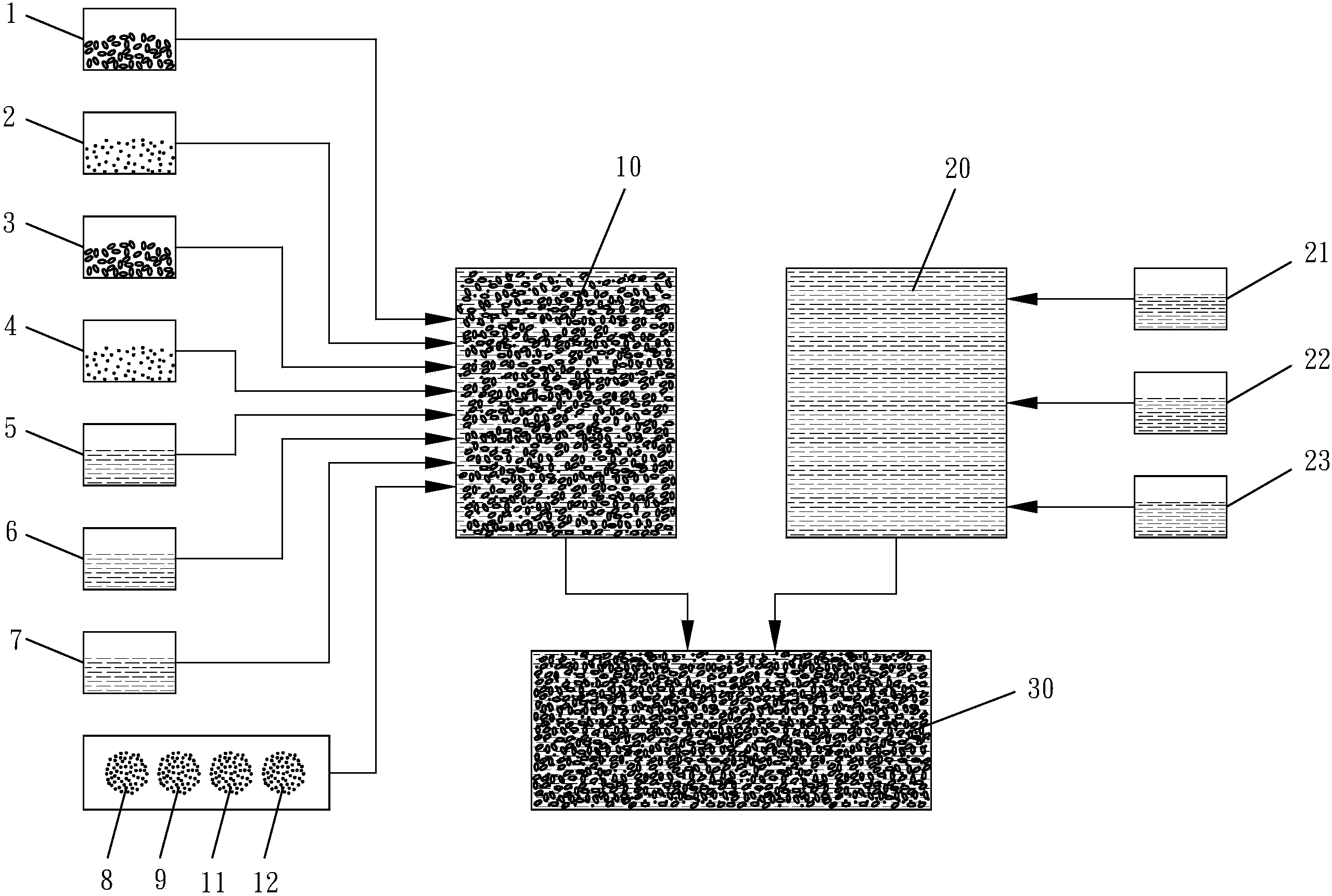
1.一種污泥與有機廢棄物除臭及分解之處理劑,由一活化基質與一液體溶液混合 而成;其特征在于:該活化基質的成分至少包含米糠、黃豆粉、蔗渣粉、苦茶 粉、米酒、米醋、糖蜜,及至少包含鐵、鋁、鎂、硅四種微量礦物質的混合物, 該米糠、黃豆粉、蔗渣粉及苦茶粉四項的組成比例是每一項的干重分別為0.1 至1.0重量百分比,該米酒和米醋的組成比例是為每一項分別為0.1至1.0重量 百分比,該糖蜜的組成比例為0.5至10.0重量百分比,該鐵、鋁、鎂、硅四種 礦物質混合物的組成比例為0.001至0.1重量百分比,將上述各項成分依上述比 例混合成為該活化基質;該液體溶液是將水液經以至少含乳酸菌、酵母菌及放 射線菌等菌群活化后形成該液體溶液;將該活化基質與該液體溶液混合成為水 溶液混合物即為處理劑。
2.根據權利要求1所述的污泥與有機廢棄物除臭及分解之處理劑,其特征在于: 將該處理劑添加于20~300倍的水液中充分攪拌稀釋成為一稀釋處理劑,再將該 稀釋處理劑充分施灑于一污泥或有機廢棄物堆上。
3.一種污泥與有機廢棄物除臭及分解之處理方法,其特征在于:步驟如下:
(1).制備一處理劑,該處理劑由一活化基質與一液體溶液混合而成;該活化基 質至少包含米糠、黃豆粉、蔗渣粉、苦茶粉、米酒、米醋、糖蜜,及至少包含 鐵、鋁、鎂、硅四種微量礦物質的混合物,其中,該米糠、黃豆粉、蔗渣粉及 苦茶粉四項的組成比例是每一項的干重分別為0.1至1.0重量百分比,該米酒和 米醋的組成比例是為每一項分別為0.1至1.0重量百分比,該糖蜜的組成比例為 0.5至10.0重量百分比,該鐵、鋁、鎂、硅四種礦物質混合物的組成比例為0.001 至0.1重量百分比;將上述各項成分依上述比例混合成為該活化基質;該液體 溶液是將水液經以至少含乳酸菌、酵母菌及放射線菌等菌群活化后形成該液體 溶液;將該活化基質與該液體溶液混合成為水溶液混合物即為處理劑;
(2).將該處理劑添加于20~300倍的水液中充分攪拌稀釋成為一稀釋處理劑;
(3).將該稀釋處理劑充分施灑于一污泥或有機廢棄物堆上。
說明書
污泥與有機廢棄物除臭及分解之處理劑及處理方法
【技術領域】
本發明是關于一種污泥與有機廢棄物除臭及分解之處理劑及處理方法,主 要是一種能有效消除或減緩污泥或有機廢棄物的臭味產生,同時能有效分解污 泥或有機廢棄物中的黏著狀物質的處理劑及處理方法。
【背景技術】
污泥或有機廢棄物所產生的臭味,主要來自其因厭氧作用逸散的硫化氫、 甲硫醇、二甲基硫及氨氣等氣體,當其逸散于大氣中時,味道經常令人們非常 難受。因此如何能有效消除污泥或有機廢棄物所產生的臭味,使其不致逸散或 者減緩逸散至空氣中,誠為重要。再者,污泥或有機廢棄物中常因所含微生物 會分解有機物,因而產生一些黏著狀物質,進而阻礙污泥或有機廢棄物的脫水 性;習知污泥或有機廢棄物的處理過程中,有利用板框式污泥脫水機進行脫水 的動作,即因其會產生黏著狀物質之故,使得一般經板框式污泥脫水機脫水后 的污泥,其含水量仍在70百分比至80百分比之間,明顯其脫水效率不佳。因 此如何能有效分解污泥或有機廢棄物中的黏著狀物質,使其不致阻礙污泥或有 機廢棄物的脫水性,同為重要。
【發明內容】
本發明的目的在于:1、提供一種能有效消除或減緩污泥或有機廢棄物的 臭味產生,同時能有效分解污泥或有機廢棄物中的黏著狀物質之處理劑及處理 方法;2、提供一種處理效率高、操作方便及費用低廉的污泥與有機廢棄物除臭 及分解的處理劑及處理方法,以惠及社會大眾。
為達致上述目的,本發明即提供一種污泥與有機廢棄物除臭及分解之處理 劑,是由一活化基質與一液體溶液混合而成;其中,該活化基質的成分至少包 含米糠、黃豆粉、蔗渣粉、苦茶粉、米酒、米醋、糖蜜,及至少包含鐵、鋁、 鎂、硅四種微量礦物質的混合物,該米糠、黃豆粉、蔗渣粉及苦茶粉四項的組 成比例是每一項的干重分別為0.1至1.0重量百分比,該米酒和米醋的組成比 例是為每一項分別為0.1至1.0重量百分比,該糖蜜的組成比例為0.5至10.0 重量百分比,該鐵、鋁、鎂、硅四種礦物質混合物的組成比例為0.001至0.1 重量百分比,將上述各項成分依上述比例混合成為該活化基質;該液體溶液是 將水液經以至少含乳酸菌、酵母菌及放射線菌等菌群活化后形成該液體溶液; 將該活化基質與該液體溶液混合成為水溶液混合物即為處理劑。
上述污泥與有機廢棄物除臭及分解的處理劑中,可將該處理劑添加于 20~300倍的水液中充分攪拌稀釋成為一稀釋處理劑,再將該稀釋處理劑充分施 灑于一污泥或有機廢棄物堆上。
為達致上述目的,本發明同時提供一種污泥與有機廢棄物除臭及分解之處 理方法,具體步驟如下:(1).制備一處理劑,該處理劑由一活化基質與一液體 溶液混合而成;該活化基質至少包含米糠、黃豆粉、蔗渣粉、苦茶粉、米酒、 米醋、糖蜜,及至少包含鐵、鋁、鎂、硅四種微量礦物質的混合物,其中,該 米糠、黃豆粉、蔗渣粉及苦茶粉四項的組成比例是每一項的干重分別為0.1至 1.0重量百分比,該米酒和米醋的組成比例是為每一項分別為0.1至1.0重量 百分比,該糖蜜的組成比例為0.5至10.0重量百分比,該鐵、鋁、鎂、硅四 種礦物質混合物的組成比例為0.001至0.1重量百分比;將上述各項成分依上 述比例混合成為該活化基質;該液體溶液是將水液經以至少含乳酸菌、酵母菌 及放射線菌等菌群活化后形成該液體溶液;將該活化基質與該液體溶液混合成 為水溶液混合物即為處理劑;(2).將該處理劑添加于20~300倍的水液中充分 攪拌稀釋成為一稀釋處理劑;(3).將該稀釋處理劑充分施灑于一污泥或有機廢 棄物堆上。
本發明優點及功效在于:本發明的處理劑可對污泥或有機廢棄物消除臭味 及分解黏著狀物質的機制,可應用于任何廣泛的污泥或有機廢棄物上,例如: 清除水溝的污泥、微藻殘渣廢棄物、堆肥場、垃圾場、焚化爐垃圾儲坑、水肥 場、化糞池、廢水池、養魚池(有污泥或有機廢棄物)、養蝦池(有污泥或有機廢 棄物),及其他任何會產生有機性臭味的場所。凡任何廣泛的污泥或有機廢棄物 上皆可利用本發明的處理劑以消除臭味及分解黏著狀物質。
本發明所制備的處理劑確可有效達成消除污泥或有機廢棄物臭味,及分解 污泥或有機廢棄物中黏著狀物質,以相對提升污泥或有機廢棄物脫水率的作用。 因此,本發明確為一種處理效率高、操作方便且費用低廉的處理劑及處理方法, 尤其本發明所制備的處理劑其成分皆為自然物質,對人體完全無毒害,操作使 用上令人十分安心,可使污泥與有機廢棄物除臭及分解的處理邁向一新里程碑, 以惠及社會大眾。







