申請日2016.05.09
公開(公告)日2016.11.30
IPC分類號E03F5/00; E03F5/10; E03F3/02
摘要
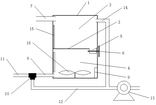
本實用新型涉及一種廢水儲存排放裝置,包括儲存排放箱,儲存排放箱中間設有隔板,隔板將儲存排放箱分為上下兩部分,隔板上方為緩沖區,隔板下方為排放區,隔板上還設有流通管,流通管上設有閥門,緩沖區的一側設有進水管,排放區的一側設有出水管,排放區內設有廢水檢測器,出水管上設有三通閥,三通閥另外兩端分別連接排放管和回流管,回流管上設有回流泵。本實用新型提供的貯存排放裝置,無需另外設置流量調節池,結構簡單,操作方便,降低了生產成本。
權利要求書
1.一種廢水儲存排放裝置,包括儲存排放箱,其特征在于,所述儲存排放箱中間設有隔板,隔板將儲存排放箱分為上下兩部分,隔板上方為緩沖區,隔板下方為排放區,所述隔板上還設有流通管,所述流通管上設有閥門,所述緩沖區的一側設有進水管,排放區的一側設有出水管,所述排放區內設有廢水檢測器,出水管上設有三通閥,三通閥另外兩端分別連接排放管和回流管,所述回流管上設有回流泵。
2.如權利要求1所述的廢水儲存排放裝置,其特征在于,所述緩沖區和排放區內均設有液位檢測器。
3.如權利要求1所述的廢水儲存排放裝置,其特征在于,所述排放區內設有攪拌裝置。
4.如權利要求1所述的廢水儲存排放裝置,其特征在于,所述緩沖區的上部還設有溢流管,所述溢流管與回流管相連。
說明書
廢水儲存排放裝置
技術領域
本實用新型涉及廢水處理領域,具體涉及一種廢水儲存排放裝置。
背景技術
在我國,工業廢水排放是造成我國水污染問題的主要原因;隨著我國面臨的日益嚴峻的水污染問題,如何減少廢水排放甚至實現廢水零排放就是非常迫切急需解決的問題;目前大多數的電廠、化工企業等對生產廢水是設置廢水處理池綜合處理,廢水處理池出水直接排放。但對于成分較復雜的生產廢水(含油廢水、化工廢水)其水質水量往往波動較大,處理后排放水不能達到排放標準,排放超標。
發明內容
為解決上述問題,本實用新型公開了一種廢水儲存排放裝置。
為了達到以上目的,本實用新型提供如下技術方案:
一種廢水儲存排放裝置,包括儲存排放箱,所述儲存排放箱中間設有隔板,隔板將儲存排放箱分為上下兩部分,隔板上方為緩沖區,隔板下方為排放區,所述隔板上還設有流通管,所述流通管上設有閥門,所述緩沖區的一側設有進水管,排放區的一側設有出水管,所述排放區內設有廢水檢測器,出水管上設有三通閥,三通閥另外兩端分別連接排放管和回流管,所述回流管上設有回流泵。
作為優選,所述緩沖區和排放區內均設有液位檢測器。
作為優選,所述排放區內設有攪拌裝置。
作為優選,所述緩沖區的上部還設有溢流管,所述溢流管與回流管相連。
本實用新型取得的有益效果為:
本實用新型通過在儲存排放箱內設置隔板,將儲存排放箱分為緩沖區和排放區兩個部分,廢水在排放區內進行混合、靜置和排放,緩存區起到儲存廢水和調節廢水流量的作用。使用本實用新型提供的貯存排放裝置,無需另外設置流量調節池,結構簡單,操作方便,降低了生產成本。



