申請日2016.05.09
公開(公告)日2016.11.30
IPC分類號F16K17/00; C02F11/12
摘要
本實用新型公布了一種用于污泥運輸的防空氣堵塞閥門,它包括閥門體,以及其兩端的閥門端蓋,閥門體的上方閥門端蓋上設置有出氣管安裝孔,其內配合安裝有下出氣管,且下出氣管上方連接有浮子腔,浮子腔上方設置有上出氣管,浮子腔內設置有用于堵塞上出氣管的可活動的浮子。本實用新型的目的是提供一種用于污泥運輸的防空氣堵塞閥門,防止空氣堵塞電機,便于排送污泥操作持續進行,而且結構簡單無需人工操作,自動進行空氣排放,方便自動化控制。
權利要求書
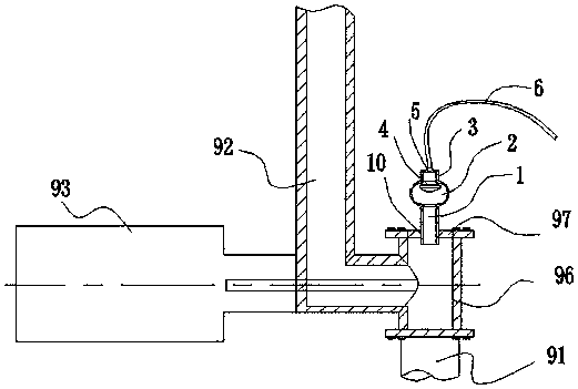
1.一種用于污泥運輸的防空氣堵塞閥門,它包括閥門體(96),以及其兩端的閥門端蓋(97),其特征在于,閥門體(96)的上方閥門端蓋(97)上設置有出氣管安裝孔(10),其內配合安裝有下出氣管(1),且下出氣管(1)上方連接有浮子腔(2),浮子腔(2)上方設置有上出氣管(3),浮子腔(2)內設置有用于堵塞上出氣管(3)的可活動的浮子(4)。
2.根據權利要求1所述的一種用于污泥運輸的防空氣堵塞閥門,其特征在于,所述上出氣管(3)上方設置有連接頭(5),且連接頭(5)末端連接有出氣軟管(6)。
3.根據權利要求2所述的一種用于污泥運輸的防空氣堵塞閥門,其特征在于,所述連接頭(5)上設置有開關閥門。
4.根據權利要求1所述的一種用于污泥運輸的防空氣堵塞閥門,其特征在于,所述出氣軟管(6)為橡膠軟管。
5.根據權利要求1所述的一種用于污泥運輸的防空氣堵塞閥門,其特征在于,所述浮子(4)下端為球形結構,其上表面梯形錐臺結構。
說明書
一種用于污泥運輸的防空氣堵塞閥門
技術領域
本實用新型屬于污水處理領域,涉及管道排放領域,具體為一種用于污泥運輸的防空氣堵塞閥門。
背景技術
在現有的污水處理過程中,對于處理后期殘留的污泥通常會作污泥脫水干化處理。如圖1所示,在污泥脫水過程中通常采用的做法是,首先將待干化的污泥儲存在污泥儲存池90中,然后在排泥電機93的作用下,依次通過排泥管91以及送泥管92運輸到干化處理的設備中進行脫水干化處理;其中第一閥門開關94與第二閥門開關95用于檢修管道之用。
但是在此種操作的過程中,由于污泥儲存池90儲存的污泥比較多,而且是先儲存后脫水干化;這樣當排泥電機93抽完污泥儲存池90內的污泥后,在再次儲存污泥的過程中,在排泥電機93所在的抽排管道內會集聚大量的空氣,由于空氣的存在將使電機抽排失效;現有的做法是關閉兩處閥門,然后打開閥門體96的閥門端蓋97進行排氣,如此操作非常不便,效率低下,不利于干化操作的持續進行,而且不利于自動化控制。
實用新型內容
本實用新型的目的是針對以上問題,提供一種用于污泥運輸的防空氣堵塞閥門,防止空氣堵塞電機,便于排送污泥操作持續進行,而且結構簡單無需人工操作,自動進行空氣排放,方便自動化控制。
為實現以上目的,本實用新型采用的技術方案是:一種用于污泥運輸的防空氣堵塞閥門,它包括閥門體(96),以及其兩端的閥門端蓋(97),閥門體(96)的上方閥門端蓋(97)上設置有出氣管安裝孔(10),其內配合安裝有下出氣管(1),且下出氣管(1)上方連接有浮子腔(2),浮子腔(2)上方設置有上出氣管(3),浮子腔(2)內設置有用于堵塞上出氣管(3)的可活動的浮子(4)。
進一步的,所述上出氣管(3)上方設置有連接頭(5),且連接頭(5)末端連接有出氣軟管(6)。
進一步的,所述連接頭(5)上設置有開關閥門。
進一步的,所述出氣軟管(6)為橡膠軟管。
進一步的,所述浮子(4)下端為球形結構,其上表面梯形錐臺結構。
本實用新型的有益效果:本實用新型提供了一種用于污泥運輸的防空氣堵塞閥門,防止空氣堵塞電機,便于排送污泥操作持續進行,而且結構簡單無需人工操作,自動進行空氣排放,方便自動化控制。



