申請日2016.05.09
公開(公告)日2016.11.16
IPC分類號B01F5/02; B01F3/04; C02F1/00
摘要
根據本發明的用于凈化廢水的微氣泡型擴散器,能夠當將流入廢水腔室內部的增壓廢水噴射到與廢水腔室隔離的混合腔室時,通過由于流經間隙的空氣的流入速度的增加而引起的廢水和空氣之間的接觸面積的增加來提高廢水與空氣的混合效率。用于凈化廢水的微氣泡型擴散器包括:管狀主體,其上部分和下部分是敞開的;上蓋,覆蓋主體的上部分以在其中形成廢水腔室;下蓋,覆蓋主體的下部分以在其中形成氣體停留腔室和混合腔室;噴射器,安裝在主體的下部分和下蓋之間,其中噴射器包括板和多個噴嘴頭,噴嘴頭形成在板的中心部分以限定用于將廢水噴射到混合腔室的傾斜廢水通道,流經空氣進入通道的空氣和從噴嘴頭噴射的廢水彼此攪拌和相撞以流入到混合腔室中。
權利要求書
1.一種用于凈化廢水的微氣泡型擴散器,包括:
管狀的主體,所述主體的上部分和下部分是敞開的;
上蓋,所述上蓋覆蓋所述主體的上部分以在其中形成廢水腔室;
下蓋,所述下蓋覆蓋所述主體的下部分以在其中形成氣體停留腔室和混合腔室;以及
噴射器,所述噴射器安裝在所述主體的下部分和所述下蓋之間,
其中,所述噴射器包括板和多個噴嘴頭,所述多個噴嘴頭形成在所述板的中心部分以限定傾斜的廢水通道,所述廢水通道用于將廢水噴射到所述混合腔室,并且
在將廢水從所述廢水腔室噴射到所述混合腔室期間,流經空氣進入通道的空氣和從所述噴嘴頭噴射的廢水彼此攪拌和相撞以流入到所述混合腔室中。
2.根據權利要求1所述的用于凈化廢水的微氣泡型擴散器,其中,所述板具有以環形形狀在所述板中形成的多個噴射孔,所述多個噴嘴頭插入所述多個噴射孔中,并且
每個噴嘴頭朝向所述混合腔室的進口突出,并且形成為具有從噴嘴頭的進口朝向噴嘴頭的出口逐漸減小的橫截面面積的錐形形狀。
3.根據權利要求2所述的用于凈化廢水的微氣泡型擴散器,其中,所述噴嘴頭的進口的橫截面面積與所述噴嘴頭的出口的橫截面面積的比例為1:0.1到1:0.9。
4.根據權利要求1所述的用于凈化廢水的微氣泡型擴散器,其中,所述混合腔室包括多孔盤,所述多孔盤安裝在所述混合腔室的進口中,并且
所述多孔盤具有在其中形成的流入孔,所述流入孔用于空氣流入到從所述噴嘴頭噴射的廢水中。
5.根據權利要求4所述的用于凈化廢水的微氣泡型擴散器,其中,所述流入孔的橫截面面積與所述噴嘴頭的橫截面面積的比例為1.5:1到1.7:1。
6.根據權利要求1所述的用于凈化廢水的微氣泡型擴散器,其中,所述多個噴嘴頭偏斜地安裝,以使得從所述噴嘴頭噴射的廢水在旋轉的同時在一個集中點處被集中,并且
基于所述集中點,所述噴嘴頭的傾斜角度在豎直方向上為2°到20°,在水平方向上為1°到20°。
7.根據權利要求1所述的用于凈化廢水的微氣泡型擴散器,還包括安裝在所述廢水腔室的內部的清潔器,
其中所述清潔器包括:舉升主體,其在所述廢水腔室中豎直地上升和下降;針桿,其形成在所述舉升主體的下端部上,以被插入到所述噴嘴頭的廢水通道中;以及隔膜,其耦接至所述舉升主體,以根據施加到所述隔膜的外力而使所述舉升主體上升和下降,并且
通過控制填充在被所述隔膜和所述上蓋包圍的封閉空間中的操作流體的供給來使所述舉升主體的針桿上升和下降。
8.根據權利要求7所述的用于凈化廢水的微氣泡型擴散器,其中,所述清潔器包括導向桿,所述導向桿的一側固定至所述上蓋,其中所述導向桿插入到形成在所述舉升主體中的導向孔中,以對所述舉升主體的豎直運動進行引導。
9.根據權利要求7所述的用于凈化廢水的微氣泡型擴散器,其中,所述隔膜的外邊緣固定至所述上蓋和所述主體之間的耦接部分,并且所述隔膜的內邊緣通過固定螺母緊固至所述舉升主體的舉升主體頭部。
10.根據權利要求7所述的用于凈化廢水的微氣泡型擴散器,其中,打開和關閉裝置安裝在流體進口端口中,所述流體進口端口與所述上蓋的封閉空間連通,以便根據所述打開和關閉裝置的控制將所述操作流體供給到所述封閉空間。
11.根據權利要求1所述的用于凈化廢水的微氣泡型擴散器,其中,所述下蓋具有在其中形成的噴射廢水流入管,并且
一延伸管道耦接至所述噴射廢水流入管的出口側。
12.根據權利要求11所述的用于凈化廢水的微氣泡型擴散器,其中,所述延伸管道在其縱向方向上延伸一預定長度,并且形成為使得其直徑在距所述噴射廢水流入管的距離增加時增加,
所述延伸管道中的進口的直徑與出口的直徑的比例被設定為1:1.5到1:3.0,并且
所述延伸管道具有被設定為比其進口直徑長10到30倍的長度。
13.根據權利要求11所述的用于凈化廢水的微氣泡型擴散器,還包括傳輸管道,所述傳輸管道連接至所述延伸管道的出口側,以傳輸在所述混合腔室中混合的廢水和流入空氣的混合物。
14.根據權利要求13所述的用于凈化廢水的微氣泡型擴散器,其中,所述傳輸管道在其縱向方向上延伸一預定長度,且所述傳輸管道的出口側上的端部部分是彎曲的,并且傳輸管道出口是彎曲的以便在預定高度處平行于廢水處理罐的底部,而且
所述傳輸管道的直徑形成在比所述延伸管道的出口的直徑大1.1到1.5倍的范圍內,并且所述傳輸管道出口具有設定成1m或更大的曲率半徑。
15.根據權利要求1所述的用于凈化廢水的微氣泡型擴散器,其中,廢水止回閥安裝在所述空氣進入通道中,以防止所述廢水流回到所述空氣進入通道。
說明書
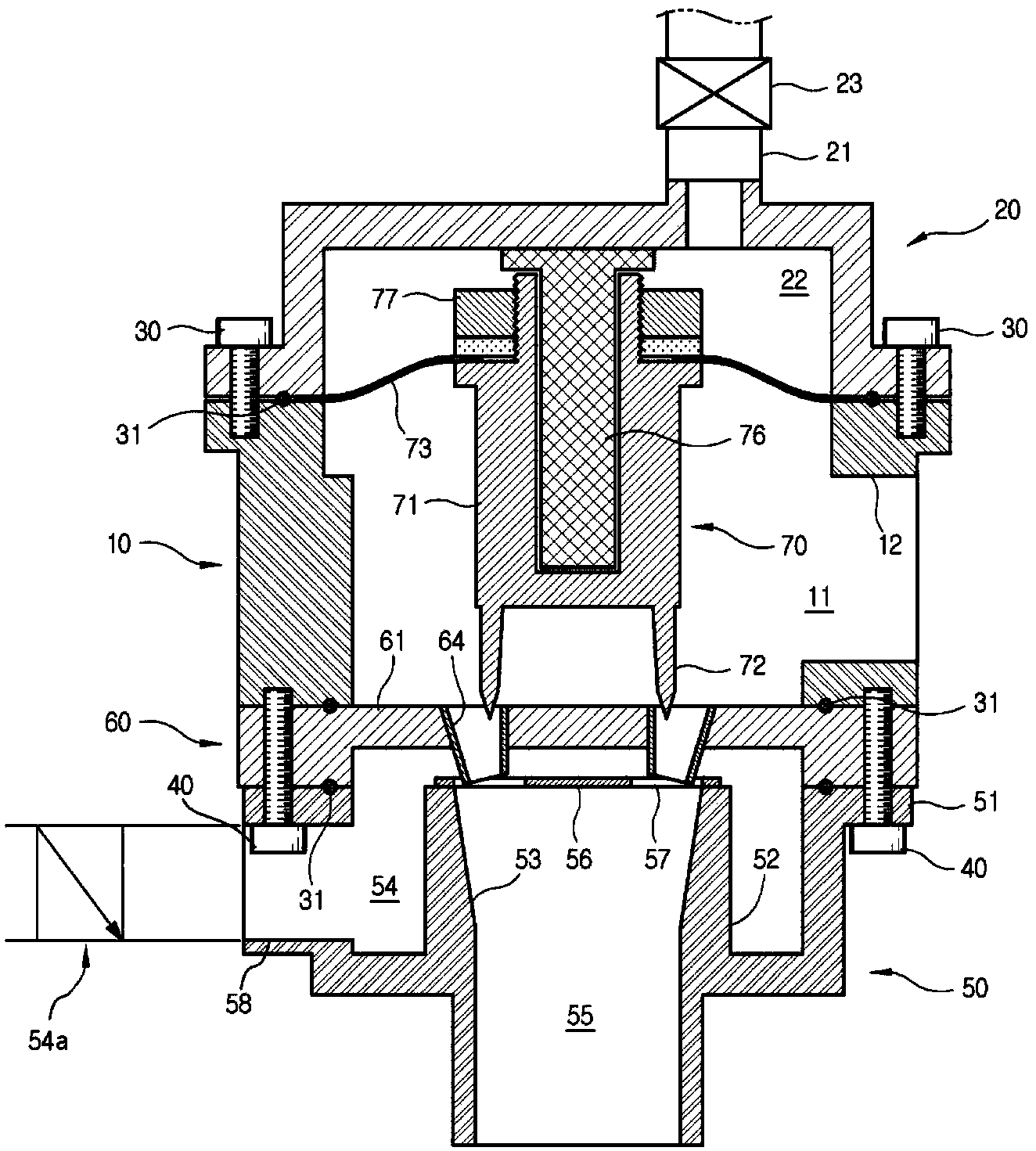
用于凈化廢水的微氣泡型擴散器
技術領域
本發明涉及用于凈化廢水的微氣泡型擴散器,尤其涉及能夠通過增加廢水與空氣之間的接觸面積來改進被污染廢水的凈化效率的用于凈化廢水的微氣泡型擴散器,其中接觸面積的增加是由于:在將廢水腔室內部流動的增壓廢水噴射到與廢水腔室隔離的混合腔室時,流經形成在噴嘴頭(位于混合腔室的進口中)周圍的間隙的空氣的流入速度增加了。
背景技術
隨著現代工業的快速發展,每天傾倒的大量工業廢棄物、食品廢棄物、污水和家庭污水,以及農業、畜牧業和漁業廢棄物導致二次環境污染,即,土壤酸化和難聞的氣味。因此,其治理正顯著成為環境相關的首要問題。
當排放高濃度廢水時(因為沒有凈化該高濃度廢水),由于多種有機物質、微生物、有毒化合物等等,可能發生富營養化等,從而導致水域生態系統的破壞,以及對人類的嚴重傷害。
在相關領域的活性污泥處理中,由于使用單獨的泵將空氣噴射到擴散器中,因此存在以下問題:需要很多動力,氣泡和廢水之間的接觸面積是小的,并且氧氣完全溶解在廢水中所需的停留時間是不夠的。
而且,在傳統的微氣泡型擴散器中,當在設備中發生堵塞現象時(由于待被多種類型的材料處理的被污染流體的特性)難以使用設備,并且存在諸如制造成本非常昂貴的缺點。為了在設備發生堵塞現象之前將累積在設備內部的殘余物或異物移除,有必要頻繁地清潔設備,但是用戶應該一個接一個拆卸和重新裝配設備,這是麻煩的。特別地,在畜牧業廢水的情況,由于動物皮毛,通道之間的堵塞現象頻繁地發生
為了解決上述問題,由本申請人提交并且被授權的韓國專利登記號10-1108279公開了一種微氣泡型擴散器,其中流進擴散器中的增壓廢水與空氣彼此攪拌和相撞以生成微氣泡,通過使用安裝在擴散器內部的清潔器來擴大通道,并且水的流動是變化的,從而防止由于廢水殘余物或異物引起的通道堵塞現象的發生。
上述專利具有通過豎直地安裝在擴散器的中心部分處的空氣供給管道而將空氣供給到空氣和廢水混合腔室中的配置,并且需要改變擴散器的內部結構以進一步增加空氣和廢水之間的接觸面積(因為由于結構特性,空氣和廢水之間的接觸面積被大大限制了)。
另外,上述專利包括用于清潔廢水通道的清潔器。然而,當由于長期使用異物或殘余物沉積在通道的內壁上時,不可能通過簡單改變水的流動來完全穿透通道。因此,仍然需要一種能夠防止通道堵塞并且能夠簡單清潔通道的改進的清潔方法。
發明內容
因此,本發明的目標是提供一種用于凈化廢水的微氣泡型擴散器,其中噴射器安裝在廢水腔室和混合室之間,并且噴射器的多個噴嘴頭位于混合腔室的進口中,使得可以通過增加流經在各噴嘴頭周圍形成的間隙的空氣的流入速度而增加從噴嘴頭噴射的廢水與空氣的混合效率。
本發明的另一目標是提供一種用于凈化廢水的微氣泡型擴散器,其能夠通過驅動舉升主體來防止由于流動通道堵塞而引起的失效,其中舉升主體能夠在廢水腔室內部上升和下降,以通過在舉升主體的下端部處形成的針桿來移除累積在限定廢水通道的噴嘴頭上的殘余物。
為了完成上升目標,提供了一種用于凈化廢水的微氣泡型擴散器,包括:管狀的主體,主體的上部分和下部分是敞開的;上蓋,該上蓋覆蓋主體的上部分以在其中形成廢水腔室;下蓋,該下蓋覆蓋主體的下部分以在其中形成氣體停留腔室和混合腔室;以及噴射器,該噴射器安裝在主體的下部分和下蓋之間,其中噴射器包括板和多個噴嘴頭,噴嘴頭形成在板的中心部分中以限定用于將廢水噴射到混合腔室的傾斜的廢水通道,并且在將廢水從廢水腔室噴射到混合腔室期間,流經空氣進入通道的空氣和從噴射頭噴射的廢水被攪拌并彼此相撞以流入混合腔室中。
文中,板可以具有以環形形狀在板中形成的多個噴射孔,多個噴嘴頭插入到噴射孔中,并且每個噴嘴頭可以朝向混合腔室的進口突出,并且可以形成為具有從噴嘴頭的進口朝向噴嘴頭的出口逐漸減小的橫截面面積的錐形形狀。
進一步地,噴嘴頭的進口的橫截面面積與噴嘴頭出口的橫截面面積的比例可以為1:0.1到1:0.9。
進一步地,混合腔室可以包括安裝在其進口中的多孔盤,并且多孔盤可以具有在其中形成的流入孔,流入孔用于空氣流入到從噴嘴頭噴射的廢水中。
進一步地,流入孔的橫截面面積與噴嘴頭的橫截面面積的比例可以是1.5:1到1.7:1。
進一步地,多個噴嘴頭可以偏斜地安裝,以使得從噴嘴頭噴射的廢水在旋轉的同時在一個集中點處被集中,并且基于集中點,噴嘴頭的傾斜角度的豎直角度P可以為2°到20°,水平角度H可以為1°到20°。
進一步地,用于凈化廢水的微氣泡型擴散器還可以包括安裝在廢水腔室內部的清潔器,其中清潔器包括:舉升主體,其在廢水腔室中豎直地上升和下降;針桿,形成在舉升主體的下端部上,以被插入到噴嘴頭的廢水通道中;以及隔膜,其耦接至舉升主體以根據施加到隔膜的外力而使舉升主體上升和下降,并且通過控制填充在被隔膜和上蓋包圍的封閉空間中的操作流體的供給使舉升主體的針桿上升和下降。
進一步地,清潔器可以包括導向桿,導向桿的一側固定至上蓋,其中導向桿可以插入到形成在舉升主體中的導向孔中,以對舉升主體的豎直運動進行引導。
進一步地,隔膜的外邊緣可以固定至上蓋和主體之間的耦接部分,并且隔膜的內邊緣可以通過固有螺母緊固至舉升主體的舉升主體頭部。
進一步地,打開和關閉裝置可以安裝在流體進口端口中,流體進口端口與上蓋的封閉空間連通,以便根據打開和關閉裝置的控制將操作流體供給到封閉空間。
進一步地,下蓋可以具有在其中形成的噴射廢水流入管,并且延伸管道耦接至噴射廢水流入管的出口側。
進一步地,延伸管道可以在其縱向方向上延伸一預定長度,并且可以形成為使得其直徑在距噴射廢水流入管的距離增加時增加,延伸管道中的進口的直徑與出口的直徑的比例被設定成1:1.5到1:3.0,并且延伸管道具有設定為比其進口的直徑長10到30倍的長度。
進一步地,用于凈化廢水的微氣泡型擴散器還可以包括傳輸管道,傳輸管道連接至延伸管道的出口側,以傳輸在混合腔室中混合的廢水和流入空氣的混合物。
進一步地,傳輸管道可以在其縱向方向上延伸一預定長度,且其出口側上的端部部分可以是彎曲的,并且傳輸管道出口可以是彎曲的,以便在預定的高度處平行于廢水處理罐的底部,而且傳輸管道的直徑形成在比延伸管道的出口的直徑大1.1到1.5倍的范圍內,并且傳輸管道出口具有設定成1m或更大的曲率半徑。
進一步地,在傳輸管道的長度延伸一預定長度或更多,并且微氣泡型擴散器安裝在廢水表面上方(即,地上部分)的情況下,在空氣泵操作或停止期間,特別是在空氣泵停止期間,由于空氣進入通道瞬間保持為真空,因此高增壓廢水流回到真空狀態中的空氣進入通道。廢水止回閥可以安裝在空氣進入通道中以防止廢水如上述地流回到空氣進入通道。
根據本發明的用于凈化廢水的微氣泡具有以下配置:其中用于噴射廢水的布置成環形形狀的多個噴嘴頭是偏斜安裝的,使得噴射到混合腔室內部的廢水在一個集中點處聚集,并且多個流入孔位于用來限定傾斜廢水通道的多個噴嘴頭的附近,使得空氣流經在各噴嘴頭周圍形成的間隙。通過上述流入結構,可以通過由于流經間隙的空氣的流入速度的增加而引起的廢水和空氣之間的接觸面積的增加來提高廢水與空氣的混合效率。
根據本發明的微氣泡型擴散器可以使用安裝在廢水腔室內部的具有簡單結構的清潔器來防止廢水通道的堵塞現象的發生,從而可以減小制造和操作成本。
此外,本發明采用了機械方法,其中形成在清潔器的舉升主體上的針桿類似于用針刺穿地插入到噴嘴頭的廢水通道中,從而可以恰當地進行頻繁的清潔操作,并且提高耐久性和便于使用。
進一步地,根據本發明的微氣泡型擴散器包括連接到其下蓋的延伸管道,從而可以增加廢水的噴射速度。
而且,根據本發明,微氣泡型擴散器安裝在廢水處理罐外,并且可以使用傳輸管道將廢水和流入空氣的混合物傳輸到廢水處理罐的底部,從而可以安裝微氣泡型擴散器而不考慮安裝環境的限制,并且可以易于進行安裝在外面的微氣泡型擴散器的清潔工作以及維護。



