申請日2016.05.09
公開(公告)日2016.09.14
IPC分類號C02F9/14
摘要
本實用新型公開了一種小型一體化生活污水處理設備,包括主箱體,主箱體內部設置的三塊隔板將主箱體分隔為依次連接的缺氧池、好氧池、沉淀池和清水池,缺氧池連通進水口,底部設置有穿孔布水管和穿孔曝氣管,上部通過污水導管連通好氧池;好氧池與沉淀池之間設有空氣提升器,好氧池上部水平設置有污泥回流管,污泥回流管一端連通空氣提升器,另一端穿過好氧池與缺氧池連通;沉淀池與清水池之間設置有用于好氧池內污水和沉淀池內污泥流過的通道;清水池連通出水口。本實用新型利用空氣提升器將沉淀池的污泥回流至缺氧池,提高沉淀池的利用率,可用于處理較小水量的生活污水,設備投資少、體積小,污水處理效果好,且操作簡單,維護方便。
權利要求書
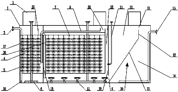
1.一種小型一體化生活污水處理設備,包括主箱體,所述主箱體內部依次設置有第一隔板、第二隔板和第三隔板,將所述主箱體分隔為依次連接的缺氧池、好氧池、沉淀池和清水池,其特征在于:
所述缺氧池的一側的上部設置有進水口,所述進水口通過進水管道連通所述缺氧池底部縱向設置的穿孔布水管;所述缺氧池的底部還橫向設置有穿孔曝氣管;
所述第一隔板上設置有污水導管,所述污水導管的下端伸入到所述好氧池的底部;
所述第二隔板的下部設置有空氣提升器,所述好氧池的上部水平設置有污泥回流管,所述好氧池與所述第二隔板之間還設置有提升導管,所述污泥回流管的一端通過所述提升導管連通所述空氣提升器,另一端穿過所述第一隔板伸入到所述缺氧池下部;
所述第三隔板包括上部豎直設置的清水溢流板和下部由所述沉淀池向所述好氧池傾斜延伸的污泥導流板;所述第二隔板設置于所述污泥導流板與所述主箱體的底端相結合位置的上方,且所述第二隔板的底端與所述主箱體的底部之間設置有用于所述好氧池內污水和所述沉淀池內污泥流過的通道;
所述清水溢流板的頂端與所述主箱體頂部之間設置有用于所述沉淀池內清水自流入所述清水池的清水溢流口;
所述清水池的另一側的上部設置有出水口。
2.根據權利要求1所述的小型一體化生活污水處理設備,其特征在于:所述好氧池靠近所述沉淀池一側的上部設置有污泥溢流堰,所述污泥溢流堰的一端與所述提升導管連通,另一端與所述污泥回流管連通。
3.根據權利要求2所述的小型一體化生活污水處理設備,其特征在于:所述缺氧池上部靠近所述污水導管處還設置有缺氧池溢流堰板。
4.根據權利要求1-3任一項所述的小型一體化生活污水處理設備,其特征在于:所述好氧池底部設置有微孔曝氣系統。
5.根據權利要求4所述的小型一體化生活污水處理設備,其特征在于:所述缺氧池與所述好氧池內均設置有高效生物填料。
6.根據權利要求5所述的小型一體化生活污水處理設備,其特征在于:所述缺氧池的上方、所述好氧池的上方以及所述沉淀池和所述清水池共同的上方分別設置有人孔。
說明書
一種小型一體化生活污水處理設備
技術領域
本實用新型涉及污水處理設備技術領域,尤其涉及一種小型一體化生活污水處理設備。
背景技術
隨著國家對環境保護的投入,農村地區的污水處理逐漸提上日程。但是農村地區污水處理存在一個較大的難題是農村分布比較散亂,污水收集比較困難。按照常規的接觸氧化法或者MBR工藝制作污水處理設備,會因為污水水量過小,設備內各工段間距較小導致不方便制作,而設備過小又易導致沉淀池沉淀效果差,出水水質波動大。在此情況下,小型的生活污水處理設備作為一種簡單有效的污水處理設備越來越被廣泛的應用。
發明內容
針對以上技術缺陷,本實用新型所要解決的技術問題是提供一種小型一體化生活污水處理設備,該設備結構簡單、設備體積小、操作維護方便,可應用于較小水量生活污水的處理。
為了解決上述技術問題,本實用新型采用的技術方案是:
一種小型一體化生活污水處理設備,包括主箱體,所述主箱體內部依次設置有第一隔板、第二隔板和第三隔板,將所述主箱體分隔為依次連接的缺氧池、好氧池、沉淀池和清水池,
所述缺氧池的一側的上部設置有進水口,所述進水口通過進水管道連通所述缺氧池底部縱向設置的穿孔布水管;所述缺氧池的底部還橫向設置有穿孔曝氣管;
所述第一隔板上設置有污水導管,所述污水導管的下端伸入到所述好氧池的底部;
所述第二隔板的下部設置有空氣提升器,所述好氧池的上部水平設置有污泥回流管,所述好氧池與所述第二隔板之間還設置有提升導管,所述污泥回流管的一端通過所述提升導管連通所述空氣提升器,另一端穿過所述第一隔板伸入到所述缺氧池的下部;
所述第三隔板包括上部豎直設置的清水溢流板和下部由所述沉淀池向所述好氧池傾斜延伸的污泥導流板;所述第二隔板設置于所述污泥導流板與所述主箱體的底端相結合位置的上方,且所述第二隔板的底端與所述主箱體的底部之間設置有用于所述好氧池內污水和所述沉淀池內污泥流過的通道;
所述清水溢流板的頂端與所述主箱體頂部之間設置有用于所述沉淀池內清水自流入所述清水池的清水溢流口;
所述清水池的另一側的上部設置有出水口。
作為一種改進方案,所述好氧池靠近所述沉淀池一側的上部設置有污泥溢流堰,所述污泥溢流堰的一端與所述提升導管連通,另一端與所述污泥回流管連通。
作為一種改進方案,所述缺氧池上部靠近所述污水導管處還設置有缺氧池溢流堰板。
作為一種改進方案,所述好氧池底部設置有微孔曝氣系統。
其中,所述缺氧池與所述好氧池內均設置有高效生物填料。
其中,所述缺氧池的上方、所述好氧池的上方以及所述沉淀池和所述清水池共同的上方分別設置有人孔。
采用了上述技術方案后,本實用新型的有益效果是:
本實用新型提供的小型一體化生活污水處理設備,包括主箱體,主箱體內部依次設置有第一隔板、第二隔板和第三隔板,將主箱體分隔為依次連接的缺氧池、好氧池、沉淀池和清水池,缺氧池的一側的上部設置有進水口,進水口通過進水管道連通缺氧池底部縱向設置的穿孔布水管;缺氧池的底部還橫向設置有穿孔曝氣管;第一隔板上設置有污水導管,污水導管的下端伸入到好氧池的底部;第二隔板的下部設置有空氣提升器,好氧池的上部水平設置有污泥回流管,好氧池與第二隔板之間還設置有提升導管,污泥回流管的一端通過提升導管連通空氣提升器,另一端穿過第一隔板伸入到缺氧池下部;第三隔板包括上部豎直設置的清水溢流板和下部由沉淀池向好氧池傾斜延伸的污泥導流板;第二隔板設置于污泥導流板與主箱體的底端相結合位置的上方,且第二隔板的底端與主箱體的底部之間設置有用于好氧池內污水和沉淀池內污泥流過的通道; 清水溢流板的頂端與主箱體頂部之間設置有用于沉淀池內清水自流入清水池的清水溢流口;清水池的另一側的上部設置有出水口。上述結構使得本實用新型與現有技術相比具有如下優點:
1.進水口通過進水管道連通缺氧池底部縱向設置的穿孔布水管,此結構可起到均勻布水和攪拌的作用,使污水中的有機物和微生物充分接觸,提高處理效率。
2.缺氧池的底部橫向設置有穿孔曝氣管, 可利用穿孔曝氣產生的氣泡定時攪拌缺氧池底部沉淀的污泥,防止污泥沉積進而減少與污水的接觸面積影響處理效果,同時方便缺氧池內的微生物在缺氧狀態下將大分子的有機物水解為小分子的有機物,在降解一部分有機物的同時也提高了污水的可生化性。
3.第二隔板的下部設置有空氣提升器,好氧池的上部水平設置有污泥回流管,好氧池與第二隔板之間還設置有提升導管,污泥回流管的一端通過提升導管連通空氣提升器,另一端穿過第一隔板與缺氧池連通,利用空氣提升器將污泥提升通過污泥回流管將污泥回流至缺氧池,替代污泥回流泵回流污泥,不破壞絮狀污泥的活性,提高處理效率的同時提高沉淀池的利用率。
4.第三隔板包括上部豎直設置的清水溢流板和下部由沉淀池向好氧池傾斜延伸的污泥導流板;第二隔板設置于污泥導流板與主箱體的底端相結合位置的上方,且第二隔板的底端與主箱體的底部之間設置有用于好氧池內污水和沉淀池內污泥流過的通道,此結構可使沉淀池沉淀的污泥沿污泥導流板下方的通道自流至空氣提升器下方,污泥由空氣提升器提升沿污泥回流管回流至缺氧池,通過周而復始的循環,實現污泥的自動回流,防止污泥流失并完成污水凈化的工作。
由于好氧池靠近沉淀池一側的上部設置有污泥溢流堰,污泥溢流堰的一端與提升導管連通,另一端與污泥回流管連通,污泥溢流堰的設置可使由空氣提升器提升至好氧池上方的污泥沿污泥回流管回流至缺氧池,保證污泥的流向, 進而保證污泥的處理效率。
由于缺氧池上部靠近污水導管處還設置有缺氧池溢流堰板,可使缺氧池上部的污水自流至污水導管進入好氧池進行好氧處理,保證污水的流向及污水處理效率。
由于好氧池底部設置有微孔曝氣系統,可為好氧池提供一定的溶解氧,方便好氧池內的好氧微生物將有機物氧化為CO2和H2O,降低污水中的有機物含量。
由于缺氧池的上方、好氧池的上方以及沉淀池和清水池共同的上方分別設置有人孔,方便對每個區域分別進行檢修,操作方便、靈活。
綜上所述,本實用新型的小型一體化生活污水處理設備解決了小水量污水處理時常規水處理設備因為污水水量過小導致設備內各工段間距較小不方便制作以及沉淀池沉淀效果差影響出水水質的缺陷,利用空氣提升器將沉淀池的污泥回流至缺氧池,提高沉淀池的利用率,可用于處理較小水量的生活污水,設備投資少、體積小,污水處理效果好,且操作簡單,維護方便。



