申請日2016.05.09
公開(公告)日2016.10.12
IPC分類號B01F7/24; B01F15/06; B01F15/00; C02F11/04
摘要
一種消化池污泥攪拌機,它涉及環保設備技術領域;它包含電機、變速裝置、電機支架、聯軸器、上軸承體、轉軸、殼體、下軸承體、擋水板、螺旋形連續葉輪、葉輪螺母、射流器;所述的殼體內設置有轉軸,轉軸的上部連接有上軸承體,轉軸的上端通過聯軸器與電機的輸出軸連接,電機與變速裝置連接,且電機和變速裝置設置在電機支架上;所述的轉軸上還設置有下軸承體,下軸承體的下方設置有擋水板,擋水板的下方設置有螺旋形連續葉輪,螺旋形連續葉輪下端連接有葉輪螺母;所述的擋水板上設置有數個射流器。本實用新型螺旋葉片優秀的水力性能,整機運轉效率高達87.5%,而三葉片葉輪的整機效率僅為71%,運轉能耗、費用大大降低。
權利要求書
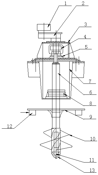
1.一種消化池污泥攪拌機,其特征在于:它包含電機、變速裝置、電機支架、聯軸器、上軸承體、轉軸、殼體、下軸承體、擋水板、螺旋形連續葉輪、葉輪螺母、射流器;所述的殼體內設置有轉軸,轉軸的上部連接有上軸承體,轉軸的上端通過聯軸器與電機的輸出軸連接,電機與變速裝置連接,且電機和變速裝置設置在電機支架上;所述的轉軸上還設置有下軸承體,下軸承體的下方設置有擋水板,擋水板的下方設置有螺旋形連續葉輪,螺旋形連續葉輪下端連接有葉輪螺母;所述的擋水板上設置有數個射流器。
2.根據權利要求1所述的一種消化池污泥攪拌機,其特征在于:所述的葉輪螺母底部設置有錐體狀的加熱裝置。
3.根據權利要求1所述的一種消化池污泥攪拌機,其特征在于:所述的攪拌機配備有卵狀的消化池和試驗裝置;所述的試驗裝置包含支架、流量收集器、流量計、吸入管、測壓計;所述的殼體的外周套設有支架,支架下端連接有流量收集器,流量收集器的側壁連接有流量計,流量收集器的下端連接有吸入管,吸入管上安裝有測壓計。
4.根據權利要求3所述的一種消化池污泥攪拌機,其特征在于:所述的流量計為超聲波流量計。
5.根據權利要求3所述的一種消化池污泥攪拌機,其特征在于:所述的測壓計設置在與螺旋形連續葉輪出口平行的位置。
說明書
一種消化池污泥攪拌機
技術領域
本實用新型涉及環保設備技術領域,具體涉及一種消化池污泥攪拌機。
背景技術
污泥處理問題是污水處理中較為復雜的問題,一個城市的污水處理廠所產生的污泥約為污水體積的0.5%但污泥處理的費用幾乎與污水處理的費用相當。污泥處理的費用之所以高主要是因為污泥處理過程復雜設備價格昂貴設備的運行、維護費用高處理后的污泥要有合理的出路等。其中因設備的價格昂貴運轉效率低可靠性差等造成的運行和維護費用的大量投入是污泥處理費用高的一個重要方面。
消化池中的污泥主要是初沉池、二沉池等產生的污泥經過濃縮后的產物濃縮后的污泥被輸送到消化池中進行厭氧消化處理。對于連續加入的污泥經加熱到適宜溫度輸送到消化池中經過攪拌機的混合攪拌整池處于一種攪動狀態經消化處理后的介質的粘稠度將會降低有利于攪拌機的運行。
為了充分利用污泥消化池的容積使污泥厭氧消化池處于較高的工作效率,需要對污泥消化池內的物料進行充分攪拌使污泥消化池內的物料盡量達到均質。
目前污泥厭氧消化池常規攪拌方式為機械攪拌、沼氣攪拌、水力攪拌等,現有技術的消化池污泥攪拌器效率不高,噪音大,能耗大,運行費用高。
實用新型內容
本實用新型的目的在于針對現有技術的缺陷和不足,提供一種結構簡單、設計合理、使用方便的消化池污泥攪拌機。
為實現上述目的,本實用新型采用的技術方案是:它包含電機、變速裝置、電機支架、聯軸器、上軸承體、轉軸、殼體、下軸承體、擋水板、螺旋形連續葉輪、葉輪螺母、射流器;所述的殼體內設置有轉軸,轉軸的上部連接有上軸承體,轉軸的上端通過聯軸器與電機的輸出軸連接,電機與變速裝置連接,且電機和變速裝置設置在電機支架上;所述的轉軸上還設置有下軸承體,下軸承體的下方設置有擋水板,擋水板的下方設置有螺旋形連續葉輪,螺旋形連續葉輪下端連接有葉輪螺母;所述的擋水板上設置有數個射流器。
作為優選,所述的葉輪螺母底部設置有錐體狀的加熱裝置。
作為優選,所述的攪拌機配備有卵狀的消化池和試驗裝置;所述的試驗裝置包含支架、流量收集器、流量計、吸入管、測壓計;所述的殼體的外周套設有支架,支架下端連接有流量收集器,流量收集器的側壁連接有流量計,流量收集器的下端連接有吸入管,吸入管上安裝有測壓計。
作為優選,所述的流量計為超聲波流量計。
作為優選,所述的測壓計設置在與螺旋形連續葉輪出口平行的位置。
本實用新型操作時,采用的柔性柱銷聯軸器,減小了轉向切換時對軸承的沖擊,同時軸承改為雙點支撐,軸承支撐點間距和懸臂之間的長度比值接近1:2,這樣的改造雖增加了安放軸承部件殼體的加工難度,但是攪拌機的可靠性和運轉的平穩性大大增強,螺旋形連續葉輪與導管之間的間隙減小,由于葉片的連續性,運轉時壓力脈動小,運轉平穩,大大降低了運轉的振動和噪音。
采用上述結構后,本實用新型產生的有益效果為:本實用新型所述的一種消化池污泥攪拌機,螺旋葉片優秀的水力性能,整機運轉效率高達87.5%,而三葉片葉輪的整機效率僅為71%,運轉能耗、費用大大降低,本實用新型具有結構簡單、設置合理、制作成本低等優點。



